Patentes de outros equipamentos covid-19
Carta patente expedida – outros equipamentos
O pedido de patente de modelo de utilidade n° BR 20 2021 003048 3 da empresa brasileira ORTUSOLIS - TECNOLOGIA, INDUSTRIA E COMERCIO LTDA foi publicado em 21 de março de 2023. O pedido de patente refere-se a um gerador portátil de ozônio, cuja função consiste em um equipamento eletrônico que produz o ozônio através de tecnologia de Descarga Corona, utilizando o oxigênio presente no ar como matéria-prima; é composto por: gerador de descarga corona, controlador e temporizador wifi, ventilador cooler , controle remoto, cabo de força e caixa em aço inox; a unidade geradora de ozônio consiste de um circuito eletrônico, que comanda e gerência a alta voltagem produzida por um transformador, que será descarregada controladamente em um conjunto de placas cerâmicas; no caminho percorrido nas referidas placas cerâmicas pela descarga elétrica, já anteriormente descrita, ocorre a quebra da rigidez dielétrica do ar, transformando o oxigênio O2 em ozônio O3; todo o conjunto da unidade geradora de ozônio, obtém direcionamento do fluxo de ozônio produzido e dissipação de calor, através do funcionamento contínuo de um cooler, posicionado na parte frontal do equipamento. O pedido de patente está pendente de decisão, aguardando o início do exame técnico no INPI.
O pedido de patente de modelo de utilidade n° BR 20 2021 005498 6 da empresa brasileira MARKET CLEAN COMERCIO E SERVICOS DE SANITIZACAO E HIGIENIZACAO LTDA foi publicado em 21 de março de 2023. O pedido de patente refere-se a um dispositivo de sanitização de carrinhos de compras de supermercado e carrinhos de bagagens de aeroporto, composto por um sistema de atomização de substância saneante, capaz de contemplar as principais superfícies em que o usuário tem contato com o carrinho, e um sistema de coleta e armazenamento de resíduos líquidos que evita o molhamento do chão e do ambiente onde o dispositivo se encontra instalado, permitindo que o mesmo seja utilizado em áreas internas e secas, não sendo necessário escoamento de líquidos no piso, nem ponto de drenagem próximo ao local. A aplicação deste dispositivo se dá nos supermercados, mercearias, lojas do setor de varejo e atacado, aeroportos, rodoviárias, portos, estações de trem e hotéis, proporcionando aos seus usuários um autosserviço de sanitização dos carrinhos antes de utilizá-los, visando de forma rápida e eficaz o cumprimento da Lei Federal n. 13.486/2017, que obriga os estabelecimentos a higienizarem equipamentos e utensílios utilizados ou colocados à disposição do cliente, contribuindo ao combate de inúmeras doenças que tem o contato como forma de transmissão, incluindo o COVID-19. O pedido de patente está pendente de decisão, aguardando o início do exame técnico no INPI.
O pedido de patente de modelo de utilidade n° BR 20 2021 005338 6 da empresa brasileira MARKET CLEAN COMERCIO E SERVICOS DE SANITIZACAO E HIGIENIZACAO LTDA foi publicado em 21 de março de 2023. O pedido de patente refere-se a um dispositivo de sanitização de compras de supermercado, composto por dois transportadores automatizados em velocidades diferentes, trabalhando em conjunto com um sistema de atomização de substância saneante, capaz de contemplar todas as superfícies das embalagens de produtos de diferentes formatos e tamanhos. O dispositivo poderá ser utilizado de forma autônoma ou acoplado diretamente ao caixa do supermercado/checkout. A aplicação deste dispositivo se dá nos supermercados, mercearias e lojas do setor de varejo e atacado, proporcionando aos seus clientes a sanitização dos produtos comprados, no momento do registro e pagamento dos mesmo, visando de forma rápida e eficaz o combate a inúmeras doenças que tem o contato como forma de transmissão, incluindo o COVID-19. O pedido de patente está pendente de decisão, aguardando o início do exame técnico no INPI.
O pedido de patente de modelo de utilidade n° BR 202020019748-2 dos brasileiros SAMEL SERVICOS DE ASSISTENCIA MÉDICO HOSPITALAR LTDA (BR/AM) e TRANSIRE FABRICAÇÃO DE COMPONENTES ELETRÔNICOS LTDA (BR/AM) foi publicado em 12 de abril de 2022. O pedido de patente refere-se a um dispositivo de proteção (1), ou capsula, contra a disseminação aérea de vírus, bactérias e similares, para sobreposição a um paciente em um leito hospitalar, ou similar. O dispositivo compreende um quadro (2) de conformação paralelepipédica, com as arestas definidas a partir de tubos de PVC; uma capa (3) de conformação cooperante com a forma do dito quadro (2), dita capa (3) apta a ser disposta sobre o dito quadro (2) de modo a definir respectivas faces laterais, posterior e superior do quadro (2), bem como uma cortina (8) projetante a partir da face anterior do quadro (2); e um exaustor (10) disposto no quadro (2), de modo a gerar um diferencial de pressão no interior da capsula pela exaustão do ar no interior do dispositivo (1). O exaustor (10) compreende ainda uma ventoinha (12), e na sua porção inferior ao menos um filtro (13), de tipo HME, antiviral e antibacteriano. O pedido de patente está pendente de decisão, aguardando o início do exame técnico no INPI.
A carta patente do modelo de utilidade n° BR 202022004112-7 do brasileiro FLÁVIO ALEXANDRE SOARES foi publicada em 23 de agosto de 2022. A patente refere-se a um protetor com formato circular para estetoscópio com o objetivo de ser utilizado por profissionais da área de saúde, quando em atendimento nos consultórios, postos de saúde, hospitais e similares com a finalidade de evitar a contaminação de pacientes por bactérias e vírus, que podem disseminar infecções pelo contato do estetoscópio mal higienizado, de um paciente para outro. A proposta da patente é apresentar um protetor com formato redondo na parte de contato com o corpo do paciente que promove a distribuição de força para manter o protetor acoplado independente da movimentação do profissional da área de saúde. A patente terá prazo de validade de 15 anos contados a partir de 05 de março de 2022.
O pedido de patente de modelo de utilidade n° BR 202020025743-4 da brasileira HELOISA DIAS BOMFIM foi publicado em 28 de junho de 2022. O pedido de patente refere-se a um baú que visa desinfetar sapatos entre outros objetos, eliminando vírus e bactérias; a solução é caracterizada pelo fato da mesma realizar a esterilização de objetos de uso regular através dos raios ultravioletas; ditos raios emitem por meio de uma lâmpada tubular a radiação com comprimento de onda de 254 nanômetros, sendo essa a faixa de UV mais indicada para eliminar vírus e bactérias; o invento poderá ser colocado na entrada da residência, para receber objetos como: sapatos, guarda-chuvas, casacos e entre outros que estavam sendo usados na rua, para serem esterilizados e após o processo esterilização estarem prontos para o uso seguinte sem preocupações com contaminação por vírus ou bactérias. O pedido de patente está pendente de decisão, aguardando o início do exame técnico no INPI.
O pedido de patente de modelo de utilidade n° BR 20 2020 023206 7 da brasileira MARIA VIRGÍNIA BITANCOURT REIS foi publicado em 31 de maio de 2022. O pedido de patente refere-se a uma caixa revestida de material impermeável, pintada internamente de cor preta, contendo uma lâmpada de cor negra foto fluorescente e o álcool gel com solução fluorescente com a função de realizar auditoria e educação em serviço para avaliar como se encontra a adesão e as práticas de higiene das mãos, segundo a técnica completa e correta preconizada pela ANVISA para o público alvo das diversas categorias da equipe multiprofissional da assistência direta e indireta ao paciente. O pedido de patente está pendente de decisão, aguardando o início do exame técnico no INPI.
O pedido de patente de modelo de utilidade n° BR 202020013388-3 das empresas brasileiras ASSOCIAÇÃO PRÓ-ENSINO EM SANTA CRUZ DO SUL e OWNTEC SOLUÇÕES EM ENGENHARIA LTDA foi publicado em 10 de janeiro de 2022. O pedido de patente refere-se a uma válvula composta cuja configuração permite o seu uso no modelo unidirecional ou bidirecional, a qual contém um corpo central, composto por conexões laterais, um flange roscado desmontável, vedação e diafragma, de forma a permitir ajustes nas conexões lateral e frontal, abrangendo todas as dimensões de traqueias e conexões usualmente utilizadas no suporte respiratório. O pedido de patente está pendente de decisão, aguardando o início do exame técnico no INPI.
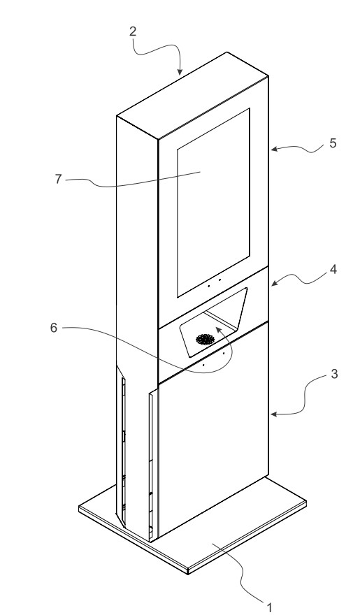
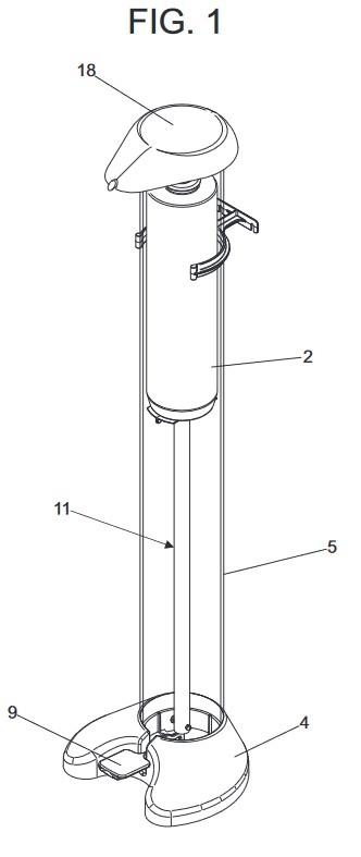
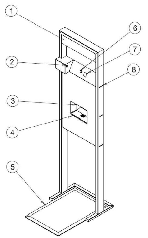
Em 22 de dezembro de 2020, a empresa brasileira GR81 CONSULTORIA E PARTICIPACÕES EIRELI teve a Carta Patente n° BR 202020004682-4 expedida. Em 07 de julho de 2020 foi admitido o trâmite prioritário, tendo sido publicado em 15 de setembro de 2020. A patente de modelo de utilidade refere-se a uma disposição construtiva em display tipo totem, tendo uma base quadrangular, sobre a qual se eleva uma torre formada por três caixas sobrepostas, em que a primeira forma compartimento para um conjunto dispenser automático que se estende até o interior da caixa intermediária e, sobre esta, aquela caixa superior forma alojamento para um dispositivo usual de comunicação audiovisual; dito dispenser automático possui um circuito eletrônico suficiente para ligar e desligar a bomba elétrica, mediante sinal de um sensor de aproximação que detecta quando a mão do usuário está ou não sob a saída de antisséptico. O display têm dois recursos: um sistema de comunicação audiovisual tipo painel eletrônico de comunicação audiovisual para propaganda ou informações diversas; e um dispenser automático de antisséptico para as mãos, de modo que as pessoas em trânsito possam, quando necessário, fazer adequada higienização das mãos e, ao mesmo tempo, tomam conhecimento das informações divulgadas na tela do conjunto. A patente de modelo de utilidade terá validade de 15 (quinze) anos contados a partir de 09 de março de 2020.

A UNIVERSIDADE FEDERAL DE VIÇOSA (BR/MG) teve a Carta Patente n° BR 102020014712-9 expedida em 23 de março de 2021. A invenção refere-se a uma cápsula para uso durante o gerenciamento de vias aéreas. Tal cápsula compreende um cubo transparente composto por cinco faces unidas por meio de encaixes coladas com sistema de vedação acoplado a acessos circulares, que compreende válvulas de acesso. A cápsula destina-se à proteção coletiva e mecânica dos profissionais de saúde durante a realização do procedimento de intubação, extubação, aspiração de vias aéreas (realizados por naso ou orofaringe), entre outros. O sistema criado permite melhor vedação e menor risco de contaminação dos profissionais de saúde por gotículas ou aerossóis, durante o processo de intubação de vias aéreas de pacientes portadores de doenças infecciosas, como a covid-19.

O pedido de patente de modelo de utilidade n° BR 202020018445-3 do brasileiro JORGE LAKATOS foi publicado em 22 de março de 2022. O pedido de patente refere-se a um dispositivo de higienização, mais especificamente utilizado para higienização de solas de calçados, por meio de luz ultravioleta. O pedido de patente está pendente de decisão, aguardando o início do exame técnico no INPI.

O pedido de patente de modelo de utilidade n° BR 202020017054-1 dos brasileiros AUGUSTO ALBERTO FOGGIATO, ACÁCIO FUZIY e DOUGLAS FERNANDES DA SILVA foi publicado em 08 de março de 2022. O pedido de patente refere-se a um recipiente portátil e compacto com motor de vibração ultrassônica para ação antiviral e antimicrobiana para desinfecção e esterilização de materiais e instrumentos diversos, estilo caixa, contando ainda com luzes de LED (Light Emitting Diode) Diodo Emissor de Luz para terapia de PDT (Photodynamic Terapy), Terapia Fotodinâmica, introduzida por todos os lados e faces internas do recipiente, pertencente ao campo da Ortodontia, de uso mais precisamente no complemento da limpeza dos materiais e instrumentos ortodônticos, através da desinfecção e esterilização desses materiais, para posterior utilização, e ao qual foi dada original disposição construtiva, com vistas a proporcionar o máximo desempenho na desinfecção e esterilização de materiais, desde materiais e instrumentos ortodônticos à materiais e instrumentos médicos e cirúrgicos diversos, de manicure, pedicure, cutelaria, enfim, uma variedade de aplicações, a fim de evitar contaminações, infecções cruzadas e transmissão de doenças para os usuários. O pedido de patente está pendente de decisão, aguardando o início do exame técnico no INPI.

O pedido de patente de modelo de utilidade n° BR 202020017954-9 da empresa brasileira CONTRERA - INDUSTRIA E COMERCIO DE ARTEFATOS DE ARAME EIRELI foi publicado em 15 de março de 2022. O pedido de patente refere-se a um dispositivo para higienização de equipamentos de logística interna para movimentação de pequenas cargas de uso geral, como em hotéis, hospitais ou supermercados, aplicável à barra de manipulação dos equipamentos internos e capaz de dispersar e aplicar um agente sanitizante na superfície dessas barras, provendo uma melhor condição sanitária. O pedido de patente está pendente de decisão, aguardando o início do exame técnico no INPI.
O pedido de patente de modelo de utilidade n° BR 202020017940-9 do brasileiro YAMIL ROJAS LIRANZA foi publicado em 15 de março de 2022. O pedido de patente refere-se a uma torneira que numa primeira versão do acionamento mecânico tem o reservatório de aditivo (sabonete líquido) incorporado ao seu corpo, em que tanto o mecanismo de injeção de aditivo (sabonete líquido) quanto o mecanismo de condução de água são ativados por uma alavanca monocomando que atua uma válvula spray e um êmbolo , ao passo que numa segunda versão do acionamento mecânico, a torneira tem o mecanismo de injeção de aditivo (sabonete líquido) ativado por um botão posterior, ao passo que o mecanismo de condução de água é ativado por um botão anterior, os quais atuam uma válvula spray e um êmbolo respectivamente. Ambas versões das torneiras apresentam um mecanismo autolimpante do duto primário e do duto secundário de condução do aditivo (sabonete líquido). O pedido de patente está pendente de decisão, aguardando o início do exame técnico no INPI.

O pedido de patente de modelo de utilidade n° BR 202020012909-6 da empresa brasileira BIOSETA SAUDE AMBIENTAL LTDA foi publicado em 03 de março de 2022. O pedido de patente refere-se a uma estação de desinfecção com ou sem medidor de temperatura corporal, referindo-se a um equipamento desenvolvido para que as pessoas possam de forma autônoma, realizar uma desinfecção de vestimentas, bolsa, calçados e outros, ao acessar ou sair de um estabelecimento, sistema de transporte, supermercado, shopping, eventos ou outros, reduzindo o risco de transmissões virais. Pessoas passam e recebem a sedimentação de partículas por micro aspersão, as quais se depositam nas vestimentas (roupas e sapatos) e demais objetos que os indivíduos estiverem portando e a pele humana exposta, de modo que ocorra a desinfecção superficial propiciando a redução da propagação de agentes patógenos existente em superfícies contaminadas ao acessar ou sair de um estabelecimento, sistema de transporte, supermercado, shopping, eventos ou outros, reduzindo o risco de transmissões virais. O pedido de patente está pendente de decisão, aguardando o início do exame técnico no INPI.
O pedido de patente de modelo de utilidade n° BR 202020015384-1 da brasileira CLESIENE CAVALCANTE DA SILVA (BR/TO) foi publicado em 08 de fevereiro de 2022. O pedido de patente refere-se a um tapete sanitizante, cuja em higienizar o solado de calçados; é composto por: tapete (1), contendo uma bandeja sanitizante removível (2) com um tapete sanitizante (3) na sua parte interna; o tapete (1) tem como finalidade higienizar o solado de sapatos e também como um dos focos principais e evitar a disseminação de vírus e bactérias, principalmente para dentro das residências ou qualquer outro ambiente comercial e industrial. O pedido de patente está pendente de decisão, aguardando o início do exame técnico no INPI.
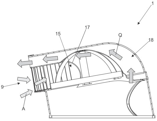
O pedido de patente de modelo de utilidade n° BR 202020011280-0 do HOSPITAL DE CLÍNICAS DE PORTO ALEGRE (BR/RS) e da UNIVERSIDADE FEDERAL DO RIO GRANDE DO SUL foi publicado em 14 de dezembro de 2021. O pedido de patente refere-se a uma campânula de pressão negativa para proteção de equipe de assistência a pacientes com doenças infectocontagiosas. O presente pedido de patente de modelo de utilidade apresenta uma caixa (box) em material polimérico transparente para realizar procedimentos em pacientes que possuem alguma doença infectocontagiosa no sistema respiratório, evitando que a equipe médica seja infectada por transmissão hospitalar. Geralmente, as caixas desse tipo que já foram desenvolvidas têm sua estrutura fixa, não tendo a possibilidade de desmontagem, diminuindo sua portabilidade e facilidade de transporte, além de aumentar a dificuldade da desinfecção das peças. São apresentados todos os desenhos técnicos para produção, bem como seu uso rotineiro. O pedido de patente está pendente de decisão, aguardando o início do exame técnico no INPI.
Em 09 de março de 2021, o brasileiro ELIÉZER DA SILVA LEITE, teve a Carta Patente n° BR 10202020007905-6 expedida. A patente de modelo de utilidade refere-se a um colchão com suporte de cabeça e encaixe dos pés (5) abertos por toda espessura do colchão e proporcionalmente alinhados com os suportes para a cabeça (2), para uso na posição de bruços, ou a fim de descanso, receber massagem ou ainda dormir. A patente terá validade de 15 (quinze) anos contados a partir de 21 de abril de 2020.

Em 06 de abril de 2021, a UNIVERSIDADE FEDERAL DA PARAIBA teve a Carta Patente n° BR 102020006631-5 expedida. Em 07 de julho de 2020, o INPI havia concedido o trâmite prioritário deste, por se tratar de matéria relacionada à covid-19. A patente de invenção refere-se a um ventilador pulmonar micro-controlado equipado com sistema multibiométrico, monitor touthscreen e conectividade wireless. O equipamento compreende um gabinete (1) contendo conector do circuito de ventilação do paciente (2); conector circuito de expiração (3); conector do oxímetro (4); conector do sensor de batimento cardíaco (5); conector do sensor de temperatura (6); suporte (7); monitor touthscreen (8); conectores para fonte de alimentação elétrica (9) e (10); conector de entrada da mistura de gases (11); conector do descarte gasoso de expiração (12); suporte de estante (13); válvula solenoide do circuito de inspiratório (14); válvula solenoide do circuito de expiratório (15); conectores pneumáticos (16); válvula de segurança do circuito inspiratório (17); sensor de concentração de oxigênio (18); fluxímeto de ventilação (19); sensor transdutor de pressão (20); filtro microbiano (21); circuito de conversão de sinal dos sensores frequência cárdia, oxigênio dissolvido e temperatura (22); microcontrolador (23); microprocessador de placa única (24) e reles (25). No modo operante deste instrumento, os sinais monitorados via monitor, também são enviados para uma central de monitoramento virtual, cujos dados podem ser acessados por dispositivos móveis (tabletes, smatphones, notebooks) via aplicativo desenvolvido especificamente para este fim. O sistema de conectividade permite que um ou mais unidades envie dados, possibilitando o monitoramento simultâneo e à distância, resultando na otimização do tempo e redução de esforço e da exposição a ambientes insalubres. A patente de invenção terá validade de 20 (vinte) anos contados a partir de 02 de abril de 2020.

Em 27 de abril de 2021, a UNIVERSIDADE TECNOLOGICA FEDERAL DO PARANA teve a Carta Patente n° BR 202020009837-9 expedida. A patente de modelo de utilidade refere-se a um balão hermético de ventilação não invasiva com colar elastomérico e conexões funcionais na linha buco-nasal, compreendendo um corpo (2) cilíndrico em material maleável e transparente que é unido, em seu perímetro (P) inferior, a um cone (3) em material elastomérico que possibilita efetiva vedação sem causar nenhum desconforto ao paciente, que tem a ventilação otimizada pelo fato das conexões funcionais estarem todas na linha buco-nasal (4), além de conforto ao movimentar e repousar com o produto vestido, devido a fixação paralela do par de cintas (16) no topo do balão (1) e a passagem das alças (17) sob as axilas. A patente de modelo de utilidade terá validade de 15 (quinze) anos contados a partir de 15 de maio de 2020.

Em 01 de junho de 2021, a empresa americana GENENTECH, INC. teve a Carta Patente n° BR 112017001442-4 expedida. Em 12 de maio de 2020 havia sido admitido o trâmite prioritário (solicitado pelo Ministério da Saúde brasileiro) da presente patente de invenção. A patente de invenção refere-se a uma rolha (102, 2350) para um dispositivo de administração de medicamento (100, 2800, 3100) e a um método de liofilização e vedação de um medicamento dentro de um dispositivo de administração médica. A patente de invenção terá validade de 20 (vinte) anos contados a partir de 30 de julho de 2021.

Em 14 de setembro de 2021, o brasileiro VENISSIO OLIVO FEDRIZZI teve a Carta Patente n° BR 102020010469-1 expedida. A patente de invenção refere-se a um aperfeiçoamento introduzido em um respirador artificial mecânico pulmonar com dupla ação formado a partir de balões individuais primários e secundário que atuam como fole, separados por um elemento divisor, sendo o balão primário dotado de válvula de entrada de oxigênio, válvula de entrada de ar dotada de filtro, válvula de saída de ar dos pulmões enquanto o balão secundário é dotado de válvula de saída de ar, válvula de entrada de ar que juntamente com a válvula de saída de ar, são ligados através de tubos a um insuflador. A patente terá validade de 20 (vinte) anos contados a partir de 26 de maio de 2020.

Em 31 de agosto de 2021, o brasileiro RAFAEL VIANA MENDES (BR/ES) teve a Carta Patente n° BR102020013480-9 expedida. O trâmite prioritário, solicitado pelo detentor da patente, havia sido concedido pelo INPI em 12 de janeiro de 2021. A patente de invenção refere-se a uma superfície de detecção de toque com a capacidade de reconhecer a presença de pontos de contato possuindo pelo menos um emissor de radiação UV (3) com comprimento de onda entre 100 nm e 380nm capaz de descontaminar a parte externa da área de contato (1) com o operador do dispositivo, tendo um circuito elétrico podendo ser programado o melhor momento em que emissor de radiação será ligado e desligado; caracterizada por poder ser equipado com um refletor (2) para refletir a radiação emitida por pelo menos um e/ou mais emissores de radiação com o intuito de concentrar a radiação em determinada área. A patente de invenção terá validade de 20 (vinte) anos contados a partir de 30 de junho de 2020.

Em 27 de julho de 2021, o brasileiro MURIEL DE ALMEIDA ORNELA (BR/MG) teve a Carta Patente n° BR 102020009195-6 expedida. Em 27 de outubro de 2020, o INPI havia concedido o trâmite prioritário deste, por se tratar de matéria relacionada à covid-19. A patente de invenção refere-se a um módulo sensor e adaptador universal para dispensadores de fluidos, pertencente ao campo de aplicação dos acessórios hidráulicos, desenvolvido para ser incorporado em quaisquer equipamentos (novos ou pré-existentes) dispensadores de água ou demais tipos de fluidos, tais como torneiras e bicas em geral, filtros e bebedouros de qualquer natureza, propiciando o consumo do fluido sem que o(s) usuário(s) necessite(m) tocar nos referidos equipamentos, dito módulo (1) compreendendo válvula solenoide (2), chicote (3), placa eletrônica de comando (4), placa (5) de sensor de presença (6), tampa frontal trapezoide (7), base posterior retangular (8), extremidade oblonga (9), abertura circular central (10), bocal do tubo (11), parede inferior arredondada (12), parede lateral (13), rasgo em pórtico arqueado (14), superfície frontal (15), furos duplos (16), abertura circular maior (17), rosca redutora (18), elemento qualquer dispensador do fluido. A patente de invenção terá validade de 20 (vinte) anos contados a partir de 08 de maio de 2020.
Em 18 de maio de 2021, a empresa brasileira KAPITAL INVESTIMENTOS HOLDING EIRELI (BR/MG) teve a Carta Patente n° BR202020020955-3 expedida. O trâmite prioritário do documento havia sido solicitado pela requerente e foi concedida em 12 de janeiro de 2021. A patente de modelo de utilidade refere-se a um dispensador (1) cujo acionamento da base (13), que movimenta o frasco (2) contendo o álcool gel ou líquido, se dê no sentido ascendente quando do acionamento do pedal (9), que por sua vez eleva o referido frasco (2) e faz deslocar sua ponteira (3) móvel contra o cabeçote (18), exercendo pressão suficiente para liberar o produto sanitizante nas mãos do usuário pelo duto de saída (15). A patente de modelo de utilidade terá validade de 15 (quinze) anos contados a partir de 13 de outubro de 2020.

A patente do modelo de utilidade n° BR 202021010826-1 do brasileiro LUIS ANTONIO MACEDO RAMOS (BR/RS) foi concedida em 07 de junho 2022 e a carta patente foi expedida em 12 de julho de 2022. A invenção refere-se a uma disposição construtiva introduzida em câmara de olfato, situado no setor tecnológico de equipamentos de medição com finalidade de diagnóstico e estudo da percepção sensorial do ser humano, mais precisamente, do olfato e sua importância, possibilitando aos participantes do experimento identificar diferenças de odor entre as amostras de substâncias colocadas no equipamento, sem que possam visualizá-las previamente. Sabe-se que, atualmente, para o estudo do olfato do ser humano, são utilizadas amostras com substratos de odores diferentes, as quais devem estar confinadas separadamente, de modo a impedir que sejam liberados simultaneamente para a pessoa que está realizando o experimento, visando evitar que se confunda com os odores envolvidos no experimento. Ocorre que, como os materiais não estão isolados entre si, acaba ocorrendo o risco de mistura dos aromas envolvidos, dificultando a realização dos experimentos. Diante disso, caracteriza-se por uma câmara (1) provida de tampa (2) com conexão para entrada de ar (3) e um ou mais orifícios para saída de ar (4), bomba de ar (5) conectada na conexão para entrada de ar (3), um ou mais reservatórios internos para amostra de materiais aromatizados (6), conectado ou conectados no orifício ou orifícios para saída de ar (4). A patente de modelo de utilidade terá validade de 15 (quinze) anos contados a partir de 03 de junho 2021.
O pedido de patente de modelo de utilidade n° BR 202020016088-0 do brasileiro EDELBERT GALVÃO DUTRA (BR/SC) foi publicado em 15 de fevereiro de 2022. O pedido de patente refere-se a um dispositivo que funciona ligado na energia elétrica através da fonte, sendo acionado por um botão com LED que ativa a placa de controle, responsável por acionar o módulo da lâmpada UVC, módulo do ozonizador e o gerador de vapor em seus respectivos ciclos de funcionamento. Ao iniciar o ciclo a água será vaporizada pelo nebulizador ultrassônico, que trabalhando junto ao gerador de ozônio e à lâmpada UVC comporão os elementos sanitizantes distribuídos pelos ventiladores através da grade ou do adaptador no interior do objeto a ser higienizado. O nebulizador de vapor ultrassônico é composto pelo conjunto formato pelo depósito de água, sensor de água e gerador de vapor e só será acionado caso o sensor detecte que há água suficiente no interior do depósito. Sob o higienizador ficam localizados os pés e a grade de entrada de ar para refrigeração da placa de controle e demais componentes do dispositivo. O pedido de patente está pendente de decisão, aguardando o início do exame técnico no INPI.
O pedido de patente de modelo de utilidade n° BR 112021024164-7 da empresa americana NEOSINUS HEALTH INC. foi publicado em 11 de janeiro de 2022. O pedido de patente refere-se a dispositivos e métodos para distribuir fluido de um recipiente para a cavidade nasal. O dispositivo inclui um seletor e um bocal que são conectados entre si e rotativos um em relação ao outro. O dispositivo também inclui uma curva para superar as barreiras anatômicas e uma ou mais aberturas para prover uma distribuição eficaz ao distribuir o fluido para a cavidade nasal. O seletor inclui uma abertura que se alinha com uma abertura correspondente em um recipiente que contém o fluido. O bocal inclui uma primeira passagem com uma ou mais aberturas em um primeiro lado lateral e uma segunda passagem com uma ou mais aberturas em um segundo lado lateral oposto. O seletor e o bocal podem ser posicionados em uma primeira e uma segunda posições de rotação para distribuir seletivamente o fluido através das primeira e segunda passagens para a cavidade nasal. O pedido de patente está pendente de decisão, aguardando o início do exame técnico no INPI.

O pedido de patente de modelo de utilidade n° BR 202021021076-7 da empresa brasileira ESCOLA TÉCNICA PROFISSIONAL LTDA (BR/PR) foi publicado em 28 de dezembro de 2021. O pedido de patente refere-se a aperfeiçoamentos introduzidos em um equipamento móvel para esterilização de ambientes por radiação ultravioleta UV-C, com o objetivo de eliminar os agentes patogênicos presentes em tais ambientes, particularmente o vírus SARS-CoV-2, causador da COVID-19, e com as vantagens de poder ser utilizado em qualquer tipo de ambiente, de ter maior eficiência de radiação, de ser autônomo, de ser feito com material sustentável e de ter baixo custo de produção. O pedido de patente está pendente de decisão, aguardando o início do exame técnico no INPI.
O pedido de patente de modelo de utilidade n° BR 202020012662-3 do brasileiro HUGO ABRAHÃO DE LIMA (BR/RJ) foi publicado em 28 de dezembro de 2021. O pedido de patente refere-se a uma disposição construtiva aplicada em uma caixa dotada em seu interior de uma lâmpada UV-C, a ser utilizada para descontaminar alimentos e objetos que possam ter sido processados ou manipulados por pessoas eventualmente contaminadas por algum tipo de agente nocivo à saúde, como atualmente tem sido divulgado o mundialmente preocupante coronavírus. O pedido é basicamente constituído de uma caixa (1) com isolamento térmico opcional, com porta (2) preferencialmente frontal e dotada, internamente, de uma ou mais lâmpadas UV-C (3) e, opcionalmente, de um cooler superior (4) acoplado à uma lâmpada de aquecimento (5). O pedido de patente está pendente de decisão, aguardando o início do exame técnico no INPI.

O pedido de patente de modelo de utilidade n° BR 202020011711-0 da empresa brasileira A & G CONFECÇÃO DE INFLÁVEIS EIRELI EPP foi publicado em 21 de dezembro de 2021. O pedido de patente refere-se a uma disposição construtiva aplicada a um túnel utilizado para higienização e desinfecção. Mais precisamente, trata-se de túnel inflável e móvel para fins de higienização e desinfecção de carrinhos de supermercados, de hipermercados, de atacadistas e de estabelecimentos similares, ou meios equivalentes de movimentação de produtos, dotado de bicos nebulizadores distribuídos pelas paredes internas e pelo teto do referido túnel. É ainda utilizado na desinfecção de pessoas com o uso de gás ozônio e na higienização e desinfecção de outros objetos. Referido túnel inflável possui extremidades opostas livres, sendo a operação de higienização e desinfecção executada durante passagem dos carrinhos ou objetos ao longo de sua extensão longitudinal. É inflado fácil e rapidamente através de sistema de motoventilador, e colapsado ao se desligar o sistema, sendo fabricado de material leve e de fácil manutenção. Na operação de higienização e desinfecção de carrinhos e objetos utilizam-se agentes sanitizantes ou desinfetantes comumente encontrados no mercado e aprovados por agências governamentais reguladoras e competentes e, na desinfecção de pessoas, utiliza-se gás ozônio, sanitizantes ou desinfetantes. O pedido de patente está pendente de decisão, aguardando o início do exame técnico no INPI.
O pedido de patente de modelo de utilidade n° BR 2020011253-3 do brasileiro PAULO FRANCISCO ROLO foi publicado em 14 de dezembro de 2021. O pedido de patente refere-se a um lavatório móvel (10) do tipo utilizado para higienização básica de pessoas com limitações de movimentos como idosos, pessoas em pós-operatórios, acamados, deficientes físicos entre outros, dito lavatório móvel (10) é compreendido por pedestal tubular (20) subdividido em: i) berço (BE1) para acomodação de reservatório (R1) de água potável e sustentado por um par de colunas (20A); ii) vão (21A) composto pelo espaçamento entre as colunas (20A) onde é montada uma travessa (20B) para montagem de haste de sustentação (21a) receptora do braço telescópico (30) sustentador da cuba (40); iii) nicho (21B) compreendido pela divisão do vão (21A) pela travessa (20B) para a montagem do reservatório (R3) de descartes; iv) base (20C) que se desenvolve ortogonalmente a partir da porção extrema do par de colunas (20A) e compreendida por projeção tubular (21c) ligeiramente afunilada em cujas porções extremas recebem rodízios (24a) para a movimentação do pedestal (20) até o leito (LT) paciente, o qual é auxiliado por manipulo (25) disposto próximo a porção central do par de colunas (20A) proporcionando autonomia quando da movimentação e aproximação do lavatório (10) ao leito. O pedido de patente está pendente de decisão, aguardando o início do exame técnico no INPI.

O pedido de patente de modelo de utilidade n° BR 2020011137-5 do brasileiro APARECIDO GOMES DOS SANTOS foi publicado em 14 de dezembro de 2021. O pedido de patente refere-se a um inalador que visa auxiliar na umidificação das vias respiratórias de pessoas que apresentam alergias e/ou algum tipo de doença respiratória; a solução ora em comento se destaca pelo fato de poder ser preparada com produtos domésticos de fácil acesso a população, como também requerer um baixo custo para sua confecção, proporcionando desta forma ao público consumidor, uma solução possa ser utilizada por todos que necessitarem, sem exclusão de classes sociais. O pedido de patente está pendente de decisão, aguardando o início do exame técnico no INPI.
O pedido de patente de modelo de utilidade n° BR 202020011372-6 da empresa brasileira CREATIVE DISPLAY INDÚSTRIA E COMÉRCIO LTDA foi publicado em 07 de dezembro de 2021. O pedido de patente refere-se a um dispositivo para higienização das mãos sem que haja contato direto entre o usuário e o dispositivo, acionado por meio de um pedal e um mecanismo que pressionam um recipiente por meio de um sistema de alavancas. O pedido de patente está pendente de decisão, estando em fase de exame técnico no INPI.
O pedido de patente de modelo de utilidade n° BR 202020010442-5 do brasileiro SERGIO AUGUSTO GUERREIRO (BR/RJ) foi publicado em 07 de dezembro de 2021. Em 28 de junho de 2022, foi requerido o trâmite prioritário de tecnologia para tratamento de saúde. O pedido de patente refere-se a uma câmara com a finalidade de higienização da embalagem primária contendo medicamentos por emissão de radiação de luz ultravioleta. A melhoria apresenta aperfeiçoamentos técnicos na metodologia de execução específica, inclusive com controle temporizador, e até mesmo de produção que busca higienizar a embalagem primária contendo medicamentos, contaminada por micro-organismos resistentes que afetem a saúde das pessoas e possam progredir causando sintomas agressivos como, por exemplo, o vírus Sars-Cov-2 que causa a covid-19, dentre muitas outras doenças de fácil contágio e que possam causar danos graves à saúde. O pedido de patente está pendente de decisão, aguardando o início do exame técnico no INPI.
O pedido de patente de modelo de utilidade n° BR 202020010777-7 do brasileiro RONALDO LUMERTZ (BR/RS) foi publicado em 07 de dezembro de 2021. O pedido de patente refere-se a uma disposição construtiva em capacho dotado de uma borda periférica (10) de material impermeável e região central (11) de material absorvente no qual é pulverizado ou derramada uma solução bactericida e/ou desinfetante para a higienização e assepsia do solado de calçados. O pedido de patente está pendente de decisão, aguardando o início do exame técnico no INPI.
O pedido de patente de modelo de utilidade n° BR 202020010009-8 do brasileiro ANDRÉ DUARTE DE CARVALHO (BR/RJ) foi publicado em 30 de novembro de 2021. O pedido de patente pertence ao campo dos produtos de saúde destinados a higienização e proteção individual de profissionais da área da saúde, e refere-se mais especificamente a uma placa protetora que tem por finalidade impedir que o aerossol expelido pela boca de um paciente que está passando por um procedimento odontológico seja aspergido no médico que está conduzindo tal procedimento; além disso, a placa também impede que haja uma grande pulverização de gotículas salivares no consultório, tornando o ambiente muito mais seguro e higiênico para os dentistas, mas principalmente para os novos pacientes que irão adentrar em seguida. O pedido de patente está pendente de decisão, aguardando o início do exame técnico no INPI.
O pedido de patente de modelo de utilidade n° BR 202020025834-1 da empresa brasileira DNA DESIGN PROJETOS E MARCENARIA LTDA foi publicado em 13 de setembro de 2022. O pedido de patente refere-se a um higienizador de embalagens e alimentos por ozônio; a solução é caracterizada pelo fato de ser um equipamento portátil, o qual recebe os produtos que foram comprados e os expõem ao ozônio, que por sua vez elimina os vírus e as bactérias sem a necessidade de água e/ou sabão, realizando a desinfecção de possíveis vírus e bactérias contidos nas embalagens de tais produtos de forma rápida e prática. O pedido de patente está pendente de decisão, aguardando o início do exame técnico no INPI.
O pedido de patente de modelo de utilidade n° BR 202021003958-8 da empresa brasileira GLOBUS SISTEMAS ELETRÔNICOS LTDA foi publicado em 13 de setembro de 2022. O pedido de patente refere-se a um dispositivo para desinfecção de equipamentos de condicionamento de ar. O dispositivo compreende uma régua de LEDs, um condutor de energia elétrica e um conector elétrico. A régua é constituída por um perfil metálico ou polimérico dotado de dois trilhos internos, situados nas paredes laterais, onde são encaixadas uma placa eletrônica com LEDs e uma lâmina em plástico transparente para a radiação UV-C. A alimentação elétrica do dispositivo é realizada em uma das extremidades da régua por meio de um conector elétrico a ser ligado à uma fonte de corrente contínua. As extremidades do perfil recebem ponteiras de fechamento dotadas de frisos que se encaixam nos trilhos internos das paredes laterais do perfil. As ponteiras possuem rasgos em sua base para recepção dos parafusos de fixação da régua em um suporte posicionado entre o ventilador do evaporador e a serpentina do trocador de calor do aparelho de ar condicionado. Devido à radiação UV-C não ser visível aos seres humanos, pode ser disposto LED visível para a indicação de entrada em operação do aparelho. O pedido de patente está pendente de decisão, aguardando o início do exame técnico no INPI.
Pedido de patente de invenção – outros equipamentos
O pedido de patente de modelo de utilidade n° BR 20 2022 008156 0 da empresa brasileira UNIVERSIDADE FEDERAL DO PARANA foi publicado em 31 de outubro de 2023. O pedido de patente refere-se a um colchão pneumático ergonômico, pertencente à área da saúde, que tem como finalidade a mudança de decúbito de pacientes com mobilidade física prejudicada. Pode ser utilizado em diversos ambientes de cuidado a saúde, como hospital, casas de longa permanência e domicílio. Pacientes com mobilidade física prejudicada permanecem restritos ao leito, aumentando o risco de lesão por pressão, complicações pulmonares e outros agravos à saúde. A mudança de decúbito é o principal cuidado de enfermagem, ação que exige técnica adequada, disponibilidade de mais de um profissional qualificado e uso de dispositivos como coxins de posicionamento convencionais ou improvisados como travesseiros e cobertores enrolados. Tem como objetivo reduzir os riscos de agravos à saúde do paciente e doenças ocupacionais como a lombalgia e doenças osteoarticulares, nos profissionais de enfermagem ou cuidadores em domicílio. Tal colchão foi projetado com válvulas pneumáticas, utilizadas para inflarem individualmente as câmaras de ar presentes na estrutura, por meio de um teclado matricial 4x4, o qual receberá os comandos para inflar e/ou desinflar os bolsões de ar através de Mangueira Pneumática, permitindo que o profissional da saúde posicione o paciente no leito sem necessidade de força própria ou qualquer forma de contato físico. O pedido de patente está pendente de decisão, aguardando o início do exame técnico no INPI.
O pedido de patente de invenção n° BR 10 2022 007633 2 da empresa brasileira POWERPIC REPRESENTAÇÕES LTDA foi publicado em 31 de outubro de 2023. O pedido de patente refere-se a um conjunto para montagem e estruturação de gabinete portátil, com arranjo eletroeletrônico para sistema de desinfecção e esterilização de instrumentos médicos hospitalares e similares. Para a formação de um gabinete em forma de autoclave portátil, emitindo radiação UV-C sem sombras, atingindo a totalidade da superfície de instrumentos a serem desinfetados, usados por médicos, dentistas e demais profissionais da saúde, além de esteticistas, manicures e quaisquer profissionais que atuem interferindo de alguma forma, diretamente ou em pontos específicos do corpo humano. Para tanto, caixa e tampa recebem separadamente a montagem de componentes eletroeletrônicos e, em seguida, são envelopados por um revestimento de tecido ou filme plástico, estruturados em forma de um gabinete que recebe uma lente transparente em altura intermediária da caixa. O instrumento, apoiado suspenso na caixa e recebe, tanto a partir da superfície interna da face superior da tampa quanto a partir do fundo da caixa, a emissão de radiação UV-C por LED'S UV-C. Caso a tampa seja aberta durante o ciclo predeterminado de higienização, um sensor eletromagnético detecta tal movimento e os LEDS UV-C são automaticamente desligados. O pedido de patente está pendente de decisão, aguardando o início do exame técnico no INPI.
O pedido de patente de modelo de utilidade n° BR 20 2022 003225 0 da empresa brasileira UNIVERSIDADE DO ESTADO DO AMAZONAS foi publicado em 22 de agosto de 2023. O pedido de patente refere-se a a uma tecnologia de esterilização automatizada, utilizando um equipamento eletrônico de gerenciamento inteligente da desinfecção e esterilização de ar e superfícies em ambientes fechados, por meio de emissores de radiação ultravioleta para ambientes fechados e ultravioleta ou ozônio dentro do aparelho condicionador de ar em tempo real. Para esterilização automatizada de ambientes fechados e superfícies, a tecnologia destina-se a esterilização física reduzindo os microrganismos causadores de doenças, como as bactérias em fase vegetativa, os fungos e esporos, incluindo o novo coronavírus, acumulados em superfícies ou no ar em ambientes fechados e de grande circulação de pessoas, reduzindo a transmissão das doenças causadas por esses microrganismos. O produto protege seres humanos, bem como mantém o ambiente esterilizado gerando economia de 100% com produtos químicos e 30% em energia elétrica, reduzido pelo consumo dos condicionadores de ar (que passam a trabalhar limpos livres de biofilme, em sua unidade evaporadora). Promovendo a saúde humana mantendo ambientes públicos ou privados esterilizados com eficiência e segurança, comprovados cientificamente. Mas não se limita apenas ao ar, ambientes e superfícies, podendo ser utilizados na esterilização de resíduos sólidos, tais como metais, plásticos e vidros, como também em efluentes de água. O pedido de patente está pendente de decisão, aguardando o início do exame técnico no INPI.
O pedido de patente de modelo de utilidade n° BR 20 2022 001133 3 da empresa brasileira INSTITUTO FEDERAL DE EDUCACAO, CIENCIA E TECNOLOGIA DA PARAIBA foi publicado em 01 de agosto de 2023. O pedido de patente refere-se a um dispositivo de armazenagem otimizada de copos plásticos descartáveis. O presente modelo de utilidade conjuga as funções de armazenar e triturar os copos descartados, possibilitando, com esta ação, os melhores padrões de biossegurança, em especial, durante a pandemia do novo Coronavírus, permitindo uma maior eficiência quanto ao armazenamento e a segurança das operações de coleta e reciclagem destes materiais. O presente modelo de utilidade é constituído por corpo plástico para armazenamento de copos plásticos, lâminas trituradoras, motor elétrico, placa separadora de segurança, gaveta coletora, sensor de parada das lâminas, dispositivo indicador de nível, botão liga/desliga com ajuste de rotação (RPM), cabo do tensor termopar (tomada), um bastão com sensor de parada e de uma lâmpada ultravioleta. O pedido de patente está pendente de decisão, aguardando o início do exame técnico no INPI.
O pedido de patente de invenção n° BR 11 2023 014771 9 da empresa americana DANIEL S. O'TOOLE foi publicado em 01 de agosto de 2023. O pedido de patente refere-se a dispositivo de controle de temperatura para base de drones seccionado quente e frio. O pedido de patente está pendente de decisão, aguardando o início do exame técnico no INPI.
O pedido de patente de invenção n° BR 11 2023 005508 3 da empresa italiana PLASTIAPE S.P.A foi publicado em 01 de agosto de 2023. O pedido de patente refere-se a um transportador de vibração que é fornecido para um inalador de pó seco de dose única à base de cápsula do tipo que compreende um corpo de inalador que compreende uma câmara de cápsula para receber uma cápsula de formulação de pó seco, um canal de inalação em comunicação de fluido com a câmara, e meios para perfurar uma cápsula na câmara para permitir que o fluxo de ar externo seja misturado com o conteúdo da dita cápsula para inalação do mesmo, meios para monitorar vibrações resultantes da inalação, e meios para transferir as ditas vibrações do corpo de inalador para os meios de monitoramento. O transportador compreende uma placa interposta entre o corpo e os meios para monitoramento. O pedido de patente está pendente de decisão, aguardando o início do exame técnico no INPI.
O pedido de patente de invenção n° BR 11 2023 012983 4 da empresa americana ARMSTRONG WORLD INDUSTRIES, INC. foi publicado em 25 de julho de 2023. O pedido de patente refere-se a sistemas de purificação de ar e esterilização de superfície empregando irradiação germicida ultravioleta integrável de maneira discreta em espaços internos ocupáveis em edifícios. Os sistemas podem ser usados sozinhos ou em combinação. O sistema de purificação de ar utiliza unidades de desinfecção alimentadas por ventilador equipadas com uma fonte de luz ultravioleta operável para desativar patógenos transportados pelo ar. O sistema de esterilização de superfície utiliza unidades de lâmpada ultravioleta operáveis para desativar acúmulos na superfície de patógenos. Dispositivos de qualquer um dos sistemas de desinfecção podem ser integrados em sistemas de teto ou parede do espaço interno de edifício, ou móveis de escritório usados em tais espaços. O pedido de patente está pendente de decisão, aguardando o início do exame técnico no INPI.
O pedido de patente de invenção n° BR 11 2023 006453 8 da empresa americana CAREFUSION 2200, INC foi publicado em 20 de junho de 2023. O pedido de patente refere-se a um artigo, método de desinfecção da superfície de um luer lock e método para manter a carga microbiana na superfície de um luer lock. Um material polimérico antisséptico, em que um composto antimicrobiano é ligado covalentemente ao material e o material é usado para entrar em contato com um luer lock. O material polimérico antisséptico pode ajudar a desinfetar ou prevenir qualquer contaminação microbiana adicional no luer lock, em que o uso de um composto antimicrobiano ligado covalentemente também pode reduzir qualquer risco do composto antimicrobiano entrar na linha intravenosa e ser exposto à corrente sanguínea do paciente. De preferência, o material polimérico antisséptico pode ser usado na indústria de cuidados com a saúde para desinfecção, supressão, redução e/ou manutenção da carga microbiana em uma superfície do luer lock. O pedido de patente está pendente de decisão, aguardando o início do exame técnico no INPI.
O pedido de patente de invenção n° BR 10 2022 010858 7 da empresa americana ROCKLINE INDUSTRIES, INC. foi publicado em 20 de junho de 2023. O pedido de patente refere-se a uma composição para lenço umedecido de limpeza, desinfetação e sanitização contendo ácido orgânico. Uma composição desinfetante, sanitizante e de limpeza é uma formulação que é segura para uso em superfícies de contato com alimentos, sem a necessidade de qualquer enxágue com água pós-aplicação. Em uma forma de realização exemplar, a composição de limpeza e desinfecção elimina a necessidade de enxágue com água pós-aplicação usando apenas componentes que são considerados Food Safe pela EPA. Em outra forma de realização exemplar, a composição de limpeza e desinfecção inclui ácido cítrico, mas sem quaisquer agentes tensoativos aniônicos na composição de limpeza e desinfecção. Ainda em outra forma de realização exemplar da revelação, a composição de limpeza e desinfecção inclui um segundo ácido orgânico e um ou mais agentes tensoativos não iônicos como componentes juntamente com ácido cítrico para fornecer propriedades antimicrobianas inesperadas e benéficas à composição de limpeza e desinfecção. O pedido de patente está pendente de decisão, aguardando o início do exame técnico no INPI.
O pedido de patente de modelo de utilidade n° BR 20 2020 026747 2 dO brasileiro CARLOS GERALDO FERREIRA foi publicado em 12 de julho de 2022. O pedido de patente refere-se a pulseira tipo relogio com alcool para higienização bacteriana e viral das mãos, feita de silicone e outros materiais emborrachados com objetivo de promover a higienização das mãos através de álcool gel ou álcool líquido para neutralização imediata nas mãos de bactérias e/ou vírus de qualquer natureza, inclusive o viral CORONAVÍRUS, que são alojados nas mãos quando se toca nas coisas ou cumprimenta-se pessoas com o toque das mãos, podendo promover a transferência para estas pessoas doenças advindas destas bactérias e/ou vírus de qualquer natureza, inclusive o viral CORONAVÍRUS, sendo. prática e funcional para ser usada no pulso do braço, tendo um bojo reservatório de álcool para a parte inferior do pulso, e quando o reservatório é pressionado com o dedo, o álcool é injetado na mão do braço onde está a pulseira e com a outra mão haverá o atrito espalhando o álcool, fazendo assim a higienização bacteriana e viral evitando assim a transmissão de qualquer bactéria e/ou vírus, inclusive o viral CORONAVÍRUS para outras pessoas. O pedido de patente está pendente de decisão, aguardando o início do exame técnico no INPI.
O pedido de patente de invenção n° BR 11 2023 006905 0 da empresa austríaca NEXT SCIENCE IP HOLDINGS PTY LTD foi publicado em 16 de maio de 2023. O pedido de patente refere-se a composição desinfetante de superfície dura. Uma composição, letal para um amplo espectro de micro- organismos e capaz de aplicações repetidas em superfícies duras, inclui componentes de solvente e soluto. O componente de solvente inclui água e uma quantidade menor de pelo menos um líquido orgânico, enquanto o componente de soluto inclui um ácido fraco, uma base conjugada desse ácido, um eletrólito oxidante, e um tensoativo iônico. A composição é ácido mas tem um pH de pelo menos 2,5 e uma concentração efetiva de soluto de pelo menos 2,5 Osm/L. O pedido de patente está pendente de decisão, aguardando o início do exame técnico no INPI.
O pedido de patente de invenção n° BR10 2021 020804 0 do brasileiro JOSÉ DE FÁTIMA MOTA foi publicado em 25 de abril de 2023. O pedido de patente refere-se a um LED e/ou lâmpada esterilizadora de ar ultra violeta a ser introduzida em cooler de notebooks e computadores para inativar microorganismos nocivos à saúde humana, cujo propósito tem como fim a esterilização de ar em ambientes fechados e caracterizada por uma lâmpada germicida UVC, gerida pela fonte do gabinete do computador, que movimenta o cooler ligada ao reator onde há a conversão de tensão e em seguida conduzida por fios até o soquete, responsável por receber a lâmpada e/ou por uma régua de leds germicida UVC, ligada diretamente a energia da fonte através dos fios. O pedido de patente está pendente de decisão, aguardando o início do exame técnico no INPI.
O pedido de patente de invenção n° BR 11 2023 003131 1 da empresa mexicana IQUANTUM PATENT FACTORY S.A. DE C.V foi publicado em 04 de abril de 2023. O pedido de patente refere-se a um dispositivo de assistência respiratória que fornece suporte respiratório ao paciente quando este não consegue fazê-lo sozinho ou tem dificuldade em fazê-lo, sendo constituído por uma série de arranjos eletrônicos, mecânicos e de controle para executar tal ações, proporcionando um fluxo constante de ar/oxigênio ao paciente. O pedido de patente está pendente de decisão, aguardando o início do exame técnico no INPI.
O pedido de patente de modelo de utilidade n° BR 20 2021 003259 1 da universidade brasileira UNIVERSIDADE ESTADUAL PAULISTA JULIO DE MESQUITA FILHO foi publicado em 21 de março de 2023. O pedido de patente refere-se a uma nova disposição construtiva de equipamento-módulo com Lâmpada Automática Esterilizadora UV-C, denominada LAEUV-C, e seu uso para elevadores, halls, corredores, toaletes, salas de aula etc. Destaca-se corredores e sanitários de prédios destinados a atividades didáticas escolares ou faculdades, públicos, privados ou domésticos, ambientes fechados, abertos ou com pouca circulação de ar, apartamentos e todos os ambientes de hotéis ou hospitais etc. O protótipo já foi desenvolvido, estando agora na etapa de registro da patente. Com o uso da luz UV-C o equipamento esteriliza bactérias, fungos e todo tipo de vírus em qualquer ambiente fechado e/ou com pouca circulação de ar, utilizados por seres humanos distintos, com troca de ocupantes intermitentemente, com ocorrência de pelo menos um evento temporal sem a presença de alguém no ambiente, com tempo mínimo de duração suficiente para completar o procedimento de esterilização. A segurança dos usuários é garantida pela ativação automática dos raios UV-C nesse intervalo de tempo, no qual o ambiente se encontra vazio, quando é realizada a esterilização completa do ambiente: ar e superfícies. Sensores térmicos de presença, de ultrassom etc., são utilizados para detecção segura da inexistência de pessoas e/ou animais no local. O equipamento proporciona a mitigação da taxa de propagação de vírus, bactérias, fungos etc, sendo uma contribuição para a diminuição da pandemia de Covid -19 e suas variantes, ou qualquer outro tipo de pandemia viral ou bacteriana, atual ou futura. Para diminuição do tempo necessário para esterilização utiliza-se a versão flash da lâmpada UV-C. O pedido de patente está pendente de decisão, aguardando o início do exame técnico no INPI.
O pedido de patente de modelo de utilidade n° BR 20 2021 004230 9 da empresa brasileira LASETRONIK SEGURANCA ELETRONICA foi publicado em 21 de março de 2023. O pedido de patente refere-se a um aparelho automático com a função de aplicação de álcool em gel nas mãos dos indivíduos. O mesmo também contará a quantidade de pessoas no estabelecimento através de sensores, medirá a temperatura no momento em que for aplicado o álcool e fará instruções através de áudio para aquele que estiver utilizando o produto aqui mencionado. O pedido de patente está pendente de decisão, aguardando o início do exame técnico no INPI.
O pedido de patente de modelo de utilidade n° BR 20 2021 005198 7 da inglês FRANCISCO ANTÔNIO FERRARI foi publicado em 14 de março de 2023. O pedido de patente refere-se a uma pulseira dispensadora de fluído desinfetante que compreende uma estrutura alongada de material flexível que apresenta na região interna um reservatório para armazenamento de um determinado volume de um fluído na forma líquida ou gel, dito reservatório que apresenta uma via de entrada protegida por um meio de fechamento e uma abertura na face oposta àquela que contata o corpo do usuário, caracterizado pelo fato da abertura apresentar pelo menos um rolo aplicador que ocupa a totalidade da dita abertura e fixado nas extremidades em mancais, tendo a superfície do rolo aplicador a disposição de meios de absorção ou de retenção do fluído. O pedido de patente está pendente de decisão, aguardando o início do exame técnico no INPI.
O pedido de patente de invenção n° BR 112022022756-6 da empresa americana JAMES L. ORRINGTON, II D.D.S., P.C. foi publicado em 28 de fevereiro de 2023. O pedido de patente refere-se a sistemas e métodos para minimizar o risco de transmissão de SARS-CoV-2 e/ou outras doenças infecciosas entre indivíduos em estreita proximidade uns com os outros. Os sistemas descritos no presente pedido podem compreender um componente de proteção substancialmente transparente, um componente de câmara e um componente de sucção. Os sistemas e métodos associados da presente divulgação são destinados a remover qualquer vírus SARS-CoV-2 e/ou outros agentes infecciosos que possam se deslocar dentro de aerossóis. O pedido de patente está pendente de decisão, aguardando o início do exame técnico no INPI.
O pedido de patente de invenção n° BR 11 2023 000609 0 da empresa chinesa INVENTIO AG foi publicado em 31 de janeiro de 2023. O pedido de patente refere-se a um sistema de transporte de passageiros (1) e um processo para seu funcionamento. O sistema de transporte de passageiros apresenta um dispositivo de transporte de passageiros para o transporte de pessoas no interior de uma construção, uma unidade de controle para controlar um funcionamento do dispositivo de transporte de passageiros e um dispositivo de desinfecção para desinfetar uma superfície a ser desinfetada no dispositivo de transporte de passageiros. O dispositivo de desinfecção apresenta um controlador para comandar um funcionamento do dispositivo de desinfecção. A unidade de controle do sistema de transporte de passageiros e o controlador do dispositivo de desinfecção são configurados para que os sinais de estado, que reproduzem informações sobre um funcionamento atual, um estado atual e/ou uma configuração atual do dispositivo de desinfecção, sejam enviados do controlador para a unidade de controle e a unidade de controle gere sinais de comando levando em conta os sinais de estado recebidos e os transmita ao controlador, sendo que o controlador controla o funcionamento do dispositivo de desinfecção levando em conta os sinais de comando recebidos. O pedido de patente está pendente de decisão, aguardando o início do exame técnico no INPI.
O pedido de patente de invenção n° BR11 2022 022748 5 da empresa americana JAMES L. ORRINGTON, II D.D.S., P.C foi publicado em 31 de janeiro de 2023. O pedido de patente refere-se a aparelhos protetores e sistemas associados para minimizar o risco de transmissão de SARS-CoV-2 e/ou outras doenças infeciosas entre indivíduos em estreita proximidade uns dos outros incluindo, por exemplo, transmissão através de gotículas que se projetam a partir da boca ou da região nasal de um indivíduo infectado. Os ditos aparelhos podem compreender um componente de proteção substancialmente transparente e um componente de manuseio que compreende um aspecto de conexão. Os aparelhos protetores podem compreender diodos emissores de luz e meios de controle associados. Os aparelhos protetores da presente divulgação podem compreender ainda uma câmera conectada de modo comunicativo a uma tela de exibição. O pedido de patente está pendente de decisão, aguardando o início do exame técnico no INPI.

O pedido de patente de invenção n° BR 10 2021 013286 8 da empresa brasileira ERVIÇO NACIONAL DE APRENDIZAGEM INDUSTRIAL, DEPARTAMENTO REGIONAL DE SÃO PAULO foi publicado em 17 de janeiro de 2023. O pedido de patente refere-se a composições na forma líquida como suspensão, dispersão para limpeza e desinfecção de superfícies contendo nanopartículas de parta. Também são fornecidos processo de produção de referida composição bem como um higienizador. O pedido de patente está pendente de decisão, aguardando o início do exame técnico no INPI.
O pedido de patente de invenção n° BR 11 2022 022967 4 da empresa holandesa BIOSEUTICA BV foi publicado em 17 de janeiro de 2023. O pedido de patente refere-se a um novo processo para produção de cloridrato de lisozima a partir da clara de ovo de galinha com alta pureza química e o uso desse agente antiviral contra SARS-CoV-2, combinado opcionalmente com outros antivirais e/ou imunossupressivos e ovotransferrina. O pedido de patente está pendente de decisão, aguardando o início do exame técnico no INPI.
O pedido de patente de invenção n° BR 102021013380-5 da universidade brasileira INSTITUTO FEDERAL DE EDUCAÇÃO, CIÊNCIA E TECNOLOGIA DE PERNAMBUCO foi publicado em 17 de janeiro de 2023. O pedido de patente refere-se a um método denominado pelos autores de air filter test para avaliação da eficiência de filtros químicos (cartuchos químicos de carvão ativado), filtros mecânicos (PFF1, PFF2/N95, PFF3) e máscaras na proteção respiratória contra particulados. Caracteriza-se por ser um método que utiliza partículas (10nm - 10 µm) do próprio ar atmosférico, que dispensa o pré- tratamento do filtro ou máscara a ser avaliado, opera com flexibilidade de temperatura e umidade do ar, além de ser de baixo custo. O método é capaz de traduzir com fidelidade as condições reais de utilização de filtros e máscaras na proteção respiratória contra particulados. O pedido de patente está pendente de decisão, aguardando o início do exame técnico no INPI.
O pedido de patente de invenção n° BR 102021013380-5 da empresa brasileira INSTITUTO FEDERAL DE EDUCAÇÃO, CIÊNCIA E TECNOLOGIA DE PERNAMBUCO foi publicado em 17 de janeiro de 2023. O pedido de patente refere-se a um método denominado pelos autores de air filter test para avaliação da eficiência de filtros químicos (cartuchos químicos de carvão ativado), filtros mecânicos (PFF1, PFF2/N95, PFF3) e máscaras na proteção respiratória contra particulados. Caracteriza-se por ser um método que utiliza partículas (10nm - 10 µm) do próprio ar atmosférico, que dispensa o pré-tratamento do filtro ou máscara a ser avaliado, opera com flexibilidade de temperatura e umidade do ar, além de ser de baixo custo. O método é capaz de traduzir com fidelidade as condições reais de utilização de filtros e máscaras na proteção respiratória contra particulados. O pedido de patente está pendente de decisão, aguardando o início do exame técnico no INPI.

O pedido de patente de modelo de utilidade n° BR 20 2021 012464 0 do brasileiro ALLOY ILUMINAÇÃO LTDA foi publicado em 03 de janeiro de 2023. O pedido de patente refere-se a um esterilizador híbrido, pertencente ao campo dos artigos para esterilização de equipamentos, dispositivos e ambientes; mais precisamente compreende um equipamento constituído a partir de um gabinete prismático retangular de reduzida espessura dotado de duas portinholas com aberturas basculantes em sua face inferior, as quais se abrem do centro para os lados e são acopladas em servo motores elétricos por meio de braços articulados, sendo que as faces laterais menores do gabinete possuem aberturas para ventilação, de sorte que uma delas é dotada de um ventilador e, além disso, o gabinete ostenta em seu interior múltiplas lâmpadas UV-C tubulares posicionadas lado a lado e longitudinalmente, as quais são movimentadas, para fora e para dentro do gabinete, por um atuador tipo pistão. O pedido de patente está pendente de decisão, aguardando o início do exame técnico no INPI.
O pedido de patente de modelo de utilidade n° BR 202021008322-6 das empresas brasileiras MB PRODUTOS FITOTERÁPICOS IMPORTAÇÃO E EXPORTAÇÃO LTDA ME; INSTITUTO FEDERAL DE EDUCAÇÃO, CIÊNCIA E TECNOLOGIA DA BAHIA e PRINT DREAMS 3D ARTIGOS ORTOPÉDICOS LTDA ME foi publicado em 03 de janeiro de 2023. O pedido de patente refere-se a um dispositivo aplicado em torre de esterilização UV compartimentalizada com aplicação na área da saúde. O dispositivo proporciona um meio eficaz e seguro de higienização de larga escala, com módulos individuais de esterilização que sejam facilmente acoplados entre si, ampliando significativamente a capacidade de higienização. Além disso, o dispositivo é dividido em compartilhamentos/módulos que garante o comprimento de onda, tempo de exposição e distancia de aplicação adequados para a esterilização desejada, além de eliminar todos os pontos de sombreamento, garantindo uma esterilização integral do objeto higienizado. O pedido de patente está pendente de decisão, aguardando o início do exame técnico no INPI.
O pedido de patente de invenção n° BR 112022021779-0 da empresa britânica CREO MEDICAL LIMITED foi publicado em 13 de dezembro de 2022. O pedido de patente refere-se a sistemas de esterilização adequados para uso clínico. Em particular, é fornecido um dispositivo de esterilização compreendendo: um alojamento definindo um caminho de fluxo de fluido de nebulização de água entre uma entrada para receber nebulização de água e uma saída para direcionar um fluxo de radicais hidroxila em direção a uma região a ser esterilizada; uma ponta de distribuição de energia configurada para produzir um plasma térmico ou não térmico; uma linha de transmissão coaxial disposta para transmitir energia eletromagnética de radiofrequência (RF) e/ou frequência de micro-ondas (EM); e um canal de gás no alojamento e disposto para distribuir gás à ponta de distribuição de energia, em que a ponta de distribuição de energia se estende de uma extremidade distal da linha de transmissão coaxial. A ponta de distribuição de energia compreende: um primeiro eletrodo eletricamente conectado a um condutor interno da linha de transmissão coaxial; e um segundo eletrodo eletricamente conectado a um condutor externo da linha de transmissão coaxial. O segundo eletrodo define um volume interno da ponta de distribuição de energia, em que o primeiro eletrodo se estende longitudinalmente dentro do volume interno. O primeiro eletrodo e o segundo eletrodo são configurados para: disparar um plasma no gás distribuído à ponta de distribuição de energia e direcionar o plasma para o caminho de fluxo de fluido de nebulização de água para formar radicais hidroxila neste. O pedido de patente está pendente de decisão, aguardando o início do exame técnico no INPI.
O pedido de patente de invenção n° BR 102021011041-4 da empresa brasileira SACF CONSULTORIA EIRELI - EPP foi publicado em 13 de dezembro de 2022. O pedido de patente refere-se a um dispositivo de esterilização eletromagnética, composto por uma topologia de conversor eletroeletrônico, alimentado por uma fonte de alimentação CC ou CA com qualquer número de fases, construído com um ou vários germicidas UV-C ou Far-UV-C lâmpada, para garantir que a sola dos sapatos de qualquer transeunte seja esterilizada, caracterizada por estar alinhada paralela ao chão, sob lâminas angulares que suportam o peso de pelo menos cinquenta quilogramas acima dela. Um dos seus objetivos reside em prover um dispositivo modular de esterilização eletromagnética, facilmente transportável, capaz de permitir que o UV-C desinfete a escória dos sapatos dos transeuntes sem arriscar a exposição direta da pele ou dos olhos. O pedido de patente está pendente de decisão, aguardando o início do exame técnico no INPI.
O pedido de patente de invenção n° BR11 2022 021820-6 da empresa americana TRUE MANUFACTURING CO., INC. foi publicado em 13 de dezembro de 2022. O pedido de patente refere-se a Um sistema de armário de desinfecção (10) inclui passagem de distribuição de ozônio (16) em comunicação fluida aberta com um compartimento de desinfecção (14) dentro de um armário (12). Um gerador de ozônio (18) e um movedor de ar de desinfecção (20) estão localizados na passagem de distribuição de ozônio (16). O movedor de ar de desinfecção (20) move ar a partir do compartimento de desinfecção (14) através do gerador de ozônio (18) para formar ar ozonizado e move o ar ozonizado a partir da passagem de distribuição de ozônio (16) para dentro do compartimento de desinfecção (14). Um sistema de controle controla o gerador de ozônio (18) e movedor de ar (20) com base em feedback a partir de um sensor de ozônio (56) indicando exposição a ozônio ao longo do tempo. Um dispositivo de conversão de ozônio (22) é montado em uma parede divisória (36) do armário (12) no exterior do compartimento de desinfecção (14). A parede divisória (38) tem furos de entrada e saída , e o dispositivo de conversão de ozônio (22) tem câmaras a montante e a jusante em comunicação com os furos de entrada e saída. Amortecedores que podem ser seletivamente abertos separam câmaras a montante e a jusante a partir de uma câmara de conversão de ozônio na qual o catalisador de conversão de ozônio é recebido. O pedido de patente está pendente de decisão, aguardando o início do exame técnico no INPI.

O pedido de patente de invenção n° BR112022021740-4 da empresa inglesa CREO MEDICAL LIMITED foi publicado em 06 de dezembro de 2022. O pedido de patente refere-se a sistemas de esterilização adequados para uso clínico, por exemplo, no corpo humano, aparelhos médicos ou espaços de leito hospitalar. Em particular, um dispositivo de esterilização é fornecido para gerar um fluxo de radicais hidroxila, o dispositivo de esterilização compreendendo: uma linha de transmissão coaxial, a linha de transmissão coaxial se estendendo em uma direção longitudinal e compreendendo um condutor interno e um condutor externo localizado em torno e afastado do condutor interno; uma tampa de extremidade montada em uma extremidade distal da linha de transmissão coaxial, em que a tampa de extremidade compreende uma abertura de saída voltada distalmente; um conduíte de fluido que se estende na direção longitudinal a partir de uma entrada de fluido em uma extremidade distal da linha de transmissão coaxial através da tampa de extremidade para a abertura de saída; e uma região de geração de plasma em uma extremidade proximal da abertura de saída, em que a região de geração de plasma contém um primeiro eletrodo que está eletricamente conectado ao condutor interno e um segundo eletrodo que está eletricamente conectado ao condutor externo, em que o conduíte de fluido define um caminho de fluxo de fluido longitudinal através do dispositivo que está alinhado com uma direção de alimentação na qual o fluido é recebido através do fluido e em que o primeiro eletrodo e o segundo eletrodo se opõem um ao outro em uma direção transversal através do caminho de fluxo de fluido longitudinal na região geradora de plasma. O pedido de patente está pendente de decisão, aguardando o início do exame técnico no INPI.
O pedido de patente de invenção n° BR112022021740-4 da empresa inglesa CREO MEDICAL LIMITED foi publicado em 06 de dezembro de 2022. O pedido de patente refere-se a sistemas de esterilização adequados para uso clínico, por exemplo, no corpo humano, aparelhos médicos ou espaços de leito hospitalar. Em particular, um dispositivo de esterilização é fornecido para gerar um fluxo de radicais hidroxila, o dispositivo de esterilização compreendendo: uma linha de transmissão coaxial, a linha de transmissão coaxial se estendendo em uma direção longitudinal e compreendendo um condutor interno e um condutor externo localizado em torno e afastado do condutor interno; uma tampa de extremidade montada em uma extremidade distal da linha de transmissão coaxial, em que a tampa de extremidade compreende uma abertura de saída voltada distalmente; um conduíte de fluido que se estende na direção longitudinal a partir de uma entrada de fluido em uma extremidade distal da linha de transmissão coaxial através da tampa de extremidade para a abertura de saída; e uma região de geração de plasma em uma extremidade proximal da abertura de saída, em que a região de geração de plasma contém um primeiro eletrodo que está eletricamente conectado ao condutor interno e um segundo eletrodo que está eletricamente conectado ao condutor externo, em que o conduíte de fluido define um caminho de fluxo de fluido longitudinal através do dispositivo que está alinhado com uma direção de alimentação na qual o fluido é recebido através do fluido e em que o primeiro eletrodo e o segundo eletrodo se opõem um ao outro em uma direção transversal através do caminho de fluxo de fluido longitudinal na região geradora de plasma. O pedido de patente está pendente de decisão, aguardando o início do exame técnico no INPI.
O pedido de patente de invenção n° BR 112022023567-4 da empresa chinesa CARL ZEISS VISION LTD E da empresa alemã CARL ZEISS VISION INTERNATIONAL GMBH foi publicado em 29 de novembro de 2022. O pedido de patente refere-se a lente de óculos compreendendo pelo menos um substrato de lente de óculos e pelo menos um revestimento, caracterizada pelo fato de que o pelo menos um revestimento compreende pelo menos um revestimento antibacteriano e/ou antiviral que compreende pelo menos um componente inorgânico biocida e pelo menos um componente inorgânico de ligação com propriedades antibacterianas e/ou antivirais e método para fabricar o mesmo. O pedido de patente está pendente de decisão, aguardando o início do exame técnico no INPI.
O pedido de patente de invenção n° BR 11 2022 017505 1 da empresa chinesa PHILIP MORRIS PRODUCTS S.A. foi publicado em 29 de novembro de 2022. O pedido de patente refere-se a um método para fabricar um artigo inalador, o artigo inalador compreendendo um corpo, uma cavidade de cápsula que contém uma cápsula, um elemento de bocal e um elemento tubular deformável tendo uma extremidade distal aberta, o método compreendendo pré-tratar a extremidade distal de o elemento tubular deformável para obter uma porção pré-tratada com estabilidade estrutural reduzida e dobrar a porção pré-tratada para dentro em pelo menos 90 graus para fechar pelo menos parcialmente a extremidade distal. A presente invenção refere-se também a um dispositivo para fabricar um artigo inalador e a um artigo inalador obtido pelo dispositivo. O pedido de patente está pendente de decisão, aguardando o início do exame técnico no INPI.
O pedido de patente de invenção n° BR 202021008698-5 dos brasileiros THIAGO BUSATO MENDONÇA, ARTUR TESSARO LEAL, BRUNO SEITI KAMBARA, DANTE LUIGI ZANIRATTO (BR/PR) e FERNANDO GALDINO PEDRON foi publicado em 16 de novembro de 2022. O pedido de patente refere-se a um dispositivo de segurança para acondicionamento, descontaminação e entrega de mercadorias que compreende dispositivo de certificação (4) sincronizado a pelo menos um dispositivo inteligente (9) com capacidade de rede (10) de área ampla ou Bluetooth, como um smartphone, em relação ao qual gera um código de uso único para a liberação do cadeado eletrônico previsto na porta anterior (2) do contêiner (1). Uma vez acessadas a porta anterior (2) e a câmara (6) de descontaminação integrada, o dispositivo de certificação (4) aciona uma lâmpada de luz ultravioleta UVC (5) ou sucedâneo para a descontaminação, e emite protocolos de alerta ao usuário/recebedor após concluído o processo de descontaminação. O pedido de patente está pendente de decisão, aguardando o início do exame técnico no INPI.
O pedido de patente de invenção n° BR 102021008463-4 da universidade brasileira UNIVERSIDADE FEDERAL DO PARÁ foi publicado em 16 de novembro de 2022. O pedido de patente refere-se a um Sistema Refrigerador Monitorado para Vacinação e Amostras Biológicas (SRM-V&A) tem como objetivo monitorar e controlar a temperatura de vacinas, amostras biológicas, testes rápidos e medicamentos, durante a fase de transporte na ponta, ou seja, até o usuário final. O setor técnico corresponde a área da saúde, mais especificamente ao controle e monitoramento da temperatura de vacinas, amostras biológicas e afins. O SRM-V&A possui um sistema embarcado capaz de monitorar e controlar a sua temperatura e salvar o trajeto percorrido por ele. O monitoramento da temperatura pode ser realizado em tempo real através de um display localizado no SRM-V&A, e os dados de temperatura e trajeto percorrido podem ser visualizados posteriormente através de um aplicativo web responsivo do próprio SRM- V&A. Em relação ao controle da temperatura, o SRM-V&A utiliza pastilhas termoelétricas que realizam o resfriamento da sua caixa térmica através do Efeito Peltier. O SRM-V&A possui também um painel fotovoltaico e baterias, possibilitando assim que ele possa gerar e armazenar a sua própria energia. Todos esses recursos tornam o SRMV&A ideal para ser usado na região amazônica, que contém regiões ribeirinhas, interiores longínquos e localidades sem cobertura de celular e sem energia. O que diferencia o SRM-V&A dos demais produtos e técnicas já existentes é a possibilidade de realizar tanto o controle, quanto o monitoramento da temperatura dos materiais supracitados na fase final do seu transporte. Assim, é possível transportar os materiais supracitados dentro das faixas de temperatura estabelecidos na legislação e normas, evitando-se eventuais perdas desses materiais ocasionada pela incorreta refrigeração durante a fase final do seu transporte. O pedido de patente está pendente de decisão, aguardando o início do exame técnico no INPI.
Em 14 de dezembro de 2021 foi admitido o trâmite prioritário do pedido de patente de modelo de utilidade n° BR 20 2021 012961 7 da empresa brasileira MEISTER SAFE SYSTEM LTDA que foi publicado em 13 de dezembro de 2022. O pedido de patente refere-se a um aparelho de esterilização e desinfecção do ar, do setor técnico aparelhos de esterilização e desinfecção do ar. O Esterilizador UV-C para Ar Condicionado Split Piso Teto realiza a desinfecção do ar succionado por equipamento de Ar Condicionado Split Piso Teto instalado em um ambiente, utilizando de lâmpadas emissoras de radiação UV-C no comprimento de onda de 254 nm para realizar a desinfecção do ar sobre passagem. O aparelho possui área de irradiação interna em aço inox onde duas ou mais lâmpadas de UV-C se encontram montadas, dependendo da potência do modelo de aparelho. Existe um box interno onde reatores e um controlador ficam abrigados da radiação. Uma calha interna (protetor do split) em aluminio côncava concentra a radiação e impede a irradiação das superfícies externas do ar condicionado split. O Esterilizador UV-C para Ar Condicionado Split Piso Teto auxilia na diminuição do risco de contágio pelo Sars-Cov-2 e de outras doenças causadas por microrganismos. O pedido de patente está pendente de decisão, aguardando o início do exame técnico no INPI.
O pedido de patente de invenção n° BR 102021004368-7 do brasileiro DENIS PITARELLI foi publicado em 13 de novembro de 2022. O pedido de patente refere-se a um pulverizador eletrostático portátil para sanitização e desinfecção, que através de seu bico expele um jato de qualquer produto aquoso ao ambiente, desta forma e através do bico com indução eletrostática identificados no estado da técnica, as partículas de produto são induzidas a se fixares nos objetos ou moveis, paredes, etc. através da diferença de potencial da gota, sendo composto de [alça retrátil (1), alça do taque (2), bocal de enchimento (3), mangueira de instrumentação (4) , rodas rodizio (5),defletores (6),apoio (7), estrutura (8), tanque reservatório de produtos (9) ,pistola de aplicação (10),trava engate rápido (11), bico de pulverização com indutor eletrostático selado (12), corrente de aterramento (13) trata-se da corrente metálica que terá como, filtro de linha (14) ,válvula (15) ,compressor (16), módulo eletrônico (17), cooler (18), tendo como característica de um equipamento robusto e que faça com que seja aplicado produtos através da tecnologia de pulverização eletrostática, permitindo a desinfecção e a sanitização de ambientes de maneira rápida e com segurança e por ser compacto e leve, de fácil manuseio, simplifica a desinfecção de ambientes em geral. O pedido de patente está pendente de decisão, aguardando o início do exame técnico no INPI.

O pedido de patente de invenção n° BR 102021008092-2 do brasileiro JOÃO PAULO LAURINDO DE CERQUEIRA MELO foi publicado em 08 de novembro de 2022. O pedido de patente refere-se a um dispositivo composto por barreira física de proteção a aerossóis, expelidos no momento de atendimento, evitando a contaminação do ar ambiente. É especialmente projetado para profissionais da área de saúde que precisem evitar contato com fluidos corporais de seus pacientes. O mesmo pode ser usado também em outros ambientes, tais como salões de beleza, clínicas de fisioterapia e estúdios de tatuagem, por exemplo. Ele possui haste com extremidade articulada espacialmente, base, anteparo, conector para dispositivo de aspiração, dispositivos de fixação e dispositivo de desinfecção de patógenos por irradiação de luz ultravioleta C (UV-C). O pedido de patente está pendente de decisão, aguardando o início do exame técnico no INPI.
O pedido de patente de modelo de utilidade n° BR 202021007816-8 da empresa brasileira NODUS BRASIL LTDA foi publicado em 04 de novembro de 2022. O pedido de patente refere-se a um totem público, com diversas melhorias que o tornam único, além dos periféricos padrão que um totem de mídia possui, como monitor e um computador juntos, são capazes de reproduzir mídia e propaganda. Esta solução acompanha moldura infravermelho que permite interação e resposta ao toque, sendo os itens desenvolvidos especialmente para esta tecnologia são o dispenser automático de álcool em gel, para higienização das mãos, pois o totem é de uso coletivo e para evitar a disseminação de vírus contagiosos como o Covid-19; fixação embutida de leitor de código de barras e QR Code; impressora térmica com corte automático por guilhotina; e pinpad / tef leitor de cartão magnético débito e crédito. O pedido de patente está pendente de decisão, aguardando o início do exame técnico no INPI.
O pedido de patente de modelo de utilidade n° BR 202021007816-8 da empresa brasileira NODUS BRASIL LTDA foi publicado em 04 de novembro de 2022. O pedido de patente refere-se a um totem público, com diversas melhorias que o tornam único, além dos periféricos padrão que um totem de mídia possui, como monitor e um computador juntos, são capazes de reproduzir mídia e propaganda. Esta solução acompanha moldura infravermelho que permite interação e resposta ao toque, sendo os itens desenvolvidos especialmente para esta tecnologia são o dispenser automático de álcool em gel, para higienização das mãos, pois o totem é de uso coletivo e para evitar a disseminação de vírus contagiosos como o Covid-19; fixação embutida de leitor de código de barras e QR Code; impressora térmica com corte automático por guilhotina; e pinpad / tef leitor de cartão magnético débito e crédito. O pedido de patente está pendente de decisão, aguardando o início do exame técnico no INPI.
O pedido de patente de invenção n° BR 102021007678-0 da universidade brasileira INSTITUTO FEDERAL DE EDUCAÇÃO, CIÊNCIA E TECNOLOGIA DO PIAUÍ foi publicado em 01 de novembro de 2022. O pedido de patente refere-se ao campo da desinfecção de materiais, tais como frutas, papéis, plásticos, eletrônicos, metais, tecidos, objetos e superfícies gerais, em residências, restaurantes, hospitais, entre outros, colaborando na prevenção da COVID-19 e de outros patógenos. Mais particularmente, a presente invenção viabiliza o processo de desinfecção de materiais e superfícies sujeitos à contaminação por vírus e outros patógenos através da exposição desses micro-organismos à luminosidade de lâmpadas germicidas com tecnologia UV-C, em ambiente isolado por caixa, sem ocasionar a alteração da natureza do produto, proporcionando a higienização homogênea, em sistema que pode ser controlado remotamente. Mais especificamente, a presente invenção viabiliza o processo de desinfecção de materiais em ambientes domésticos e organizacionais, tais como de hospitais, restaurantes, comércios, entre outros, correspondendo a uma tecnologia portátil, que pode ser desenvolvida em tamanhos diversificados. O referido equipamento consiste numa câmara caracterizada por conter lâmpadas germicidas UV-C, com compartimento isolante do ambiente externo e com dimensões calculadas para garantir a eficácia da desinfecção. Possui espelhamento interno para ampliação do potencial germicida, podendo ser projetada em diferentes tamanhos. Possui um circuito com controlador Arduino para comunicação com o controle remoto e para controle e segurança da câmara em usos manuais. O circuito promove o ajuste de tempo e informações por meio de sinal sonoro e LEDs indicativos. O pedido de patente está pendente de decisão, aguardando o início do exame técnico no INPI.
O pedido de patente de invenção n° BR 102021007678-0 da universidade brasileira INSTITUTO FEDERAL DE EDUCAÇÃO, CIÊNCIA E TECNOLOGIA DO PIAUÍ foi publicado em 01 de novembro de 2022. O pedido de patente refere-se ao campo da desinfecção de materiais, tais como frutas, papéis, plásticos, eletrônicos, metais, tecidos, objetos e superfícies gerais, em residências, restaurantes, hospitais, entre outros, colaborando na prevenção da COVID-19 e de outros patógenos. Mais particularmente, a presente invenção viabiliza o processo de desinfecção de materiais e superfícies sujeitos à contaminação por vírus e outros patógenos através da exposição desses micro-organismos à luminosidade de lâmpadas germicidas com tecnologia UV-C, em ambiente isolado por caixa, sem ocasionar a alteração da natureza do produto, proporcionando a higienização homogênea, em sistema que pode ser controlado remotamente. Mais especificamente, a presente invenção viabiliza o processo de desinfecção de materiais em ambientes domésticos e organizacionais, tais como de hospitais, restaurantes, comércios, entre outros, correspondendo a uma tecnologia portátil, que pode ser desenvolvida em tamanhos diversificados. O referido equipamento consiste numa câmara caracterizada por conter lâmpadas germicidas UV-C, com compartimento isolante do ambiente externo e com dimensões calculadas para garantir a eficácia da desinfecção. Possui espelhamento interno para ampliação do potencial germicida, podendo ser projetada em diferentes tamanhos. Possui um circuito com controlador Arduino para comunicação com o controle remoto e para controle e segurança da câmara em usos manuais. O circuito promove o ajuste de tempo e informações por meio de sinal sonoro e LEDs indicativos. O pedido de patente está pendente de decisão, aguardando o início do exame técnico no INPI.
O pedido de patente de invenção n° BR 112022016978-7 dos turcos ÍLYAS ELVAN e HALIL AYDENIZ foi publicado em 25 de outubro de 2022. O pedido de patente refere-se a um dispensador de tecido de higiene com um cartucho de multi cilindro de tração de movimento vertical que proporciona aumento dos baixos números de tablete nos dispensadores de tecido de higiene e estende o tempo de enchimento do cartucho. O pedido de patente está pendente de decisão, aguardando o início do exame técnico no INPI.
O pedido de patente de invenção n° BR 102021006749-7 do brasileiro DIRCEU JOSE KUCMANSKI foi publicado em 11 de outubro de 2022. O pedido de patente refere-se a um equipamento inovador no processo de sanitização de ambientes em geral, trazendo diversos benefícios tais como, nebulização de partículas sanitizantes menores, grande abrangência de deposição, economia de produtos sanitizantes e também de água, flexibilidade de transporte e utilização de materiais não corrosivos em sua fabricação. O gerador ultrassônico é capaz de gerar gotículas de líquidos extremamente pequenas (mícrons) através da vibração em escala ultrassônica de líquidos. Os líquidos podem ser constituídos apenas de água, água e produtos sanitizantes, água e ozônio entre outros. Para auxiliar na propagação da névoa o aparelho conta com sopradores elétricos capazes de forçar a disseminação das gotículas no ambiente, assim não necessitando da presença de operador. O gerador ultrassônico pode ser utilizado como sistema de higienização e/ou também humidificador de ar. O pedido de patente está pendente de decisão, aguardando o início do exame técnico no INPI.
O pedido de patente de invenção n° BR 112022013744-3 da empresa americana AERUS MEDICAL, LLC foi publicado em 11 de outubro de 2022. O pedido de patente refere-se à unidade de esterilização e purificação de ar. É divulgado um dispositivo de purificação de ar tendo um alojamento para conter uma unidade de oxidação fotocatalítica (PCO) e um conjunto de ventilador. O dispositivo também pode opcionalmente incluir um compartimento de filtro para conter um filtro como um filtro HEPA. O dispositivo de purificação de ar é configurado para fornecer purificação e saneamento eficazes de ar em um ambiente interno direcionado e, em particular em um ambiente médico como um hospital. O pedido de patente está pendente de decisão, aguardando o início do exame técnico no INPI.
O pedido de patente de invenção n° BR 202020024575-4 da empresa brasileira FERREIRA & LANZA LTDA foi publicado em 13 de setembro de 2022. O pedido de patente refere-se a equipamentos para higienização de utensílios e equipamentos em geral, ao seu uso na higienização, desinfecção e sanitização de diversos utensílios e equipamento multiuso pelo próprio cliente ou usuário de determinado local, bem como para a lavagem profissional através de jatos de alta pressão e ou pulverização com objetivos diversos, o qual é caracterizado por ser formado por estrutura (2) em formato de arco totalmente em aço inox revestido com materiais plásticos translúcidos (3), conformando um túnel de aplicação dotado de piso (4) com receptáculo e rampas (5) de entrada e saída dos carrinhos, destacando-se que para seu funcionamento dispõe de circuito de lavagem independente equipado com bomba exclusiva, bicos de nebulização com anti-gotejador, bicos de lavagem de alta pressão com vazão tipo spray system com regulagem de altura, três bombas independentes para aplicações independentes, sendo uma bomba de aplicação de calda, bomba para lavagem de alta pressão externa, bomba para circuito interno para higienização e ou desinfecção de acordo com a Norma NR12. O pedido de patente está pendente de decisão, aguardando o início do exame técnico no INPI.

O pedido de patente de modelo de utilidade n° BR 202020025834-1 da empresa brasileira DNA DESIGN PROJETOS E MARCENARIA LTDA foi publicado em 13 de setembro de 2022. O pedido de patente refere-se a um higienizador de embalagens e alimentos por ozônio; a solução é caracterizada pelo fato de ser um equipamento portátil, o qual recebe os produtos que foram comprados e os expõem ao ozônio, que por sua vez elimina os vírus e as bactérias sem a necessidade de água e/ou sabão, realizando a desinfecção de possíveis vírus e bactérias contidos nas embalagens de tais produtos de forma rápida e prática. O pedido de patente está pendente de decisão, aguardando o início do exame técnico no INPI.

O pedido de patente de invenção n° BR 112022011260-2 da empresa americana FREESTYLE PARTNERS, LLC foi publicado em 06 de setembro de 2022. O pedido de patente refere-se a uma montagem de luz portátil para erradicar patógenos que inclui um alojamento. Um processador e uma lâmpada são dispostos dentro do alojamento. A lâmpada irradia superfícies com luz ultravioleta desinfetante tendo um comprimento de onda de pico de 222 nm filtrado para restringir iluminação para ficar entre 200 nm e 230 nm dentro de uma zona de irradiação. Um sistema de medição de distância inclui uma fonte de luz secundária gerando luz secundária e um fotodetector para medir distância da luz secundária a uma superfície sendo irradiada por meio da luz de lâmpada sendo refletida pela superfície para o fotodetector. A fonte de luz secundária é deslocada em um ângulo a partir da lâmpada, projetando desse modo o feixe de luz em uma área central da zona de irradiação gerada pela lâmpada. O fotodetector sinaliza para o processador para calcular uma distância vertical entre a lâmpada e a área central da zona de irradiação na superfície sendo irradiada a partir de uma projeção angular da luz secundária. O pedido de patente está pendente de decisão, aguardando o início do exame técnico no INPI.
O pedido de patente de invenção n° BR 102021002212-4 do brasileiro GUILHERME MENDES SPITZMAN JORDAN foi publicado em 23 de agosto de 2022. O pedido de patente refere-se a um sistema de descontaminação corporal e higienização de superfícies à base de água ozonizada (CS) com reconhecimento facial, se a pessoa está ou não utilizando máscara de proteção respiratória e concomitantemente a realização da aferição da temperatura corporal da pessoa e detecção de metais (DM). Consiste em um sistema semifechado, através de uma estrutura metálica revestida que promove à circulação de uma solução química aspergida a base de água e ozônio dentro do ambiente, esse sistema é todo automatizado, e quando uma pessoa entra na cabine, automaticamente, através de um sensor, os pulverizadores de alta pressão são acionados e assim é produzido uma “nuvem” de solução sanitizante, esta produzida no gabinete (GA), cobrindo toda a superfície das pessoas, para garantir a perfeita eficácia do sistema de sanitização, sobre o piso é instalado um tapete sanitizante que permanece 100% embebido em água ozonizada. O equipamento de reconhecimento facial é instalado no lado externo da cabine, a pessoa se aproxima da tela e faz o reconhecimento facial e o equipamento informa se a pessoa está utilizando a máscara de proteção respiratória ou não, e ao mesmo tempo é aferida a sua temperatura, informando se a temperatura da pessoa está dentro da faixa normal para temperatura corporal. O sistema de detecção de metais (DM) é formado por bobinas entorno da estrutura metálica da cabine, que forma um campo eletromagnético, quando um material metálico se aproxima é causado uma diferença na corrente do campo eletromagnético que é identificada por amperímetro e informando através de sinal luminoso a existência de materiais ferrosos e não ferrosos com alta precisão. O pedido de patente está pendente de decisão, aguardando o início do exame técnico no INPI.
O pedido de patente de invenção n° BR 112022011051-0 da empresa americana ELI LILLY AND COMPANY foi publicado em 23 de agosto de 2022. O pedido de patente refere-se a métodos de uso de detergentes ambientalmente compatíveis no campo de fabricação de proteína recombinante para inativação de vírus em uma corrente de alimentação de produto no processo de fabricação de proteínas pretendidas para administração para um paciente, tais como proteínas terapêuticas ou diagnósticas. O pedido ainda provê métodos onde o detergente ambientalmente compatível usado na presente invenção mantém qualidade de produto da proteína terapêutica ou diagnóstica enquanto inativando vírus efetivamente. O pedido de patente está pendente de decisão, aguardando o início do exame técnico no INPI.
O pedido de patente de invenção n° BR 102021002212-4 do brasileiro GUILHERME MENDES SPITZMAN JORDAN foi publicado em 23 de agosto de 2022. O pedido de patente refere-se a um sistema de descontaminação corporal e higienização de superfícies à base de água ozonizada (CS) com reconhecimento facial, se a pessoa está ou não utilizando máscara de proteção respiratória e concomitantemente a realização da aferição da temperatura corporal da pessoa (50) e detecção de metais (DM). Consiste em um sistema semifechado, através de uma estrutura metálica (11) revestida (12) que promove à circulação de uma solução química aspergida a base de água e ozônio dentro do ambiente, esse sistema é todo automatizado, e quando uma pessoa entra na cabine, automaticamente, através de um sensor (41), os pulverizadores de alta pressão (21) são acionados e assim é produzido uma “nuvem” de solução sanitizante, esta produzida no gabinete (GA), cobrindo toda a superfície das pessoas, para garantir a perfeita eficácia do sistema de sanitização, sobre o piso (13) é instalado um tapete sanitizante que permanece 100% embebido em água ozonizada. O equipamento de reconhecimento facial é instalado no lado externo da cabine, a pessoa se aproxima da tela e faz o reconhecimento facial (50) e o equipamento informa se a pessoa está utilizando a máscara de proteção respiratória ou não, e ao mesmo tempo é aferida a sua temperatura, informando se a temperatura da pessoa está dentro da faixa normal para temperatura corporal. O sistema de detecção de metais (DM) é formado por bobinas (61) entorno da estrutura metálica (11) da cabine, que forma um campo eletromagnético, quando um material metálico se aproxima é causado uma diferença na corrente do campo eletromagnético que é identificada por amperímetro e informando através de sinal luminoso (62) a existência de materiais ferrosos e não ferrosos com alta precisão. O pedido de patente está pendente de decisão, aguardando o início do exame técnico no INPI.


O pedido de patente de invenção n° BR112022010402-2 da empresa espanhola BIOWAIR TOTAL SYSTEMS, S.L. foi publicado em 23 de agosto de 2022. O pedido de patente refere-se a um dispositivo de tratamento respiratório para uso terapêutico, em que o dispositivo compreende um sistema de recirculação de ar motorizado, um conjunto de filtros para purificação do ar , um esterilizador de raios ultravioleta e um eletroestimulador de plasma, em que o dispositivo se distingue por compreender meios para ejeção de ar em fluxo laminar com emissão de ruído entre 0 e 5 dB; meios para redirecionar o fluxo laminar para a cabeça do paciente, um estabilizador, um difusor multifilamentar, um ou mais LEDs UV-C. O pedido de patente está pendente de decisão, aguardando o início do exame técnico no INPI.
O pedido de patente de invenção n° BR 102021002111-0 do brasileiro LUCIANO MORENO DA SILVA foi publicado em 16 de agosto de 2022. O pedido de patente refere-se a um equipamento higienizador e secador (1) de colchonetes (C), cujo diferencial é permitir a higienização padronizada, contínua e rápida de colchonetes (C) em ambientes de alta rotatividade, tais como academias e clubes, compreendendo um módulo de descolamento horizontal (4), para o colchonete (C) que possa por um módulo de higienização (H) e um módulo de secagem (15); ainda pelo equipamento higienizador e secador (1) de colchonetes (C) compreender um módulo de deslocamento vertical (K), passando por de higienização (H) e um módulo de secagem (15).. O pedido de patente está pendente de decisão, aguardando o início do exame técnico no INPI.

O pedido de patente de invenção n° BR 102021002215-9 do brasileiro PLACIDO AVELINO DA SILVA NETO foi publicado em 16 de agosto de 2022. O pedido de patente refere-se a um sistema (1) e processo (2), configurados por um sistema de insuflação de ar (10) associado a um sistema de injeção de produto (5) bactericida, que higieniza, elimina vírus, fungos, bactérias e umidade de colchões hospitalares (C) por temperatura gradual, sendo capaz de higienizar pelo menos dez unidades de colchões hospitalares (C) e realizar a desinfecção a cada 60 minutos e 75 minutos, no interior de uma câmara de estufa (3). O pedido de patente está pendente de decisão, aguardando o início do exame técnico no INPI.


O pedido de patente de invenção n° BR 102021001696-5 da empresa brasileira FUNDAÇÃO EDUCACIONAL SEVERINO SOMBRA foi publicado em 16 de agosto de 2022. O pedido de patente refere-se a um dispositivo simulador aplicado para a prática de traqueostomia com foco em treinamento de massa de profissionais da saúde ou reciclagem de treinamento profissional. O referido simulador é dividido em partes compreendendo componentes anatômicos e componentes de software e hardware na plataforma livre de Arduino. O dispositivo tem o propósito de prover reprodução de sons gravados em arquivo mp3 promovendo uma interação entre o dispositivo e o usuário promovendo um treinamento para usuários que atuam na execução do procedimento de traqueostomia inserido no suporte as equipes de urgência e emergência ou capacitação de profissionais. O dispositivo pode ser de grande valia nesse atual cenário de pandemia de Covid-19, pois o procedimento de traqueostomia é amplamente recomendado após o 21º dia de internação e este simulador poderá contribuir com uma capacitação em massa das equipes. O dispositivo simulador é formado pelos seguintes componentes: Head 3D (1); Pele; Suporte Interno; Cartilagem; Traqueia; Componentes Arduino; Alto-falantes; Tireoide; Fones de ouvido. O pedido de patente está pendente de decisão, aguardando o início do exame técnico no INPI.

O pedido de patente de invenção n° BR 102021000500-9 do brasileiro GUILHERME MENDES SPITZMAN JORDAN foi publicado em 19 de julho de 2022. O pedido de patente refere-se a um sistema de descontaminação corporal e higienização de superfícies à base de água ozonizada (CS). Consiste em um sistema semifechado, através de uma estrutura metálica (11) revestida (12) que promove à circulação de uma solução química aspergida a base de água e ozônio dentro do ambiente, esse sistema é todo automatizado, e quando uma pessoa entra na cabine, automaticamente, através de um sensor (41), os pulverizadores de alta pressão (21) são acionados e assim é produzido uma nuvem de solução sanitizante, esta produzida no gabinete (GA), cobrindo toda a superfície das pessoas, para garantir a perfeita eficácia do sistema de sanitização, sobre o piso (13) é instalado um tapete sanitizante que permanece 100% embebido em água ozonizada. O pedido de patente está pendente de decisão, aguardando o início do exame técnico no INPI.


O pedido de patente de invenção n° BR 102021000500-9 do brasileiro GUILHERME MENDES SPITZMAN JORDAN foi publicado em 19 de julho de 2022. O pedido de patente refere-se a um sistema de descontaminação corporal e higienização de superfícies à base de água ozonizada. Consiste em um sistema semifechado, através de uma estrutura metálica revestida que promove à circulação de uma solução química aspergida a base de água e ozônio dentro do ambiente, esse sistema é todo automatizado, e quando uma pessoa entra na cabine, automaticamente, através de um sensor, os pulverizadores de alta pressão são acionados e assim é produzido uma nuvem de solução sanitizante, esta produzida no gabinete, cobrindo toda a superfície das pessoas, para garantir a perfeita eficácia do sistema. O pedido de patente está pendente de decisão, aguardando o início do exame técnico no INPI.
O pedido de patente de invenção n° BR 102021001860-7 da empresa brasileira POWERPIC REPRESENTAÇÕES LTDA foi publicado em 16 de agosto de 2022. O pedido de patente refere-se a uma disposição construtiva para promover a conservação e a desinfecção de objetos e seu uso. Ele está relacionado com a utilização do dito equipamento para uso doméstico, em locais estratégicos, como, por exemplo, na entrada da residência para depósito de objetos como calçados, no quarto ou sala para desinfecção de objetos como chaves e smartphones; na cozinha para conservação e desinfecção de alimentos. Com essas funções pode também ser utilizado em estabelecimentos comerciais, entre outros. O pedido de patente está pendente de decisão, aguardando o início do exame técnico no INPI.

O pedido de patente de invenção n° BR 102020025999-7 da universidade brasileira UNIVERSIDADE ESTADUAL DE PONTA GROSSA foi publicado em 05 de julho de 2022. O pedido de patente refere-se a uma barreira física associada à aspiração de alta vazão para retenção e eliminação de aerossóis e gotículas produzidos durante procedimentos odontológicos. Desde a emergência da doença COVID-19 e a declaração de pandemia pela Organização Mundial de Saúde, essa doença vem afetando mais de 55 milhões de pessoas no mundo. Especialmente os cirurgiões-dentistas figuram como profissionais altamente expostos ao risco de contato com pacientes suspeitos de terem contraído a doença. Isto porque as rotas de transmissão da doença envolvem o contato direto com os pacientes ou por meio de gotículas de secreções da orofaringe e possíveis transmissões por aerossóis. A maioria dos procedimentos odontológicos gera quantidades significativas de gotículas e aerossóis, os quais apresentam riscos potenciais para infecções cruzadas. Esta Patente de Invenção (PI) trata da descrição de um sistema para eliminação de aerossóis e gotículas produzidos durante os procedimentos odontológicos. O sistema consta de uma barreira física transparente entre o profissional e o paciente cobrindo sua cabeça, pescoço e tórax e permitindo fácil acesso dos profissionais pelas laterais em qualquer posição ergonômica de trabalho. O sistema pode ser móvel ou fixado ao encosto de cabeça da cadeira odontológica, tendo um sugador de aerossol e de gotículas de alta vazão adaptado acoplado que, por sua vez, será conectado à mangueira da bomba a vácuo do equipo odontológico para eliminação dos resíduos coletados. O pedido de patente está pendente de decisão, aguardando o início do exame técnico no INPI.
O pedido de patente de invenção n° BR 102020025875-3 da empresa brasileira FUNDAÇÃO UNIVERSIDADE DE BRASILIA foi publicado em 28/06/2022. O pedido de patente refere-se a sistema de radiação baseia-se na utilização de radiação UV-C (254 nm) que é absorvida no RNA e DNA celular, formando dímeros que impedem a replicação de patógenos e a sua capacidade de infectar. Essa qualidade torna a energia UV-C uma maneira eficaz, ambientalmente amigável e livre de produtos químicos para desinfecção de ambientes. O sistema projetado leva em consideração as dimensões do local, potência da fonte de radiação, nível de contaminação do ambiente, objetos no recinto, rugosidade e porosidade das superfícies, distância entre a luz e o alvo de desinfecção, a disponibilidade de tempo para descontaminação e a resistência efetiva dos microrganismos que serão eliminados. A presente invenção refere-se a um dispositivo de desinfecção que utiliza radiação na região do ultravioleta UV-C (254 nm) para reduzir a proliferação de agentes patógenos tais como vírus, bactérias e fungos. O pedido de patente está pendente de decisão, aguardando o início do exame técnico no INPI.
O pedido de patente de invenção n° BR 102020025507-0 das empresas brasileiras SERVICO NACIONAL DE APRENDIZAGEM INDUSTRIAL e LIMA SANTOS INDUSTRIA DE CONFECÇÕES EIRELI ME foi publicado em 28 de junho de 2022. O pedido de patente refere-se a um filtro com capacidade de retenção microbiológica, usado como equipamento de proteção coletiva (EPC). A invenção não substitui o filtro original do aparelho de ar-condicionado, porém serve como um complemento do sistema, atuando como barreira contra bactérias e vírus, com o objetivo de controlar a disseminação infecciosa e evitando a infecção cruzada em ambientes climatizados. O pedido de patente de invenção descreve um filtro a ser acoplado ao filtro de ar-condicionado. O filtro, aqui revelado, foi elaborado com tecido não tecido, preferencialmente, tecido não tecido (TNT), ou spunbond meltblown spunbond (SMS) ou TNT antiviral. O filtro é acoplado à sistemas de ar-condicionado (AC), preferencialmente, AC tipo Split com filtro conjugado ou bipartido e Fan coil. O pedido de patente está pendente de decisão, aguardando o início do exame técnico no INPI.
O pedido de patente de invenção n° BR 112021026795-6 da empresa americana ILLUMINA, INC. e da empresa inglesa ILLUMINA CAMBRIDGE LIMITED foi publicado em 15 de fevereiro de 2022. O pedido de patente refere-se a um kit que inclui uma célula de fluxo e um fluido de sonda de genotipagem. A célula de fluxo inclui um substrato, e o primeiro e o segundo iniciadores de captura fixados ao substrato. O fluido de sonda de genotipagem inclui um veículo líquido e um oligonucleotídeo de genotipagem no veículo líquido. O oligonucleotídeo de genotipagem inclui uma primeira sequência iniciadora; uma sequência de sonda que é representativa de um locus-alvo de genotipagem; um sítio de endonuclease de restrição; e uma segunda sequência iniciadora que é ao menos parcialmente complementar ao segundo iniciador de captura. O pedido de patente está pendente de decisão, aguardando o início do exame técnico no INPI.

O pedido de patente de invenção n° BR 102020025037-0 da empresa brasileira SERVIÇO NACIONAL DE APRENDIZAGEM INDUSTRIAL foi publicado em 21 de junho de 2022. O pedido de patente refere-se a um dispositivo para contenção de aerossol e proteção e método para fabricação do mesmo. O referido dispositivo visa proteger os profissionais de saúde que tratam dos pacientes com infectados com doenças que podem ser transmitidas por aerossóis, como exemplo a COVID-19, de forma a conter o aerossol produzido durante o processo de cuidado ao paciente, com ou sem o uso de métodos de ventilação mecânica, invasivas ou não invasiva. O dito dispositivo pode ser aplicado para o uso de pacientes que necessitam fazer uso de ventilação não invasiva diagnosticados com pneumonia, ou doenças respiratórias causadas por patógenos, ou portadores de alguma doença infecciosa, principalmente de vias aéreas, incluindo pacientes com COVID-19, e dessa forma, o dito dispositivo tem a capacidade de evitar processos de intubação precoce, contribuindo para uma melhora clínica do paciente. Outra vantagem do dispositivo é proporcionar maior conforto ao paciente, com espaço e visão do ambiente externo, reduzindo situações de claustrofobia. O pedido de patente está pendente de decisão, aguardando o início do exame técnico no INPI.
O pedido de patente de invenção n° BR 112022005839-0 da empresa belga BEMICRON foi publicado em 21 de junho de 2022. O pedido de patente refere-se a um equipamento de proteção para um cômodo limpo ou um ambiente higienizado, compreendendo: uma face externa (2) que deve entrar em contato com o ambiente circundante, uma face interna (3) disposta para entrar em contato com ou orientada na direção de um operador. Além disso, são descritos um método de empacotamento do equipamento de proteção e de uso do dito equipamento de proteção. O pedido de patente está pendente de decisão, aguardando o início do exame técnico no INPI.
Em 16 de novembro de 2021 foi admitido o trâmite prioritário do pedido de patente de invenção n° BR 10 2021 019234 8 da empresa brasileira PONFAC S/A foi publicado em 21 de junho de 2022. O pedido de patente refere-se a um sistema e dispositivo de análise e monitoramento de temperatura corporal, objeto da presente invenção, tem como objetivo resolver os inconvenientes descritos no estado da técnica através de um sistema de análise e monitoramento de temperatura corporal que compreende um sistema para verificação de temperatura que possui características de medição de temperatura corporal de múltiplas pessoas, simultaneamente, à distância (sem necessidade de contato físico) e em tempo real, através da análise de imagens capturadas por duas câmeras (231) e (232) integradas ao hardware do produto (100). Além disso, o sistema possui as funcionalidades de detecção e alarme referente a pessoas sem máscara, aglomeração e distanciamento social. Este sistema foi desenvolvido com a necessidade de detectar e sinalizar a ocorrência de eventos como: pessoas com hipertermia, aglomerações e ausência de EPI (pessoas sem máscara) em ambientes de alta circulação e tendência à aglomeração, a fim de fornecer condições para o monitoramento e controle destas ocorrências, na tentativa de minimizar o contágio de patologias virais e bacterianas. O pedido de patente está pendente de decisão, aguardando o início do exame técnico no INPI.
O pedido de patente de invenção n° BR102021020504-0 da empresa brasileira FCC - INDÚSTRIA E COMÉRCIO LTDA. foi publicado em 07 de junho de 2022. O pedido de patente refere-se ao processo e a aplicação de uma composição de elastômeros termoplásticos e aditivos antimicrobianos, preferencialmente partículas nanométricas com ação antiviral, em uma concretização essa composição é utilizada como solado de calçados. Essa composição utiliza uma combinação de matérias primas específicas de forma a possibilitar o processamento e dispersão do composto mantendo as propriedades antivirais do mesmo, viabilizando uma produção de solado de calçados sem nenhuma modificação no processo convencional do fabricante. A presente invenção se situa nos campos de Engenharia de Materiais. O pedido de patente está pendente de decisão, aguardando o início do exame técnico no INPI.
O pedido de patente de modelo de utilidade n° BR 202020022776-4 da empresa brasileira POWERPIC REPRESENTAÇÕES LTDA foi publicado em 24 de maio de 2022. O pedido de patente refere-se a um dispositivo higienizador de ambientes, sendo a higienização realizada através de luz Ultravioleta C (UVC), e o dito dispositivo é acoplado a eletrodomésticos, tais como: televisores, computadores, monitores de computador, geladeiras, rádio (aparelho de som), micro-ondas, freezers, máquina de lavar roupas, entre outros. O campo de aplicação do presente pedido de patente de modelo de utilidade está relacionado com a utilização do dispositivo acoplado em eletrodomésticos que se encontram em ambientes, objetivando a purificação dos mesmos, através da utilização da luz UVC. O dispositivo com luz UVC (1), composto por uma placa de circuito eletrônico (2), uma passagem da botoeira refletora (3) de um botão de controle (4) com LED RGB (5), um conector USB (6) de entrada de alimentação de tensão, todos ligados a uma placa de circuito eletrônico (2). Para o uso o dispositivo (1) recebe, através do conector USB (6), a alimentação elétrica por intermédio de um cabo USB ligado a uma fonte de energia de 5 volts de carregadores de celulares e smarthphones (não mostrados) ligados a uma tomada do ambiente a ser higienizado, energizando assim a placa de circuito eletrônico (2). O pedido de patente está pendente de decisão, aguardando o início do exame técnico no INPI.

O pedido de patente de invenção n° BR 102020022934-6 do brasileiro RAFAEL SANTOS DA CRUZ PAULA foi publicado em 24 de maio de 2022. O pedido de patente refere-se à produção de superfícies porosas hidrofóbicas por método de deposição física a vapor. Tais superfícies porosas podem ser quaisquer uma dentre papel, tecido sintético, tecido natural, algodão, polímeros. Mais especificamente, a presente invenção trata da hidrofobização de superfícies porosas respiráveis com aplicação de grafeno, com capacidade antiviral, para aplicação em equipamento de segurança pessoal na área médica, como máscaras, jalecos e luvas. O processo de hidrofobização é realizado a partir da deposição de filmes aplicados sobre o substrato (superfície porosa) por meio da técnica de magnetron sputtering. O processo de produção utiliza um sistema automatizado para, a partir de pelo menos dois alvos iguais ou distintos, realizar a deposição do filme sobre o substrato (superfície porosa), no caso específico enrolado em bobinas, obtendo-se superfícies porosas hidrofobizadas nanoestruturadas, de alta eficiência de troca gasosa e elevada capacidade de impermeabilização. O pedido de patente está pendente de decisão, aguardando o início do exame técnico no INPI.
O pedido de patente de invenção n° BR 102020022651-7 da empresa brasileira POWERPIC REPRESENTAÇÕES LTDA foi publicado em 17 de maio de 2023. O pedido de patente refere-se a um tapete higienizador (1) formado por uma base plana (2) que estende uma aba articulável a partir de cada uma de suas quatro bordas, as quais são dispostas de modo a dobrarem-se sobre a base (2) e desdobrarem-se para assumir a função de paredes, como uma caixa, além de uma tampa superior (13), sendo todas as faces internas da caixa revestidas por material espelhado. As paredes laterais são dotadas de pares de LEDs de emissão de luz UVC (7 e 8) e um LED piloto colorido (9). O circuito eletrônico do tapete higienizador (1) pode receber um temporizador para definição de um tempo específico de funcionamento. Quando não em uso, o tapete (1) pode ser fechado, voltando à forma original, planificada, com suas paredes recolhidas, podendo apoiar objetos em sua superfície. Já em seu estado montado, o tapete higienizador (1) em formato de caixa recebe em seu interior (12) objetos (O) a serem higienizados, quando são acionados os LEDs de emissão de luz UVC (7 e 8) que emitem um range (RG) de luz de radiação ultravioleta que reflete no material espelhado, higienizando os objetos (O) por completo ao envolver todas as suas superfícies. Durante o funcionamento, o LED piloto colorido (9) se mantém aceso, indicando que o dispositivo está em funcionamento. O pedido de patente está pendente de decisão, aguardando o início do exame técnico no INPI.


O pedido de patente de invenção n° BR 10 2020 022804 8 do brasileiro LUIZ JOAQUINO OLIVEIRA ANTUNES foi publicado em 24 de maio de 2022. O pedido de patente refere-se a equipamento higienizador de carrinhos de lojas de departamento com duplo sistema de esterilização por radiação UVC e nevoa eletrostática com carga de íons negativos. Um equipamento de higienização constituído por gabinete ou carenagem com portas automáticas e dotado de revestimento interno espelhado, recebendo inferiormente um piso permeável móvel entremeando rampas laterais de acesso. O gabinete recebe superiormente um tanque reservatório com tubulação horizontal ligada a um tubo vertical dotado de sensor de nível e uma tampa que aloja um transdutor piezoelétrico. O tubo vertical é ligado ao duto direcionador de um ventilador que se estende até um duto vertical isolado e até o interior do gabinete, estando esse duto vertical isolado envolto por um eletrodo de indução. O gabinete recebe no seu interior uma ou mais lâmpada(s) ultravioleta emissora(s) de luz UVC e tem seu sistema controlado por um CLP ligado a um display do tipo IHM e um botão do pânico. Assim, o equipamento será utilizado na ação de esterilização automática de carrinhos (CA) por radiação ultravioleta e pelo produto químico à base de Cloreto de Benzalcônio simultaneamente, em cada ciclo. O pedido de patente está pendente de decisão, aguardando o início do exame técnico no INPI.

O pedido de patente de invenção n° BR 102020022233-3 da empresa brasileira FOCA-BRAUN MOBILIDADE DO BRASIL LTDA foi publicado em 10 de maio de 2022. O pedido de patente refere-se a dispositivo de descontaminação e equipamento tipo catraca, pertencente ao setor técnico dos equipamentos de descontaminação por irradiação ultravioleta, UV, e a equipamentos de tipo catraca, controlador de fluxo e similares, dito dispositivo de descontaminação destinado ao combate a microrganismos patógenos, como: vírus, fungos, bactérias, particularmente ao Covid-19, e compreendido por uma versão em forma de calha de descontaminação por raio ultravioleta, UV, (1) e uma versão em forma de célula de descontaminação por raio ultravioleta UV (50), as quais são aplicadas em equipamentos tipo catraca com quatro braços (100) e equipamentos tipo catraca com três braços (150), respectivamente, para descontaminar as superfícies dos braços de catraca destes, as quais são mais tocadas pelos transeuntes que passam por ditos equipamentos (100), (150), a fim de que tais superfícies não se tornem foco de propagação de doenças. O pedido de patente está pendente de decisão, aguardando o início do exame técnico no INPI.


O pedido de patente de invenção n° BR 112022002568-8 da empresa japonesa TORAY INDUSTRIES, INC. foi publicado em 03 de maio de 2022. O pedido de patente refere-se à vestimenta de proteção que compreende um par de partes de mangas e uma parte do corpo, em que a vestimenta de proteção possui um primeiro tecido e um segundo tecido e compreende uma ou mais partes de revestimento de articulação que revestem pelo menos uma articulação do cotovelo e/ou articulação do joelho de um usuário, em que o primeiro tecido tem uma permeabilidade ao vapor de água de 200 g/m2/h ou mais, uma propriedade de barreira viral da classe 4 ou superior, uma propriedade de barreira sanguínea de classe 4 ou superior e uma resistência à flexão de 60 mm ou mais e 110 mm ou menos, em que o segundo tecido está disposto na parte de revestimento da articulação e tem uma propriedade de barreira viral de classe 4 ou superior, uma propriedade de barreira sanguínea de classe 4 ou mais e uma resistência à flexão de 20 mm ou mais e 50 mm ou menos, e em que uma área de superfície do primeiro tecido em relação a uma área de superfície total da vestimenta de proteção é de 15% ou mais e 70% ou menos. O pedido de patente está pendente de decisão, aguardando o início do exame técnico no INPI.


O pedido de patente de invenção n° BR 11 2022 002568 8 da empresa japonesa X TORAY INDUSTRIES, INC foi publicado em 03 de maio de 2022. O pedido de patente refere-se a à vestimenta de proteção que compreende um par de partes de mangas e uma parte do corpo, em que a vestimenta de proteção possui um primeiro tecido e um segundo tecido e compreende uma ou mais partes de revestimento de articulação que revestem pelo menos uma articulação do cotovelo e/ou articulação do joelho de um usuário, em que o primeiro tecido tem uma permeabilidade ao vapor de água de 200 g/m2/h ou mais, uma propriedade de barreira viral da classe 4 ou superior, uma propriedade de barreira sanguínea de classe 4 ou superior e uma resistência à flexão de 60 mm ou mais e 110 mm ou menos, em que o segundo tecido está disposto na parte de revestimento da articulação e tem uma propriedade de barreira viral de classe 4 ou superior, uma propriedade de barreira sanguínea de classe 4 ou mais e uma resistência à flexão de 20 mm ou mais e 50 mm ou menos, e em que uma área de superfície do primeiro tecido em relação a uma área de superfície total da vestimenta de proteção é de 15% ou mais e 70% ou menos. O pedido de patente está pendente de decisão, aguardando o início do exame técnico no INPI.
O pedido de patente de invenção n° BR 102020021506-0 dos brasileiros MARCIA ADRIANA TOMAZ DUARTE , DANIEL KOHLS e ELIANA APARECIDA DE REZENDE DUEK foi publicado em 03 de maio e 2022. O pedido de patente refere-se a um elemento filtrante bactericida, fungicida e antiviral de um compósito de poli (ácido láctico) (pla) e método de obtenção do respectivo elemento filtrante. A presente patente de invenção trata de um elemento filtrante bactericida, fungicida e antiviral fabricado de um compósito de Poli (ácido láctico) (PLA) em uma solução orgânica de nano partículas de prata (AgNP), particularmente utilizado em equipamentos, EPIs e/ou dispositivos para filtragem de água e ar, para proteção contra agentes tais como fungos, vírus e bactérias. O elemento filtrante é configurado por uma membrana de fibras eletrofiadas de um compósito de PLA com nanopartículas de prata (AgNP) em uma solução orgânica de poliálcool, preferencialmente um monoetilenoglicol. A estrutura nanométrica e tridimensional aumenta a área de superfície de contato e configura uma barreira mecânica e biológica eficiente contra os patógenos nocivos à saúde. O pedido de patente está pendente de decisão, aguardando o início do exame técnico no INPI.
O pedido de patente de invenção n° BR 102020019092-0 do brasileiro SELVINO POZZEBON foi publicado em 29 de março de 2022. O pedido de patente refere-se a um capacete com filtros para proteção respiratória e do tronco formado a partir de uma bainha basal com uma espera para um filtro manta que além de proteger o tronco do usuário também serve para melhorar a vedação do equipamento na região do pescoço, sendo que de dita bainha basal se projeta um corpo dotado de uma grande entrada posterior de ar com uma segunda espera para um filtro para proteção do sistema respiratório do usuário. O pedido de patente está pendente de decisão, aguardando o início do exame técnico no INPI.

O pedido de patente de invenção n° BR 202020017126-2 do brasileiro CARLOS ROBERTO RODRIGUES foi publicado em 08 de março de 2022. O pedido de patente refere-se a um pulverizador de álcool; o dito pulverizador tem como sua característica principal o fato do mesmo ser modificado para conter álcool inserido no seu reservatório, possibilitando assim que ao ser dispensado na superfície em forma de vapor por suas quatro aberturas superiores possam eliminar possíveis bactérias e vírus existentes no ambiente ou sobre as superfícies. O pedido de patente está pendente de decisão, aguardando o início do exame técnico no INPI.

O pedido de patente de invenção n° BR 102020020907-8 da universidade brasileira UNIVERSIDADE ESTADUAL DE CAMPINAS (UNICAMP) foi publicado em 24 de abril de 2022. O pedido de patente refere-se a um processo de recobrimento de equipamentos de proteção individual com spray para conferir propriedades virucidas aos mesmos. A presente invenção possui aplicação na indústria de produção de equipamentos de proteção individual (EPIs), principalmente contra a COVID-19. O pedido de patente está pendente de decisão, aguardando o início do exame técnico no INPI.

O pedido de patente de invenção n° BR102020008905-6 do brasileiro EDSON DE SÁ FEITOZA foi publicado em 19 de abril de 2022. O pedido de patente refere-se a uma composição de aerossol para desinfecção e eliminação de vírus e correlatos que atua na desinfecção de pessoas e ambientes, através da criação de uma película protetora que elimina os vírus em geral, além de bactérias e fungos presentes no ambiente. Dita composição integra quaternário de amônio de 5ª geração, cloreto de benzalcônio e água. O pedido de patente está pendente de decisão, aguardando o início do exame técnico no INPI.
O pedido de patente de invenção n° BR 102020016311-6 do brasileiro VINICIUS JULIO CAMARGO (BR/PR) foi publicado em 22 de fevereiro de 2022. O pedido de patente refere-se a um equipamento automático para higienização e sanitização de produtos e objetos diversos, compreende o item (01) chassi do equipamento, item (02) soprador de ar, item (03) bicos de ar, item (04) entrada de agua, item (05) bicos dos jatos de agua, item (06) objetos, item (07) saída de agua residual, item (08) porta, item (09) bocais de nebulização, item (10) reservatório de agua, item (11) reservatório de químicos lavagem, item (12) painel, item (13) reservatório químicos de sanitização, item (14) modulo nebulização ultrassónico, item (15) válvulas. O equipamento é usado em ambientes domésticos, comerciais e industriais para lavagem automática com jatos de água com produto de limpeza, secagem com ar aquecido, de fluxo suficiente para a secagem das superfícies, dispondo, ainda, de um nebulizador para sanitização, visando eliminar microrganismos, vírus e bactérias. O pedido de patente está pendente de decisão, aguardando o início do exame técnico no INPI.

O pedido de patente de invenção n° BR 102020015904-6 da empresa brasileira INOVAR MANUTENÇÃO INDUSTRIAL EIRELI ME foi publicado em 22 de fevereiro de 2022. O pedido de patente refere-se uma cabine de controle e monitoramento de passagem com aferição de temperatura e dispositivos de higienização, de uso preferencial em entradas de fábricas, hospitais, escolas, bancos, academias, mercados, lojas, shoppings, estádios, locais de festas, shows, que apresenta como novidade, uma cabine automatizada , dotada de um corpo paralelepipedal retangular, com opcional de: catracas de entrada e saída, leitor de cartão de acesso, digital ou teclado numérico; um sensor de presença e medidor de altura disposto no teto de entrada; uma calha com o tapete sanitizante, para higienização dos pés; um painel interno de comandos, dotado internamente de um celular com câmera termográfica um compartimento de higienização das mãos, com bico aspersor interno, um reservatório com líquido sanitizante; sinalizadores de LEDs; um micro controlador que comanda todos os dispositivos eletrônicos acoplados a cabine; e no modelo mais completo, contém uma cabine / câmara de ozônio. O pedido de patente está pendente de decisão, aguardando o início do exame técnico no INPI.
O pedido de patente de invenção n° BR 102020015722-1 do brasileiro FLAVIO SADAMO MICIMA foi publicado em 15 de fevereiro de 2022. O pedido de patente refere-se a aspirador de aerossóis e saliva para pontas odontológicas. O presente pedido de privilégio de invenção é voltado ao setor odontológico e vem para combater ou amenizar o espalhamento dos aerossóis produzidos pelas pontas odontológicas que acabam se dispersando por um raio de aproximadamente 2 a 3 metros, contaminando todo o consultório e, principalmente, os instrumentos usados frequentemente. O aspirador de aerossóis para pontas odontológicas (1) é provido de duto que possibilita o encaixe da ferramenta odontológica a ser usada, seja alta rotação, jato de bicarbonato de sódio, ultrassom, etc., e duto secundário para a inserção do sugador convencional amplamente utilizado nos consultórios odontológicos, convertendo assim o referido sugador em um aspirador de aerossóis barato e eficiente. Os sugadores vão atuar próximo à fonte geradora de aerossóis, ou seja, a irrigação cumprirá sua função de resfriamento e, logo após, será aspirada, evitando que esses aerossóis façam o espalhamento de vírus, bactérias e materiais orgânicos, agentes nocivos à saúde humana, otimizando o trabalho dos odontólogos principalmente nos dias atuais, com o advento da pandemia de COVID-19. O pedido de patente está pendente de decisão, aguardando o início do exame técnico no INPI.

O pedido de patente de invenção n° BR 102020015904-6 da empresa brasileira PROMAFLEX INDUSTRIAL LTDA foi publicado em 15 de fevereiro de 2022. O pedido de patente refere-se DISPOSITIVO COM BARRAMENTO DE LEDS UVC PARA HIGIENIZAÇÃO E SISTEMA DE CONTROLE DE CICLO HIGIENIZADOR. Para emitir radiação UVC no interior dos ambientes (A) de freezers ou aparelhos para refrigeração de alimentos e bebidas, armários de despensa para guardar, nas suas prateleiras, compras alimentícias, para guardar produtos de limpeza, no interior de guarda-roupas para peças do vestuário em geral, enfim, para higienização desses objetos (O), especialmente peças passíveis de serem trazidas pelo usuário, para dentro de casa, seja diariamente ou periodicamente. Para tanto, de forma independente ou em um invólucro (14), uma placa de circuito eletrônico (7) integra um temporizador (8) e LEDs UVC (13), sendo fixada internamente ao ambiente (A) em cuja porta (P) é fixado, externamente, um módulo estabilizador de tensão (2) com chave liga/desliga (6) e conexão USB (3) de alimentação elétrica receptora do cabo USB (4) de carregador (5) de smartphone ou similar. Através dos LEDs (13), a emissão UVC higieniza os objetos (O), em sinalização sincronizada pelo acendimento do LED colorido (10) em um ciclo preferencial de 12 minutos. Ao final, estando a emissão interrompida automaticamente, o usuário pode retirar os objetos (O) e ligar novamente a higienização. Caso queira pode pressionar a chave liga/desliga (6) e interromper a emissão UVC para retirar objetos (O) do ambiente (A) antes do período definido para a higienização. O pedido de patente está pendente de decisão, aguardando o início do exame técnico no INPI.


O pedido de patente de invenção n° BR 102020016165-2 da universidade brasileira UNIVERSIDADE FEDERAL DE LAVRAS foi publicado em 15 de fevereiro de 2022. O pedido de patente refere-se a um sistema inteligente de enclausuramento, ergonômico e que atende todas as normas da engenharia e protocolos médicos. Além disso, o sistema de enclausuramento é compatível com corredores, ambulâncias do SAMU, helicópteros, facilitando o transporte do paciente, e, ainda pode ser usado como um local de isolamento caso não haver leitos isolados disponíveis para o tratamento de pacientes positivos para Covid-19 ou outras doenças infectocontagiosas. Desta forma, observa-se que a tecnologia empregada, não se aplica apenas ao tratamento com pacientes positivos parta Covid-19, mas, também, para quaisquer que estejam com doenças infectocontagiosas. O pedido de patente está pendente de decisão, aguardando o início do exame técnico no INPI.

O pedido de patente de invenção n° BR102020015717-5 do brasileiro RUY TEICHERT FILHO (BR/RS foi publicado em 15 de fevereiro de 2022. O pedido de patente refere-se a um dispositivo de bloqueio de aerossóis a ser posicionado sobre cadeira odontológica (8) compreendendo câmara (1) com tampa frontal (1.1), paredes laterais (5.2), fundo livre (1.3), base livre ou parcialmente livre (1.4), aberturas (1.5) para as mãos do profissional, orifício para aspiração de ar (1.6), e filme polimérico (1.7) para selamento do fundo do dispositivo sobre o encosto da cadeira (8). O dispositivo pode compreender ainda sistema de fixação (6) formado por um suporte inferior (6.1) fixado na estrutura da cadeira odontológica (8) para encaixe sob pressão da borda das paredes (1.2) da câmara (1). É também objeto da invenção sistema para bloqueio de aerossóis compreendendo: o dispositivo, unidade de filtragem (5.2) com solução antisséptica (5.3), pelo menos uma unidade de sucção (5.5), tubulações (5.1) e mangueiras (5.6). É também objeto da presente invenção método para bloqueio de aerossóis produzidos durante procedimentos odontológicos, e cadeira compreendendo dispositivo para bloqueio de aerossóis. A solução proposta permite fornecer conforto ao paciente, proteger o ambiente externo de contaminações e isolar a superfície da cadeira odontológica. O pedido de patente está pendente de decisão, aguardando o início do exame técnico no INPI.

O pedido de patente de invenção n° BR 202020016203-4 do brasileiro PEDRO AUGUSTO SEIXAS RODRIGUES DA COSTA foi publicado em 15 de fevereiro de 2022. O pedido de patente refere-se a um porta máscara desenvolvido para acondicionar e transportar a máscara de forma segura, higiênica, ergonômica e prática. Pertencente ao setor técnico de acessórios para artigos de proteção e segurança, o porta máscara (1) aberto é uma chapa plana, tendo sua região principal (2) dividida verticalmente próximo ao centro por dois vincos (3; 3a), ficando entre estes (3; 3a) um espaço que transforma-se na parede lateral (4). Pode apresentar dois vincos (5; 5a) ou quatro vincos (5; 5a; 5b; 5c) nos limites horizontais da região principal (2) e logo a seguir duas abas (6; 6a) ou quatro abas (6; 6a; 6b; 6c). Os vincos (5; 5a) possibilitam o surgimento das paredes laterais (7; 7a) e os vincos (5b; 5c) possibilitam o surgimento das paredes laterais (7b; 7c). Em cada uma das extremidades verticais da região principal (2) há um corte curvilíneo (8; 8a) por onde as alças da máscara passam para se fixarem na outra extremidade, parede (4). As paredes (4; 7; 7a; 7b; 7c) que se formam quando o porta máscara (1) é completamente fechado, possibilitam o armazenamento e transporte da máscara sem amarrotá-la. O pedido de patente está pendente de decisão, aguardando o início do exame técnico no INPI.

O pedido de patente de invenção n° BR 102020015720-5 da empresa brasileira foi publicado em 15 de fevereiro de 2022. O pedido de patente refere-se a um processo de obtenção de tecido com proteção antibacteriana e antiviral, pertencente a área têxtil, particularmente trata-se de um processo de obtenção de tecido com tratamento a base do princípio ativo Piritionato de Zinco, o qual possui ação Bacteriostático, Fungistático, Acareostático e Antiviral, destinado a confecção de roupas, acessórios, cortinas, estofados, colchões, lençóis, travesseiros, toalhas de mesa, guardanapos, toalha de banho e confeccionados em geral, através do qual são obtidos resultados, práticos e funcionais muito vantajosos. A presente invenção apresenta um processo de obtenção de tecido com proteção antibacteriana e antiviral, com composição e tratamento em dispersão aquosa com princípio ativo Piritionato de Zinco, aplicado por processos de esgotamento (exaustão) ou impregnação, possuindo amplo espectro com ação contra bactérias (Gram Positivas e Gram Negativas), Vírus, Fungos (Bolor e Leveduras) e contra algas. O pedido de patente está pendente de decisão, aguardando o início do exame técnico no INPI.
O pedido de patente de invenção n° BR 102020015388-9 das empresas brasileiras BHIO SUPPLY INDÚSTRIA E COMÉRCIO DE EQUIPAMENTOS MÉDICOS LTDA e CLAUDIO DE ALMEIDA QUADROS foi publicado em 08 de fevereiro de 2022. O pedido de patente refere-se a uma estrutura para proteção e isolamento de portadores de doenças transmissíveis que compreende uma estrutura que provê proteção física entre um paciente infectado e o ambiente, possibilitando realizar com segurança ocupacional tanto ventilação não invasiva como oxigenoterapia de alto fluxo, assim como a segurança no isolamento de pacientes infectados que estão em ventilação mecânica e transporte dentro do ambiente hospitalar, incluindo uma armação autoclavável instalada no leito, uma cobertura plástica transparente que cobre a totalidade do leito até o chão, apresentando uma faixa elástica que circunda e comprime dita cobertura na lateral do leito e um circuito descartável que inclui uma tubulação e um filtro de micropartícula para sucção do ar do ambiente biocontido para o ambiente externo, dito filtro conectado ao sistema de vácuo pré-existente na unidade hospitalar ou é conectado a uma bomba com pressão de sucção de 40 l/min. O pedido de patente está pendente de decisão, aguardando o início do exame técnico no INPI.
O pedido de patente de invenção n° BR 102020014113-9 da empresa brasileira FUNDAÇÃO UNIVERSIDADE FEDERAL DE SÃO CARLOS foi publicado em 18 de janeiro de 2022. O pedido de patente refere-se a um sistema compacto, portátil e inteligente, objetivando o monitoramento da pressão do interior de balonetes endotraqueais em pacientes submetidos a intubação endotraqueal, o qual é constituído por três subsistemas, podendo os mesmos serem fornecidos em sua totalidade em pares, ou unitariamente descritos por: 1) Módulo portátil de aquisição, armazenamento e transmissão de dados; 2) Sistema central inteligente (servidor) para recebimento, armazenamento e processamento de dados; 3) Interfaces homem-máquina (IHM – clientes). O sistema proposto pode propiciar tanto o monitoramento local quanto remoto (a distância) da pressão de cuff, seja de forma contínua ou periódica. Em muitos pacientes com deficiência respiratória o uso de respiradores mecânicos invasivos se faz necessário para a estabilização do paciente e a manutenção de uma ventilação pulmonar adequada, sendo necessário a introdução de uma prótese traqueal artificial que possui um (ou mais) balonete na parte distal (comumente denominado “cuff”) para manter uma vedação entre o tubo do respirador mecânico invasivo e a traqueia, evitando assim retorno (escape) de ar direcionado as vias respiratórias. A manutenção da pressão de cuff adequada visa a correta vedação do sistema de intubação, para que não haja vazamento de aerossóis para o meio externo reduzindo a chance de contaminação dos profissionais envolvidos; a correta vedação também é necessária para o controle da pressão exercida na mucosa traqueal, evitando isquemia e estenose traqueal tardia, condições de extrema morbidade aos pacientes.. O pedido de patente está pendente de decisão, aguardando o início do exame técnico no INPI.

O pedido de patente de invenção n° BR 112021023776-3 da empresa americana BECTON, DICKINSON AND COMPANY foi publicado em 11 de janeiro de 2022. O pedido de patente refere-se a um dispositivo para acoplar um dispositivo de acesso vascular a um dispositivo médico pode incluir um corpo, uma mola e um alojamento. O corpo pode incluir uma extremidade distal, uma extremidade proximal, e um lúmen estendendo-se pela extremidade distal e a extremidade proximal. A extremidade proximal do corpo pode incluir um conector. O alojamento pode ser acoplado a uma extremidade proximal da mola e pode encerrar o conector. Uma extremidade distal da mola pode ser acoplada ao corpo. O alojamento pode incluir uma aba, a que pode incluir um composto antimicrobiano. Quando o alojamento é disposto em uma posição proximal, a aba pode encobrir o conector, o composto antimicrobiano pode fazer contato com o conector, e a mola pode ser descomprimida. Em resposta ao movimento do alojamento da posição proximal para uma posição distal, a mola pode ser comprimida e a aba pode abrir-se. O pedido de patente está pendente de decisão, aguardando o início do exame técnico no INPI.
O pedido de patente de invenção n° BR 102020013084-6 da empresa brasileira MANTEC AR CONDICIONADO LTDA foi publicado em 11 de janeiro de 2022. O pedido de patente refere-se a um sistema com lâmpada UVC, cuja função é realizar a descontaminação de ambientes de forma segura para o usuário; é composto por: uma luminária (3), contendo na parte central uma lâmpada (1) em UVC e na parte frontal um sensor de presença (2), na parte interna da luminária (3) contém um dispositivo de automação (4.1), com a função de programação do tempo de utilização da lâmpada (1); um suporte para lâmpada (4.2); um reator (4.3) de lâmpada fluorescente e o controlador (4.4) responsável por controlar o sensor de presença, o sistema contém também um controle remoto para o acionamento seguro e a distância da luminária (3); a luminária (3) será utilizada através do sensor de presença (2) que impede a mesma de ligar a lâmpada (1) quando acionada, após o afastamento do usuário o sistema aguardará alguns segundos para liberar o funcionamento da mesma, caso alguém se aproxime novamente o sensor (2) desligará a lâmpada para minimizar a exposição desnecessária a luz UVC. O pedido de patente está pendente de decisão, aguardando o início do exame técnico no INPI.

O pedido de patente de invenção n° BR 102020012759-4 da empresa brasileira ROBERT BOSCH LIMITADA foi publicado em 04 de janeiro de 2022. O pedido de patente refere-se um dispositivo para medição de temperatura em aplicações em que é necessária a medição da temperatura corporal na entrada ou na saída de ambientes controlados, fábricas, supermercados, aeronaves, ou outros ambientes onde haver uma possível concentração de pessoas, de modo a evitar a presença de uma pessoa exclusivamente para manipular o dispositivo, e onde não seja necessário o toque manual do usuário para posicionar o dispositivo antes de aferir a temperatura, para permitir a medição da temperatura corporal de pessoas de quaisquer estaturas, de forma universal e inteiramente autônoma. O pedido de patente está pendente de decisão, aguardando o início do exame técnico no INPI.
O pedido de patente de invenção n° BR 112019016136-8 da empresa chinesa SHENZHEN UVLED OPTICAL TECHNOLOGY CO., LTD foi publicado em 28 de dezembro de 2021. O pedido de patente refere-se a um método de identificação, um método de armazenamento asséptico em temperatura constante e um recipiente de esterilização, e refere-se ao campo técnico da esterilização. O método de identificação mantém o artigo esterilizado a uma temperatura constante pré-ajustada após a esterilização acabar, e utiliza a temperatura do artigo esterilizado para identificar se o artigo esterilizado é esterilizado. O método de armazenamento asséptico em temperatura constante é para controlar o dispositivo de iluminação e o duto de ar de aquecimento do recipiente de esterilização para funcionar em uma operação em baixa potência, e liberar continuamente uma pequena quantidade de luz ultravioleta e uma pequena quantidade de ar quente para a cavidade de armazenamento do artigo do recipiente de esterilização de modo a manter o artigo esterilizado a uma temperatura constante pré-ajustada e condição asséptica. O recipiente de esterilização é capaz de realizar o método de identificação e o método de esterilização em temperatura constante. O pedido de patente está pendente de decisão, aguardando o início do exame técnico no INPI.
O pedido de patente de invenção n° BR 102020011127-2 da empresa brasileira OPEMA COZINHAS PROFISSIONAIS INDÚSTRIA E COMÉRCIO LTDA foi publicado em 14 de dezembro de 2021. O pedido de patente refere-se a um esterilizador de objetos, pertencente ao setor técnico dos equipamentos de esterilização, destinado a esterilizar pequenos objetos, tais como: objetos de uso pessoal, embalagens contendo produtos, produtos, instrumentos e outros, dito esterilizador destinado a ser usado em locais diversos; em uma possibilidade de realização dito esterilizador (1) é uma câmara de esterilização, compreendida: por carcaça; e por lâmpadas de esterilização de irradiação UV e ozônio; e opcional e adicionalmente, por dispositivo aquecedor por ventilação forçada que aquece a 700C, instalados dentro da carcaça; em outra possibilidade de realização, o esterilizador (1) é um túnel de esterilização, formado: por túnel de esterilização propriamente dito; e por esteira transportadora na qual o túnel fica montado; dito túnel de esterilização alojando em seus cantos superiores respectivas lâmpadas de irradiação ultravioleta UV e ozônio; e a esteira sendo própria do esterilizador (1) ou sendo uma esteira já instalada em um local e na qual é instalado o túnel esterilizador. O pedido de patente está pendente de decisão, aguardando o início do exame técnico no INPI.

O pedido de patente de invenção n° BR 102020011192-2 do brasileiro LUIS REGINALDO GOULART foi publicado em 14 de dezembro de 2021. O pedido de patente refere-se equipamento para desinfecção de aeronaves em solo com conversor de energia. A presente solicitação de patente de invenção de um equipamento para desinfecção de aeronaves em solo (ADU – Aircraft Disinfection Unit) com conversor de energia, cujo campo de aplicação se volta ao segmento da aviação, a partir da associação de ensinamentos nas áreas de engenharia mecânica e eletroeletrônica, com foco na área aeronáutica. O pedido de patente de invenção inclui duas possibilidades de acessos de pontos de conexão elétrica, particularmente uma tomada steck – 220V / 60Hz e uma tomada aeronáutica –200V / 400Hz, sendo estes pontos de conexão elétrica projetados para uma caixa elétrica interna ao gabinete; compreende um conjunto de movimentação de ar (4) e dispositivo de desinfecção (4’) por ionização que se acopla à mangueira (M) a ser conectada na aeronave a ser desinfetada; o sistema elétrico atua como conversor de energia necessária ao equipamento. Com tal equipamento se consegue um processo de ionização bipolar aplicado com eficiência na desinfecção do interior de aeronaves no solo. O pedido de patente está pendente de decisão, aguardando o início do exame técnico no INPI.

O pedido de patente de invenção n° BR 102021009899-6 da empresa americana MEDICAL ILLUMINATION INTERNATIONAL INC. foi publicado em 07 de dezembro de 2021. O pedido de patente refere-se a um sistema de desinfecção de ar e de superfície que compreende uma luminária desinfetante contendo: a) um corpo; b) uma ventoinha; c) uma primeira fonte de irradiação colocada no interior do corpo, sendo que a fonte de irradiação no interior do corpo é configurada para desinfetar o ar forçado para dentro do corpo pela ventoinha; d) um conduto para o movimento de ar do exterior do corpo para o interior do corpo, para a irradiação com a primeira fonte de irradiação, e para o movimento de ar no exterior do corpo, após a irradiação com a primeira fonte de irradiação; e e) uma segunda irradiação configurada para irradiar ar e/ou superfícies no exterior do corpo; em que o ar se move, com uma força gerada pela ventoinha, do exterior da luminária para o interior da luminária, para a irradiação com a primeira fonte de irradiação, e sai da luminária, e em que o ar no exterior da luminária e/ou superfícies abaixo da luminária são irradiados com a segunda fonte ou fontes de irradiação. Fornece-se um método para luz desinfetante compreendendo: a) criar um fluxo do exterior para o interior e, depois, para o exterior de uma luminária com uma ventoinha ou ventoinhas; b) irradiar o ar movido no interior do corpo; c) mover o ar irradiado para o exterior, com o fluxo de ar; e d) irradiar ar e/ou superfícies no exterior da luminária com uma segunda fonte ou fontes de irradiação colocada no exterior do corpo. O pedido de patente está pendente de decisão, aguardando o início do exame técnico no INPI.
O pedido de patente de invenção n° BR 102020010051-3 do brasileiro FERNANDO ANTÔNIO PORTELA DA CUNHA (BR/PB) foi publicado em 30 de novembro de 2021. O pedido de patente refere-se a uma câmara de esterilização ativa utilizando radiação UV (ultra-violeta) para máscaras respiradoras. A Câmara de Esterilização Ativa promove a esterilização e desinfecção dos filtros presentes nas máscaras respiradoras, reduzindo ao máximo o risco de contaminação através da respiração, para aqueles que utilizarem este EPI. A esterilização é promovida pela radiação UV emitida por um pequeno LED smd, estrategicamente posicionado dentro da câmara, para focar a radiação UV sobre o filtro da máscara. As máscaras devem ser dotadas de duas Câmara de Esterilização Ativa, uma para entrada do ar e outra para a saída. Com este EPI, os profissionais da saúde poderão exercer seu ofício com maior segurança. Além dos profissionais da saúde, as máscaras respiradoras dotadas da dita Câmara de Esterilização Ativa, poderá ser usada por qualquer cidadão, tendo em vista a simplicidade do projeto que resultará em um equipamento de baixo custo. Este fato se torna de grande importância no caso de pandemias. O pedido de patente está pendente de decisão, aguardando o início do exame técnico no INPI.
O pedido de patente de invenção n° BR 112021023049-1 da empresa americana IMPEL NEUROPHARMA, INC. foi publicado em 28 de dezembro de 2021. O pedido de patente refere-se a um dispositivo de dispensação nasal de uso único. As modalidades se referem a um dispositivo de uso único para dispensação de medicação em uma cavidade nasal. Em uma modalidade, o dispositivo inclui um reservatório propulsor que contém um propulsor capaz de propulsionar o composto à cavidade nasal. O reservatório propulsor é deslocável entre uma posição desativada e uma posição ativada dentro do dispositivo. O dispositivo ainda inclui um elemento de ativação com uma alavanca de ativação configurada para deslocar o reservatório propulsor da posição desativada para a posição ativada. O dispositivo também inclui um elemento de punção posicionado para puncionar o reservatório propulsor, o que causa a liberação do propulsor do reservatório propulsor. O dispositivo ainda inclui uma câmara que retém dose que contém uma dose de unidade do composto. A câmara que retém dose é posicionada de modo que o propulsor flua na câmara que retém dose e faça com que o composto seja propulsionado da câmara que retém dose à cavidade nasal do usuário. O pedido de patente está pendente de decisão, aguardando o início do exame técnico no INPI.
O pedido de patente de invenção n° BR 112021023049-1 da empresa americana IMPEL NEUROPHARMA, INC. foi publicado em 28 de dezembro de 2021. O pedido de patente refere-se a um dispositivo de uso único para dispensação de medicação em uma cavidade nasal. Em uma modalidade, o dispositivo inclui um reservatório propulsor que contém um propulsor capaz de propulsionar o composto à cavidade nasal. O reservatório propulsor é deslocável entre uma posição desativada e uma posição ativada dentro do dispositivo. O dispositivo ainda inclui um elemento de ativação com uma alavanca de ativação configurada para deslocar o reservatório propulsor da posição desativada para a posição ativada. O dispositivo também inclui um elemento de punção posicionado para puncionar o reservatório propulsor, o que causa a liberação do propulsor do reservatório propulsor. O dispositivo ainda inclui uma câmara que retém dose que contém uma dose de unidade do composto. A câmara que retém dose é posicionada de modo que o propulsor flua na câmara que retém dose e faça com que o composto seja propulsionado da câmara que retém dose à cavidade nasal do usuário. O pedido de patente está pendente de decisão, aguardando o início do exame técnico no INPI.

O pedido de patente de invenção n° BR 112021022188-3 da polonesa ANNA PAELUSZEK foi publicado em 21 de dezembro de 2021. O pedido de patente refere-se a um dispositivo dispensador (100) que compreende um reservatório (4) para uma substância líquida ou semilíquida a ser dispensada e um mecanismo de bombeamento (5) para dispensar a substância. O dispositivo é caracterizado pelo fato de que inclui um alojamento (1), no qual um corpo superior (2) e um corpo inferior (3) estão localizados, em que um reservatório deformável (4) está localizado no ou ao redor do corpo inferior (3) e o mecanismo de bombeamento (5) está localizado no corpo superior (2). Uma válvula de abastecimento (6) e uma válvula de dispensação (8) estão localizadas no corpo inferior (3), e a válvula de abastecimento (6) é conectada por meio de um canal inferior (7) ao reservatório (4), e uma válvula de dispensação (8) é conectada por meio de um canal superior (9) ao mecanismo de bombeamento (5). O pedido de patente está pendente de decisão, aguardando o início do exame técnico no INPI.
O pedido de patente de invenção n° BR 112021020768-6 da empresa americana INTERVENTION FOR LIFE, LLC foi publicado em 14 de dezembro de 2021. O pedido de patente refere-se a um conjunto de proteção de radiação configurado para bloquear a radiação que emana de uma fonte de radiação de atingir um usuário. Duas proteções são suportadas por um braço de suporte e são configuradas para girar e transladar em relação uma à outra em torno do eixo longitudinal do braço de suporte. Isso permite que a proteção seja facilmente configurada e reconfigurada conforme necessário para visualizar várias partes do corpo de um paciente por meio de radiografia. Coberturas esterilizadas são fornecidas para garantir assepsia durante um procedimento cirúrgico. O pedido de patente está pendente de decisão, aguardando o início do exame técnico no INPI.
O pedido de patente de invenção n° BR 102020010990-1 da empresa brasileira TOPEMA COZINHAS PROFISSIONAIS INDÚSTRIA E COMÉRCIO LTDA foi publicado em 14 de dezembro de 2021. O pedido de patente refere-se a um esterilizador de ambientes, pertencente ao setor técnico dos equipamentos de esterilização, compreendido por uma versão de sobrepor em uma mesa ou outros compreendida por estrutura suporte constituída por uma caixa prismática ou uma versão de apoiar no chão com estrutura suporte em forma de coluna com base, puxador e rodízios; ou em forma de coluna oca com base; puxador e rodízios; por lâmpada(s) germicida(s) de irradiação ultravioleta e ozônio fixa(s) montada(s) na parede superior da caixa ou em faces da coluna; ou lâmpadas de irradiação ultravioleta e ozônio móveis escamoteáveis dispostas na coluna; e por circuito eletroeletrônico alojado dentro da caixa ou das bases ou e formado, entre outros: por chave temporizadora que conta tempo de acionamento de até 60 minutos, após os quais desliga automaticamente o esterilizador; por botão liga/desliga; por sensor de presença, que faz o sensoriamento da porta do ambiente no qual funciona o esterilizador; e por conjunto de alimentação elétrica. O pedido de patente está pendente de decisão, aguardando o início do exame técnico no INPI.

Patente deferida – outros equipamentos
O pedido de patente BR 102020010672-4 da FUNDAÇÃO EDUCACIONAL SEVERINO SOMBRA (BR/RJ), foi deferido em 26 de outubro de 2021. O pedido de patente, que aguarda a emissão da carta patente, refere-se a um kit composto por dois dispositivos de barreira para tubo endotraqueal com tampa vedante acoplado à clamp para uso em procedimentos de manejo avançado das vias aéreas. O kit é útil para vedação dos tubos e/ou sondas e/ou cateteres endotraqueais para gases, aerossóis, gotículas e secreções de pacientes. O referido kit é formado pelos seguintes componentes: dispositivo de vedação (1) e clamp oclusor (2).

O pedido de patente BR 102020010670-8, da FUNDAÇÃO EDUCACIONAL SEVERINO SOMBRA (BR/RJ), foi deferido em 27 de julho 2021. O pedido de patente se refere a um dispositivo médico com aplicabilidade na emergência, terapia intensiva, bem como na prevenção da extubação não planejada em pacientes com covid-19. A pedido de patente se refere um suporte e fixação de tubos orotraqueais, sondas nasogástricas, sondas enterais e balão de Sengstaken-Blakemore possuindo tracionador regulável por molas. Conforme relatório descritivo da patente, o dispositivo favorece a fixação de tubos endotraqueais de forma efetiva e segura, que permite a mobilidade do paciente, além de diminuição dos riscos de contaminação da equipe médica.

Notificação de parecer (em exame técnico) - outros equipamentos
Em 16 de novembro de 2021, o pedido de patente de invenção n° BR102020013254-7 dos brasileiros JOSÉ JEOVÁ SIEBRA MOREIRA NETO (BR/CE) ; RENATO LUIZ MAIA NOGUEIRA (BR/CE) ; MOACIR TAVARES MARTINS FILHO (BR/CE) ; RICARDO TEIXEIRA ABREU (BR/CE), que se encontra em fase de exame técnico no INPI, recebeu uma notificação de parecer de exigência técnica. Em 16 de março de 2021 foi admitido o trâmite prioritário do mesmo. O pedido refere-se a um escudo protetor para procedimentos de saúde, com sistema de deslocamento radial, e troca de ar. O pedido de patente de invenção está pendente de decisão.

Em 08 de setembro de 2021, o pedido de patente de invenção n° BR102020024049-8 das empresas brasileiras SKA DESENVOLVIMENTO E LICENCIAMENTO DE SISTEMAS LTDA (BR/RS) e HOSPITAL NOSSA SENHORA DA CONCEIÇÃO S.A (BR/RS), que se encontra em fase de exame técnico no INPI, recebeu uma notificação de parecer de exigência técnica. Em 16 de março de 2021 foi admitido o trâmite prioritário do mesmo. O pedido refere-se a um sistema de instalação e aerocâmara para aerossóis com porta para sistema fechado de aspiração para pacientes submetidos à ventilação artificial. O pedido de patente de invenção está pendente de decisão.

Pedido de patente publicado – outros equipamentos
O pedido de patente de invenção n° BR 102021009933-0 da empresa americana HCL AMERICA, INC foi publicado em 30 de novembro de 2021. O pedido de patente refere-se a sistemas e dispositivos de sanitização de aeronave. O sistema de sanitização da aeronave inclui um quadro e uma bandeja operativamente acoplada a pelo menos os dois primeiros cantos do quadro e é rotativa em torno de um eixo de articulação. A bandeja é configurada para estar em um estado travado e um estado destravado com base na rotação em torno do eixo de articulação. No estado destravado, a bandeja está em um ângulo maior que zero em relação ao quadro e, no estado travado, a bandeja está em um ângulo igual a zero em relação ao quadro. O sistema de sanitização de aeronave inclui ainda um conjunto de Diodos Emissores de Luz (LEDs) Ultravioleta (UV) anexado em uma superfície exposta do quadro, em que o conjunto de LEDs UV é configurado para sanitizar a bandeja quando a bandeja está no estado travado. O pedido de patente está pendente de decisão, aguardando o início do exame técnico no INPI.
O pedido de patente de invenção n° BR 102020009931-0 da empresa brasileira ACF CONSULTORIA EIRELI – EPP foi publicado em 30 de novembro de 2021. O pedido de patente refere-se a um dispositivo modular de esterilização eletromagnética com aplicação personalizável, como enseja a sua denominação, destinado à descontaminação de produtos por ultravioleta compreendendo uma topologia de conversor eletroeletrônico com um ou vários reatores, alimentado por uma fonte de alimentação CC ou CA com qualquer número de fases, construída com uma ou múltiplas lâmpadas germicidas UV-C ou Far-UV-C, caracterizadas por existirem múltiplos módulos compostos por uma ou mais lâmpadas conectadas ao conversor eletroeletrônico por meio de fios móveis. Um dos objetivos do pedido de patente reside em prover um dispositivo modular de esterilização eletromagnética, facilmente transportável, capaz de permitir diferentes posições das lâmpadas ultravioleta e garantir a efetiva descontaminação de ambientes e objetos de naturezas diversas, por meio de um processo automático e seguro. O pedido de patente está pendente de decisão, aguardando o início do exame técnico no INPI.


O pedido de patente de invenção n° BR 102020010561-2 dos brasileiros CRISTIANO GONÇALVES PONTE (BR/RJ), CLEISON ANTONIO DE SOUZA BARRETO, ANA PAULA SALERNO, LUIZ ANTONIO OLIVEIRA DA SILVA, LEONARDO FRAJHOF, BERNARDO SENNA MARQUES DA SILVA, EDUARDO GOMES BARONI , FLÁVIO FERNANDES MENDES DA COSTA foi publicado em 30 de novembro de 2021. O pedido refere-se a um sistema de proteção para equipes de saúde contra infecções respiratórias. O sistema de isolamento melhora a segurança das equipes de saúde e permite a realização das diversas terapias essenciais para o tratamento de pacientes acometidos pela COVID-19. É uma caixa em acrílico com medidas confortáveis a ponto de cobrir o tórax e a cabeça do paciente e isolá-lo do ambiente evitando que a liberação de aerossóis possa entrar em contato com a equipe de saúde. Para redução da carga de contaminação, temos filtros do tipo HEPA biológicos (que retém micro-organismos como os vírus) acoplados e uma turbina que faz a sucção de ar do interior da caixa pelos filtros, fazendo assim retenção das partículas virais e limpeza do ambiente dentro da caixa onde está o paciente infectado. Agregamos à caixa uma barreira física que isola o paciente, um sistema que limpa o ar contaminado dentro da caixa onde está o paciente. Vários testes da dinâmica do fluxo do ar, pressão gerada no interior da caixa níveis de ruído e conforto do usuário foram avaliados. O pedido de patente está pendente de decisão, aguardando o início do exame técnico no INPI.

O pedido de patente de invenção n° BR 102020009587-0 do brasileiro ADRIANO JOSÉ NOGUEIRA (BR/SP) foi publicado em 23 de novembro de 2021. O pedido de patente refere-se a um protetor facial (1) composto por uma viseira (2) e uma cinta (3) ajustável, obtidas em lâmina e equipamento de corte únicos, em que a montagem se dá pela inserção da extremidade recartilhada (8) ou a extremidade denteada (10) através do entalhe direito (6) e do entalhe esquerdo (7) da viseira (2). O pedido de patente está pendente de decisão, aguardando o início do exame técnico no INPI.

O pedido de patente de invenção n° BR 102020009550-1 da empresa brasileira BIOLAMBDA, CIENTIFICA E COMERCIAL LTDA foi publicado em 23 de novembro de 2021. O pedido de patente refere-se a um método e um aparelho (10) que utilizam radiação ultravioleta para desinfetar máscaras de proteção respiratória (9), inativando vírus, bactérias fungos e parasitas. O aparelho (10) compreende um motor rotatório (7) que gira pelo menos uma máscara (9) aberta de modo a permitir que uma única fonte luminosa irradie igualmente as superfícies interna e externa da máscara (9). O método revela o uso do referido aparelho (10) para entregar a pelo menos uma máscara (9) uma dose de radiação entre 0,1 e 10 J/cm2 de UV-C distribuída de maneira igual pelas superfícies interna e externa. O pedido de patente está pendente de decisão, aguardando o início do exame técnico no INPI.

O pedido de patente de invenção n° BR 112021017269-6 da empresa americana ECOLAB USA INC. foi publicado em 09 de novembro de 2021. O pedido refere-se a uma matriz de iluminação que inclui um ou mais segmentos de luz antimicrobiana configurados para emitir luz suficiente para inativar um ou mais microrganismos em uma superfície alvo que pode ser instalada dentro de zonas de contaminação identificadas de equipamento ou maquinário de preparação, processamento, armazenamento ou embalagem de alimentos ou bebidas. Em uma máquina de gelo, por exemplo, um controlador de matriz é configurado para comunicação com um controlador de máquina de gelo para receber sinais de informação de status da máquina de gelo. Os sinais de informações de status podem ser usados pelo controlador de matriz para determinar o ciclo, estado e/ou informações de uso associadas à máquina de gelo. O controlador de matriz pode controlar individualmente a ativação de um ou mais segmentos de luz antimicrobiana com base nos sinais de informações de status recebidos do controlador de máquina para obter a inativação de um ou mais microrganismos nas superfícies alvos dentro da máquina. O pedido de patente de invenção está pendente de decisão, estando em fase de exame técnico no INPI.

O pedido de patente de invenção n° BR 102020008644-8 da empresa brasileira 3 MORENAS DO BRASIL INDÚSTRIA E COMÉRCIO LTDA foi publicado em 09 de novembro de 2021. O pedido de patente refere-se à obtenção de toalhas umedecidas contendo álcool desinfetante, álcool 70° INPM (70% p/p) ou 77 °GL (77% v/v), disponibilizadas em uma embalagem de filme de polietileno selável para lacre de pote visando à higienização pessoal, de superfícies e objetos para prevenção de contaminação e propagação de doenças infecciosas, tais como o COVID-19. De modo específico, trata-se de um produto composto por toalhas de gramatura superior a 35 gramas e a ela incorporada uma solução de álcool etílico hidratado 70° INPM e cloreto de benzalcônio, um antisséptico e um agente de tensão superficial que evita evaporação precoce do álcool tornando o produto um potencial desinfetante para prevenção de contaminação de doenças infecciosas causadas por fungos, vírus e bactérias. A sua forma de apresentação em embalagens plásticas permite fácil manuseio, estando sempre à mão do usuário. O pedido de patente está pendente de decisão, aguardando o início do exame técnico no INPI.
O pedido de patente de invenção n° BR 102020008277-9 do brasileiro MARCELO LINHARES GATTI foi publicado em 03 de novembro de 2021. O pedido de patente refere-se a um método para combate a vírus, bactérias e fungos que afetam o sistema respiratório, como, por exemplo, o coronavírus causador da covid-19. O pedido de patente compreende combater os patógenos através do aquecimento do ar que o paciente irá respirar, fazendo com que a temperatura do ar que chegue aos pulmões seja bem elevada. O ar poderá ser aquecido nos respiradores mecânicos ou nos nebulizadores e poderá ser acrescentada ao ar alguma substância para evitar queimaduras ou ressecamento nos tecidos do paciente ou mesmo algum medicamento para ajudar no tratamento. Ao mesmo tempo em que o paciente respira o ar quente, ele será submetido a uma série de medidas que visam evitar que a temperatura interna de seu corpo e de outros órgãos se eleve. Entre essas medidas de resfriamento da temperatura interna, por exemplo, resfriar o paciente com água (externa ou internamente) e/ou manter o paciente em lugar seco para favorecer a transpiração. Com a inspiração de ar quente espera-se matar os patógenos e com os processos de resfriamento espera-se manter a temperatura interna do paciente em nível suportável. O pedido de patente está pendente de decisão, aguardando o início do exame técnico no INPI.

Modelo de utilidade – outros equipamentos
O pedido de patente de modelo de utilidade n° BR102020015108-8 do brasileiro MAURICIO CORTEZ PARDO foi publicado em 08 de fevereiro de 2022. O pedido de patente refere-se a um meio de transporte seguro de álcool líquido, álcool gel e outros, visando o transporte seguro, prático e de fácil alcance, para a higienização das mãos, superfícies e, podendo ter personalização de logomarca, uma concessionária de veículos, um show, um evento. O pedido de patente está pendente de decisão, aguardando o início do exame técnico no INPI.
O pedido de patente de modelo de utilidade n° BR102020007636-1 do brasileiro WELLINGTON SAAD foi publicado em 08 de fevereiro de 2022. A presente patente de invenção diz respeito a um dispositivo eletro-eletrônico para tratamento e cura da COVID-19 e outras doenças semelhantes, através da eliminação de forma não-ortodoxa do agente infeccioso Coronavírus ou similares, sem o uso de drogas, produtos químicos ou bioquímicos, com aplicação de uma pequena corrente elétrica contínua, alternada ou pulsante, no indivíduo hospedeiro, e por determinado período de tempo, de forma totalmente inofensiva e sem efeitos colaterais danosos ao hospedeiro da doença. O pedido de patente está pendente de decisão, aguardando o início do exame técnico no INPI.
O pedido de patente de modelo de utilidade n° BR102020015383-8 da UNIVERSIDADE FEDERAL DE SANTA CATARINA (BR/SC) e do INSTITUTO FEDERAL DE EDUCAÇÃO, CIÊNCIA E TECNOLOGIA DE SANTA CATARINA foi publicado em 08 de fevereiro de 2022. O pedido de patente de modelo de utilidade refere-se a um sistema de controle de vazão de gases para ventilador pulmonar. O sistema utiliza bicos injetores para controlar a vazão de gases (Ar e O2) em ventiladores pulmonares para uso em terapias intensivas ou de emergência em humanos ou uso veterinário. Para isso, revela-se um sistema composto por dois conjuntos para o Ar e O2, respectivamente, formados cada um por pelo menos um bico injetor (1) interligado opcionalmente por canalização (2) a atenuador de oscilação de vazão formado por uma mangueira de silicone ou outro material elástico (3) unido a restrição para perda de carga (4); por conseguinte, conecta-se a placa de orifício (5) com sensor de pressão diferencial (6), ou outro dispositivo de medidor de vazão, e esses conjuntos são unidos e conectados opcionalmente a válvula de alívio de pressão (8) em conexão com a traqueia (9), que está interligada opcionalmente a um filtro HEPA (11), que é unido a pelo menos uma válvula (7), que está conectada a placa de orifício (5) com sensor de pressão diferencial (6), ou outro dispositivo de medidor de vazão; a dita traqueia (9) é acoplada a um filtro HEMF (HEPA + Umidificador) (10) e compreende-se ainda, de sensores de pressão relativa (12) nos bicos injetores (1) e entre a ligação do filtro HEPA (11) e a válvula expiratória (7). O pedido de patente está pendente de decisão, aguardando o início do exame técnico no INPI.

O pedido de patente de modelo de utilidade n° BR 202020013662-9 do brasileiro RONALDO LUMERTZ (BR/RS) foi publicado em 18 de janeiro de 2022. O pedido de patente refere-se a um capacho modular dotado de uma moldura periférica rígida ou semirrígida (10) que envolve uma área central com textura (20) adequada para a limpeza do solado de calçados, dita moldura (10) que apresenta em pelo menos uma das faces retas da moldura periférica (10) a projeção de abas (101) alinhadas com a face superior (11) e pelo menos uma segunda face reta da moldura periférica (10) apresentando na base (12) um recorte com abertura inferior e frontal (103) dotado de um ressalto (104) que se projeta ortogonal a partir da porção superior do dito recorte (103) e se estendendo à proximidade da base do recorte (103), permitindo o encaixe de capachos modulares adjacentes. O pedido de patente está pendente de decisão, aguardando o início do exame técnico no INPI.


O pedido de patente de modelo de utilidade n° BR 202020013969-5 da empresa brasileira TON VISUAL COMUNICAÇÃO LTDA - EPP foi publicado em 18 de janeiro de 2022. O pedido de patente refere-se a bandeja de restaurantes e estabelecimentos similares, adaptada com protetor antivírus. Para proteção contra contaminações por partículas nocivas suspensas no ar, em ambientes de restaurantes e similares, quando as pessoas (garçons, atendentes e clientes em trânsito), transportam bandejas com pratos de serviço, talheres, copos e garrafas. Para tanto, a partir da borda frontal ou borda oposta à borda de pega da bandeja (1), a mesma sofre, por projeto de molde, entre os vértices semicirculares (1a) delimitadores da face superior de sua borda frontal (1b), sulcos (1c) alternados à trechos lisos (1d), coincidentes à borda inferior (2b) de um protetor (2) de acrílico, que alterna, entre os vértices semicirculares (2a), reentrâncias (2c) e ressaltos (2d). O protetor (2) é encaixado em ação axial no sentido vertical, nos sulcos (1c) e assentado nos trechos lisos (1d) da face lisa superior da borda frontal (1b) da bandeja (1), posicionando-se verticalmente na bandeja (1). O sulco da borda frontal (1b) da bandeja (1) entre os vértices semicirculares (1a) pode ser um sulco contínuo (1e) coincidente à borda inferior (2b), também contínua (2e) do protetor (2), o qual, igualmente, após o encaixe em ação axial, é posicionado também verticalmente na borda frontal (1a) da bandeja (1). O pedido de patente está pendente de decisão, aguardando o início do exame técnico no INPI.

O pedido de patente de modelo de utilidade n° BR 202020014095-2 do brasileiro GABRIEL ZOSCHKE COSTA (BR/PR) foi publicado em 18 de janeiro de 2022. O pedido de patente refere-se a um Dispositivo Eletromecânico para Sanitização de Calçados (1) na área de sanitização de artigos de uso pessoal, especificamente solas de calçados, visando diminuir ou eliminar efeitos de possível contaminação de vírus e bactérias dentre outros, sendo o mesmo caracterizado por ser constituído por estrutura formada por chapa de aço SAE 1020 ou aço inox, a qual constitui uma base (3) retangular, capacho ou tapete (2), receptáculo (4) e sensores de contato dispostos sob o tapete (2), bem como os seguintes componentes, (não mostrados), dispostos no interior do receptáculo (4), sendo eles: uma bomba, um reservatório, um interruptor e uma placa de circuito integrado inteligente, que dispõe de software Arduino que realiza a programação e regula a liberação do produto no capacho (2), bem como sensores de nível que controlam o estoque. O equipamento dispõe de dosagem automática, a qual mantém o tapete umedecido com o composto sanitizante sem a necessidade de intervenção manual de terceiros, isso garante que o nível do produto sempre esteja sempre no nível ideal para sanitização. O pedido de patente está pendente de decisão, aguardando o início do exame técnico no INPI.
O pedido de patente de modelo de utilidade n° BR 202020013880-0 da empresa brasileira VALEO CLIMATIZAÇÃO DO BRASIL - VEICULOS COMERCIAIS S/A foi publicado em 18 de janeiro de 2022. O pedido de patente refere-se a uma disposição construtiva aplicada em aparelhos de ar condicionado para meios de transporte coletivo e de carga compreendendo uma estrutura em alumínio com sistema de fixação anti-vibração que suporta lâmpadas UV livre de ozônio, envolvidas em tubos de cristal de quartzo fixadas de forma alinhadas no interior do evaporador, entre os ventiladores e a serpentina. Os ventiladores aspiram o ar do interior do veículo forçando que este ar seja exposto a atuação drástica e obrigatória dos raios UV das lâmpadas auxiliando na desinfecção e sanitização do ar permitindo esterilizar acima de 99% do fungos, vírus e bactérias presentes no interior do equipamento e atuando de forma similar com relação aos microrganismos presentes no ar que passa pelo sistema. Na sequência, o ar é aspirado do compartimento de passageiros, passa pelas serpentinas para receber o tratamento térmico adequado, após a passagem pelo sistema de climatização este ar flui através do sistema onde recebe o tratamento com radiação UV, sendo posteriormente insuflado para o interior do ônibus. Como forma de evitar a exposição dos operadores de manutenção o sistema proposto é provido de interruptores ligados em série são instalados um em cada lado do equipamento (duas micro chaves) em contato com a tampa de acesso aos componentes internos do ar-condicionado, a tampa sendo aberta desarma essa chave desligando por completo o sistema de ar condicionado, evitando a exposição do operador de manutenção aos raios UV emitidos pelas lâmpadas. O pedido de patente está pendente de decisão, aguardando o início do exame técnico no INPI.
O pedido de patente de modelo de utilidade n° BR 202020015838-0 do brasileiro ALFREDO NICOLETE foi publicado em 15 de fevereiro de 2022. O pedido de patente refere-se a um painel de gases medicinais, que visa auxiliar no combate contra a covid-19, distribuindo somente: oxigênio, ar comprimido ou a mistura de ambos, caso se opte pelo uso do gás hélio em substituição ao ar comprimido distribuirá oxigênio, ou, a mistura de ambos mantendo-se as devidas proporções neste caso o Heliox (oxigênio + hélio); caracterizado pelo fato de apresentar alarme sonoro que indica imediatamente a abertura das tampas dos painéis (principal e elétrico), desenvolvido para atender 5 pacientes simultaneamente sendo um por entubamento e demais em atendimento a conjuntos micronebulizadores, apresenta led sinalizador da escolha do gás que está alimentando cada fluxômetro, apresenta sinalizadores que indicam danos ocorridos na fonte de alimentação, leds externos na tampa frontal do painel principal indicando energização das válvulas direcionais, sinalizadores luminosos de fluxo de gás de alimentação, apresenta nobreak que em caso de queda de energia mantem o painel por 40 minutos em operação/estabilização, apresenta instrumentos de controle de vazão, pressão, ajuste e tempo, montado sobre carrinho para facilidade de transporte. O pedido de patente está pendente de decisão, aguardando o início do exame técnico no INPI.
O pedido de patente de modelo de utilidade n° BR 202020017269-2 da empresa brasileira ANGELUS INDUSTRIA DE PRODUTOS ODONTOLOGICOS S/A (BR/PR) foi publicado em 19 de janeiro de 2021. Em 24 de novembro de 2020 havia sido admitido o trâmite prioritário da presente patente de modelo de utilidade. O pedido de patente refere-se a um escudo para proteção contra aerossóis e gotículas em procedimentos médicos, odontológicos e estéticos, caracterizado por compreender pelo menos um elemento defletor (1) compreendendo um orifício (2); e um elemento de vedação da boca (3), em que o referido escudo compreende ainda um elemento de suporte instrumental (4) que pode estar acoplados ou associados a uma rótula multidirecional (5). O pedido de patente está pendente de decisão, em fase de exame técnico no INPI.


O pedido de patente de modelo de utilidade n° BR 202020011745-4 do brasileiro FLAVIO BARBOSA (BR/SP) foi publicado em 21 de dezembro de 2021. O pedido de patente refere-se a uma disposição construtiva introduzida em suporte de pedal para aplicação de produtos líquidos, pertencente ao setor de acessórios para higiene pessoal, mais particularmente, trata-se de um suporte acionado por pedal para liberar produtos líquidos como: álcool gel, sabão líquido ou outro produto similar, sem a necessidade de usar as mãos em seu acionamento para evitar contaminações no recipiente, obtendo-se resultados práticos, seguros e funcionais muito vantajosos. O suporte compreende uma base de sustentação (1) sobre a qual é fixada uma base de articulação (2) do pedal (3) e a estrutura (5) vertical que é dotada na extremidade inferior de um rasgo (52) que mantém o pedal (3) livre, que ao ser pressionado para baixo, este faz o movimento de alavanca, empurrando para cima um prolongador (7), o qual empurra o frasco (F) para cima, pressionando a válvula dosadora (VD) na alça (6), acionando assim a mesma e liberando o líquido sem o uso das mãos. Dita alça (6) é dotada na face superior de uma placa (8) que poderá ser utilizada para descrição do produto e/ou como propaganda. O pedido de patente está pendente de decisão, aguardando o início do exame técnico no INPI.
O pedido de patente de modelo de utilidade n° BR 202020011884-1 Da empresa brasileira CREATIVE DISPLAY INDÚSTRIA E COMÉRCIO LTDA (BR/SP) foi publicado em 21 de dezembro de 2021. O pedido de patente refere-se a um totem para uso interno e externo, em qualquer local com grande circulação de pessoas. Destina-se à higienização das mãos através do Álcool Gel 70° com pigmentação fluorescente, tendo uma interação junto ao usuário quando o mesmo coloca as mãos na direção da luz negra, criando assim uma experiência diferente ao usuário e até mesmo garantindo que realizou a assepsia de forma integra de suas mãos. O pedido de patente está pendente de decisão, aguardando o início do exame técnico no INPI.

O pedido de patente de modelo de utilidade n° BR 202020010186-8 dos brasileiros TIAGO ZANOTTO (BR/RS) e GUILHERME ANDRE DENICOL (BR/RS) foi publicado em 30 de novembro de 2021. O pedido de modelo de utilidade refere-se a um higienizador de mãos com álcool em gel 70% com um medidor de temperatura, no campo dos equipamentos para saneamento das mãos. O pedido de patente está pendente de decisão, aguardando o início do exame técnico no INPI.

O pedido de patente de modelo de utilidade n° BR 20202010802-1 dos brasileiros HALINSON TABOZA AMBROZIO (BR/MG) foi publicado em 30 de novembro de 2021. O pedido de modelo de utilidade refere-se a disposições construtivas introduzidas em dispositivo de proteção individual, aplicado para proteção e segurança contra vírus e bactérias, com a finalidade de abrir portas, toque em tela, botões, uso em maquinas eletrônicas, elevadores, e outras funções que exigem o contato direto com o objeto, com construtividade mecânica diferenciada com base (1), haste (2) e gancho (3) que tem como objetivo evitar o contato direto dos dedos ou da mão com superfícies trazendo como vantagem, a segurança pessoal, maior tranquilidade ao operar superfícies ou objetos de uso comum (público), melhor custo beneficio, menor custo de fabricação, fácil higienização e diversidade de personalização. O pedido de patente está pendente de decisão, aguardando o início do exame técnico no INPI.
O pedido de patente de modelo de utilidade n° BR 202020010182 U2 do brasileiro MICHEL FARIAS BORBA foi publicado em 30 de novembro de 2021. O pedido de patente refere-se a um dispensador no formato de totem destinados a higienização individual e também ao segmento publicitário onde é possível alocar na sua parte posterior, atrás do totem, um frasco de líquido desinfetante para ser dispensando após o usuário pisar no pedal que está localizado na porção inferior do equipamento; além do seu efeito principal, que é dispensar o produto desinfetante nas mãos do usuário, outro grande diferencial da presente solução e que certamente merece destaque é o fato da mesma possuir um totem/painel que poderá exibir informações relativas ao local onde o mesmo está inserido, propagandas ou alertas de segurança sanitária. O pedido de patente está pendente de decisão, aguardando o início do exame técnico no INPI.

O pedido de patente de modelo de utilidade n° BR 202020009813-1 dos brasileiros ERIK GOMES DO NASCIMENTO (BR/SP) e YGUREY TIARAJU ELMANO DE OLIVEIRA (BR/SP) foi publicado em 23 de novembro de 2021. O pedido de patente refere-se a um equipamento formado por, uma cabine (C) que será instalado a entrada de edifícios, esta é composta de uma estrutura (1) contendo distribuído em pontos predeterminados, bicos pulverizadores (3) para agente desinfetante ligados a um tubo condutor (2) provindo de um tanque (6) que, através de uma bomba hidráulica (9) bombeia este agente desinfetante ao bicos pulverizadores (3) obtendo-se uma nevoa e, que devido suas distribuições predeterminadas na estrutura (1) pulverizam o agente desinfetante em todo o corpo do indivíduo posicionado ao interior desta cabine (C), de forma a descontaminar este indivíduo de qualquer tipo de microrganismo que esteja em sua roupa e corpo, permitindo que após a descontaminação, este individuo acesse o local estando totalmente descontaminado, assim, não oferendo mais risco de contaminação a outros indivíduos ao interior deste local. O pedido de patente está pendente de decisão, aguardando o início do exame técnico no INPI.

O pedido de patente de modelo de utilidade n° BR 202020009813-1 dos brasileiros ERICK GOMES DO NASCIMENTO (BR/SP) e YGUREY TIARAJU ELMANO DE OLIVEIRA (BR/SP) foi publicado em 23 de novembro de 2021. O pedido de patente refere-se a um equipamento formado por, uma cabine que será instalado a entrada de edifícios, esta é composta de uma estrutura contendo distribuído em pontos predeterminados, bicos pulverizadores para agente desinfetante ligados a um tubo condutor provindo de um tanque que, através de uma bomba hidráulica bombeia este agente desinfetante ao bicos pulverizadores obtendo-se uma nevoa e, que devido suas distribuições predeterminadas na estrutura pulverizam o agente desinfetante em todo o corpo do indivíduo posicionado ao interior desta cabine, de forma a descontaminar este indivíduo de qualquer tipo de microrganismo que esteja em sua roupa e corpo, permitindo que após a descontaminação, este individuo acesse o local estando totalmente descontaminado, assim, não oferendo mais risco de contaminação a outros indivíduos ao interior deste local. O pedido de patente está pendente de decisão, aguardando o início do exame técnico no INPI.
O pedido de patente de modelo de utilidade n° BR 202020008726-1 do brasileiro RAFAEL AUGUSTO PAES DE OLIVEIRA (BR/SP) foi publicado em 09 de novembro de 2021. O pedido refere-se a uma câmara autoportante, automatizada, para esterilização e desinfecção de agrupamentos de carrinhos de supermercado, carrinhos de compras e carrinhos (C) de lojas de departamento em geral, através de radiação provinda de lâmpadas de LED emissoras de raios UV-C (L). Para tanto, as lâmpadas (L) são instaladas com seus reatores (R) em calhas (25), por sua vez aparafusadas ao longo de uma câmara (1) composta por uma disposição de vigas, colunas, travessas, chapas dobradas e carenagens, vazadas por furação (F) para aparafusamento entre si. A câmara (1) é formada com um portal (2) com porta de entrada (22), chapa traseira (6), carenagens laterais (9) e chapa superior (19). Após instalada a câmara junto ou mesmo dentro de supermercados e similares, efetuando-se programação de tempo e intensidade de radiação através de um painel de comando eletroeletrônico (PA), sob ação das lâmpadas de LED emissoras de raios UV-C (L), agrupamentos de carrinhos (C) de supermercado, carrinhos de compras e carrinhos de lojas de departamento em geral têm suas superfícies esterilizadas e desinfetadas. O pedido de patente de invenção está pendente de decisão, estando em fase de exame técnico no INPI.
O pedido de patente de modelo de utilidade n° BR 202020008763-6 do brasileiro GUSTAVO CERVANTES DEL RIO BAPTISTA foi publicado em 09 de novembro de 2021. O pedido de patente de modelo de utilidade refere-se disposição introduzida em capacho com elemento desinfetante, aromatizante e higienizador. O objeto do presente pedido de patente pertence ao campo das utilidades para limpeza de solas de calçados ou similares idealiza um inovador capacho com elemento desinfetante, aromatizante e higienizador constituído a partir de uma base plana preferencialmente retangular, que ostenta acima um invólucro (6), o qual é entremeado por uma cobertura superior (3); mais detalhadamente o invólucro (6) é constituído de material permeável e transparente, que contém em seu interior uma substância em estado gelatinoso com propriedades germicida e aromatizante, a qual é liberada quando o invólucro (6) é submetido a uma pressão externa; por sua vez a cobertura superior (3) é permeável a ponto de permitir que a substância liberada pelo invólucro (6) atinja a sua face externa. O pedido de patente está pendente de decisão, aguardando o início do exame técnico no INPI.

O pedido de patente de modelo de utilidade n° BR 202020008301-0 da brasileira REGINA OLIVARES DE ALBUQUERQUE COSTA foi publicado em 03 de novembro de 2021. O pedido de patente de modelo de utilidade refere-se a um tapete bactericida que desinfeta as solas dos sapatos, eliminando a maior parte das sujeiras, microrganismos, vírus, bactérias e resíduos que ali se alojam. O tapete possui compartimento que recebe líquido/produto com ação desinfetante e bactericida. Quando o usuário pisa no tapete, o líquido entra em contato direto com a sola do sapato, fazendo a higienização. Desta forma o usuário entra no local com as solas limpas, evitando contaminações nos ambientes. O pedido de patente está pendente de decisão, aguardando o início do exame técnico no INPI.

O pedido de patente de modelo de utilidade n° BR 202021014017-3 do brasileiro MARCOS VINICIUS SILVA ANDRADE (BR/MG) foi publicado em 03 de novembro de 2021. O pedido de patente refere-se a uma disposição introduzida em dispensador sanitizante compreendendo compartimento para crachá, caracterizado por porta- crachá (2) estar disposto na face frontal, sendo dotado de abas (3) de encaixe, pelo menos dois ressaltos (4) de encosto e aba de presilha (5); as abas (3) de encaixe apresentam formato do tipo C que se estende em uma direção longitudinal em entorno da extremidade da face frontal; o ressalto (4) de encosto são saliências de apoio dispostas na parte inferior da face frontal; aba de presilha (5) está disposta na parte superior, em que compreende orifício (6) e trava (7) movimento; ainda na face frontal, é encaixada a válvula (8) spray dosadora. O pedido de patente está pendente de decisão, aguardando o início do exame técnico no INPI.

O pedido de patente de modelo de utilidade n° BR 202020008094-1 do brasileiro JORGE GUSTAVO VEIGA DA SILVA foi publicado em 03 de novembro de 2021. O pedido de patente refere-se a um dispositivo pessoal portátil para armazenamento e dispensação de álcool em gel, ou produtos com viscosidade similar, denominado doravante por dispositivo dispensador, constituído por um corpo e um refil de armazenamento, que é acoplado ao corpo, sendo que o corpo possui abertura em sua região inferior, por onde é encaixado o refil que deve possuir configuração construtiva compatível para possibilitar seu devido encaixe, como uma gaveta. Na região superior do dito refil é previsto formato geométrico para melhor direcionamento e encaixe ao corpo, e nas suas laterais, são previstas partes constituintes dos elementos de fixação do refil ao corpo, e na sua parte inferior é previsto o orifício de saída do álcool em gel, ou produto similar, armazenado, compreendendo uma tampa. O corpo possui presilha posicionada na sua região posterior, e na parte superior do corpo é disposta uma alça. Prevê ainda elementos de fixação e liberação do refil ao corpo que resultem em engate rápido de um ao outro, quando montados, com meios de acionamento com configuração compatível ao elemento de fixação e liberação utilizado; prevê ainda uma região de acionamento para liberação do conteúdo disposto internamente ao refil. O pedido de patente está pendente de decisão, aguardando o início do exame técnico no INPI.

O pedido de patente de modelo de utilidade n° BR 202021013922-1 do brasileiro MARCOS VINICIUS SILVA ANDRADE (BR/MG) foi publicado antecipadamente, a requerimento do depositante, em 03 de novembro de 2021. O pedido de patente refere-se a uma disposição introduzida em capa para crachá, em que a dita capa é adaptada com compartimento para acoplar um dispensador sanitizante de uso pessoal. Sendo que a referida capa é disposta de face frontal e traseira, em que a face frontal do é dotada de estruturas de bordas disposta nas laterais, aba para conexão de presilhas ou cordão de pescoço. Face traseira é dotada de estrutura de conexão para acoplar um dispense portátil. A estrutura de conexão é caracterizada por apresentar guias de conexão disposta nas laterais, tendo o objetivo de encaixar o dispenser. O pedido de patente está pendente de decisão, aguardando o início do exame técnico no INPI.
O pedido de patente de modelo de utilidade n° BR 202020007279-5 do brasileiro JOAO VICENTE MACHADO GROSSI (BR/RS) foi publicado em 19 de outubro de 2021. O pedido de patente refere-se a uma disposição construtiva aplicada a tenda de proteção contra a aerolização de secreções, composta por uma capa (B), quatro caldas (A) e dois pares de fitas de amarração (E). Podendo ser utilizada na UTI, emergência, bloco cirúrgico, quarto, corredores e ambulâncias. O pedido de patente está pendente de decisão, aguardando o início do exame técnico no INPI.

O pedido de patente de modelo de utilidade n° BR 202020005792-3 do brasileiro DILCEM ANDRÉ LUIS BOAVENTURA (BR/SP) foi publicado em 05 de outubro de 2021. O pedido refere-se a um dispositivo eletrônico (10) que transforma um fluido esterilizante (2) em fluxo de vapor (4) esterilizante por meio de uma pastilha piezoelétrica (3) contida em um recipiente (1) para interagir com a camada de lipídeos e proteína de vírus do tipo COVID-19. O pedido de patente está pendente de decisão, aguardando o início do exame técnico no INPI.

Patente de invenção – outros equipamentos
O pedido de patente de invenção n° BR 102020014589-4 da empresa brasileira HTS ELEVADORES INDÚSTRIA E COMÉRCIO LTDA foi publicado em 01 de fevereiro de 2022. O pedido de patente refere-se a um equipamento germicida (10) idealizado para desinfecção de cabina (CB) de elevador em geral como de passageiro, transporte de paciente, transporte de alimentos, entre outros; dito equipamento germicida (10) atua na desinfecção da cabina (CB) de elevadores através da eliminação de vírus, bactérias, fungos e outros, inclusive o coronavírus Covid-19; a desinfecção do ar e superfícies da cabina (CB) é realizada com a aplicação de luz de ultravioleta - UVC – (LV) por meio do acionamento intermitente da lâmpada (20) de 18W para área de até 9 m2; dito equipamento (10) opera através de sistema microprocessado (SM) para (i) acionamento/desligamento da lâmpada (20) através da leitura da ausência de passageiro(s) por meio de sensor ultrassom (s1); (ii) monitoramento de funcionamento da lâmpada (20) através de sensor de luz (s2); (iii) programação de tempo de desinfecção (TP1) da cabina (CB) por um período pré-determinado de 5 ou 10 minutos programável por uma conexão interna através de jumper quando elevador parado e sem passageiro na cabina (CB); dito equipamento (10) prevê três sinalizadores de monitoramento (SN1), (SN2) e (SN3) através de diodos emissores de luz - Led – para indicações de operações e condições. O pedido de patente está pendente de decisão, aguardando o início do exame técnico no INPI.

O pedido de patente de invenção n° BR 10 2020 010034 3 da brasileira FÁTIMA ANTUNES COELHO foi publicado em 30 de novembro de 2021. O presente pedido refere-se a um cosmético biocida higienizador corporal e respectivas formulações, pertencente ao campo de aplicação dos produtos quimicamente elaborados, sendo direcionado mais precisamente ao setor dos cosméticos, propriamente dito, tendo sido idealizado e desenvolvido no sentido de propiciar a assepsia corporal e das mãos, através da utilização, como componente principal, de um biocida a base de nanoprata, combinado também com outras substâncias e em três formulações específicas. O pedido de patente está pendente de decisão, aguardando o início do exame técnico no INPI.
O pedido de patente de invenção n° BR 10 2020 008395 3 da brasileira FERNANDA NASCIMENTO E SILVA foi publicado em 09 de novembro de 2021. O pedido de patente refere-se a uma pia portátil com reservatórios livre de conexão em encanamento de abastecimento de água. A pia portátil com reservatórios que funciona por armazenar água limpa para fins de higienização, e armazenar a água utilizada na pia para que possa ser descartada adequadamente ou reutilizada para fins secundários ao já usado. Funciona sem conexão externa com encanamento de abastecimento e descarte de água, possibilitando seu uso em áreas ao ar livre como praças, calçadas, parques, feiras, além de áreas internas de difícil ou impossível acesso a encanamento de água. Possui um sistema de uso por força da gravidade em que a água limpa desce para a torneira automática através de canos internos, sendo despejada na sequencia em outro reservatório de descarte da água, passando por uma cuba e um filtro peneira. O pedido de patente está pendente de decisão, aguardando o início do exame técnico no INPI.


O pedido de patente de invenção n° BR 102021009290-4 da empresa brasileira MLA SUPRIMENTOS MÉDICOS LTDA. (BR/SP) foi publicado em 24 de outubro de 2021. O pedido de patente, que teve o trâmite prioritário admitido pelo INPI em 13 de julho de 2021, refere-se a um filtro trocador de calor e umidade com atividade biocida para equipamentos médicos de ventilação que compreende fibras poliméricas de celulose impregnadas com nanopartículas de prata (AgNPs). O filtro trocador de calor e umidade pode ser usado em pacientes intubados sob ventilação artificial em anestesiologia e terapia intensiva e permite uma substituição robusta, utilidade fundamental para proteção contra infecções de contaminação cruzada nosocomiais causadas por microrganismos, tais como bactérias, fungos, leveduras e vírus. A invenção trata ainda do método de preparação do filtro trocador de calor e umidade com atividade biocida e uso de nanopartículas de prata.
O pedido de patente de invenção n° BR 112021015830-8 da empresa francesa RHODIA OPERATIONS foi publicado em 13 de outubro de 2021. O pedido de patente refere-se composições de limpeza desinfetantes de longa duração e métodos de uso das mesmas. As composições de limpeza citam que fornecem benefício de desinfecção de superfície contínua por 12 a 24 horas com apenas uma aplicação, eliminando a necessidade de descontaminação repetida. A eficácia de limpeza dessas composições é fornecida pela inclusão de tensoativos não iônicos de baixo equilíbrio hidrofílico-lipofílico (HLB) com estrutura eletrônica deslocalizada que tem solubilidade em água de moderada a fraca. Essas composições de limpeza desinfetantes fornecem uma película residual que é resistente à abrasão para lenços umedecidos e secos, enquanto fornecem uma desinfecção de longa duração. O pedido de patente está pendente de decisão, aguardando o início do exame técnico no INPI.
O pedido de patente de invenção n° BR102020005698-0 da universidade brasileira UNIVERSIDADE FEDERAL DO MARANHÃO foi publicado em 05 de outubro de 2021. O pedido de patente refere-se a um equipamento com a finalidade de climatizar o ambiente e eliminar micro-organismos do ar. O funcionamento do equipamento é compreendido através da utilização do Ciclo de Carnot nos ambientes quentes, já para ambientes frios utiliza-se a resistência que aquece o líquido criogênico que circula pela caixa adiabática para que ocorra a troca de calor com o ar passando pelos tubos, que é sugado pela turbina radial para o ambiente a ser climatizado. Isso se dará através do conjunto caixa, que possui um condensador e um motor compressor, caixa adiabática, que possui um evaporador interno e evaporador externo, caixa de jateamento, que possui uma resistência, bomba de jateamento, boia de controle de abastecimento de líquido e caixa de dejetos, que possui a resistência, um motor agitador e uma torneira de dejetos quando estiverem em pleno funcionamento. A vantagem em relação aos aparelhos de ar condicionados atuais é referente à maior eficiência, menor estrutura do equipamento, ele atende os padrões de qualidade do ar e ainda respeita o meio ambiente, visto que, o descarte dos dejetos é feitos de forma limpa. O pedido de patente está pendente de decisão, aguardando o início do exame técnico no INPI.

O pedido de patente de invenção n° BR 102020009014-3 do brasileiro TERCIO OBARA (BR/SP) foi publicado em 09 de setembro de 2021. O pedido refere-se a uma mini capela de proteção contra aerossóis, que tem como finalidade a prevenção de riscos de biossegurança em procedimentos com equipamentos médico-odontológicos que geram aerossóis que possibilitam contaminação, entre outras, por covid-19. Este equipamento faz uma barreira física capaz de isolar os elementos normalmente transportados por aerossóis ao ambiente de trabalho através do ar e da água como micro-organismos, toxinas, componentes químicos, restos celulares, secreções, sangue, fumaça e demais subprodutos que, uma vez retidos no interior deste dispositivo são aspirados para fora de modo a não ter contato direto com os profissionais de saúde e os demais pacientes. O pedido de patente de invenção está pendente de decisão, estando em fase de exame técnico no INPI.
O pedido de patente de invenção n° BR 102021010833-9 do brasileiro RUI MANUEL DIAS FERREIRA foi publicado em 24 de agosto de 2021 sob o título “DESCONTAMINADOR DO AR COM MONITOR DE INFORMAÇÃO PARA O INTERIOR DE CABINES DE TELEFÉRICOS USANDO PAINEL SOLAR”. O pedido refere-se a um sistema de descontaminação de todo o ar do interior das cabines dos teleféricos que é forçado a passar por uma câmara com luz UV-C germicida que pode estar contaminado por ficarem várias pessoas num espaço muito reduzido, tem também um monitor sonorizado para dar informações úteis aos passageiros, todo este sistema de descontaminação e monitorização é alimentado eletricamente pela colocação de painéis solares na parte exterior do tejadilho da cabine para ser feita a descontaminação por exterminação dos vírus, bactérias e germes acumulados nas roupas das pessoas e em suspensão no ar respirável. O pedido de patente está pendente de decisão, aguardando o início do exame técnico no INPI.
O pedido de patente de invenção n° BR 112021010135-7 da empresa turca DILCEM KIMYA VE DENISMANLIK ITH. IHR. SAN. TIC. LTD. STI foi publicado em 24 de agosto de 2021. O pedido de patente refere-se a uma combinação de um derivado polimérico de guanidina com base em uma diamina contendo cadeias de oxialquileno entre dois grupos amino, com o derivado de guanidina representando um produto de policondensação entre um sal de adição de ácido de guanidina e uma diamina contendo cadeias de polioxialquileno entre dois grupos amino que são integrados em tecidos têxteis, tecido não tecido (TNT), algodão, polietileno e polipropileno e na estrutura de poliestireno para adquirir atividade antimicrobiana. O pedido de patente está pendente de decisão, aguardando o início do exame técnico no INPI.
O pedido de patente de invenção n° BR 112021010324-4 da empresa americana DILCEM KIMYA VE DENISMANLIK ITH. IHR. SAN. TIC. LTD. STI foi publicado em 24 de agosto de 2021. O pedido de patente refere-se uma vestimenta de proteção que compreende um capuz com uma área facial, a área facial fornecida com uma interface elastomérica tendo uma abertura para engatar e vedar de forma desmontável uma máscara facial completa ou respirador facial completo ao capuz, a abertura tendo uma borda da testa e a borda do queixo que são ambas bordas encurvadas em relação ao centro da abertura e duas bordas da bochecha que são bordas excurvadas em relação ao centro da abertura; a abertura tendo ainda uma dimensão horizontal da linha central entre a primeira e segunda bordas da bochecha e uma dimensão vertical da linha central entre a borda da testa e a borda do queixo; a relação de aspecto da dimensão horizontal da linha central para a dimensão vertical da linha central sendo 1,5 ou maior. O pedido de patente está pendente de decisão, aguardando o início do exame técnico no INPI.

O pedido de patente de invenção n° BR 102020025353-0 da empresa brasileira SRS SERVIÇOS RELACIONADOS A SAUDE LTDA foi publicado em 08 de junho de 2021. O presente pedido refere-se uma capa protetora na forma de superfície em forma tubular com ponto de dobradura interna de forma que a mesma cubra externamente a manga de vestuário ou extremidade da calça e também revista a parte interna das mesmas que tem por objetivo reduzir a contaminação de extremidades de vestuários, como mangas de camisas e extremidades de calças com anéis elásticos localizados estrategicamente nos pontos de dobramento e nas extremidades para vedar e fixar melhor a capa protetora tanto internamente quanto externamente. O pedido de patente está pendente de decisão, aguardando o início do exame técnico no INPI.
A empresa GED - INOVAÇÃO, ENGENHARIA & TECNOLOGIA LTDA (BR/SP) teve seu pedido de patente de invenção n° BR 102021001982-4 publicado em 08 de junho de 2021. O pedido refere-se a uma composição desinfetante de nanopartículas em suspensão que compreende como compostos ativos polihexametileno biguanida (PHMB), compostos de quaternário de amônio e nanopartículas de prata. Segundo a requerente, a eficácia do produto desenvolvido em relação à inativação sobre o coronavírus é de 99,999% até 24 horas após aplicação no ambiente. O pedido de patente está pendente de decisão, estando em fase de exame técnico no INPI.
O pedido de patente de invenção BR102021005326-7, depositado em 20 de março de 2021 pelo brasileiro JOÃO PAULO RODRIGUES DA MOTA (BR/SP), é utilizado como pulseira metálica no pulso ligado por um conector jacaré ora no aterramento isolado e ora no neutro da rede elétrica devidamente protegido com fusível para evitar choque elétrico. De acordo com o pedido, o sistema é indicado para todos os tipos de doença, principalmente no tratamento da síndrome da imunodeficiência (AIDS), câncer, doenças raras, doenças negligenciadas e covid-19.
O pedido de patente de invenção BR102021009841, depositado em 20 de maio de 2021 pelo cubano YAMIL ROJAS LIRANZA, refere-se a um colchonete ajustável no qual estão partes fundamentais como uma região para apoio do tronco, uma região para apoiar o abdome e outra para apoiar a pelve, além de um coxim para descanso da face. O pedido de invenção ainda contempla abas laterais pneumáticas para auxiliar na pronação do paciente, além de um compressor inteligente, com hardware e software embarcados, que regula a quantidade de ar a ser insuflada em função dos dados obtidos do paciente como: gênero (masculino ou feminino), proporção da altura e peso (IMC) e circunferência abdominal (CA). De acordo com o pedido de patente, a invenção se volta ao uso hospitalar, particularmente no interior de Unidade de Terapia Intensiva (UTI), com o paciente intubado ou não, ou mesmo a nível de enfermaria, para praticar a chamada posição de PRONA em espontânea. No caso, esta é uma das terapias não medicamentosas atualmente aplicada com sucesso na covid-19, que consiste em colocar o paciente de barriga para baixo, conhecida no universo médico como posição de PRONA.
O pedido de patente de invenção n° BR 102020007474-1 que tem como depositante o brasileiro RUI MANUEL DIAS FERREIRA foi publicado 27 de outubro de 2020. O pedido refere-se a um armário de descontaminação em aço inox, onde no interior estão colocadas lâmpadas tubulares ou leds de luz Ultravioleta, que permite quando da colocação de roupas ou equipamentos no seu interior para serem descontaminadas do covid-19, de todos os vírus, bactérias e germes. Estes armários também dispõem de um sistema de aquecimento com resistências elétricas que servem para secar roupa, mas não será colocada nenhuma ventoinha para que os vírus, bactérias e germes não sejam expelidos para o exterior. O pedido de patente está pendente de decisão, aguardando o início do exame técnico no INPI.

O pedido de patente de invenção n° BR 102020013564-3 que tem como depositante o brasileiro RUI MANUEL DIAS FERREIRA foi publicado 07 de julho de 2020. O pedido refere-se a cacifos em aço inox de descontaminação para vestiários com luz UV-C e ozono onde estão colocadas lâmpadas tubulares ou leds de luz UV-C e um gerador de ozono, que permite a colocação de roupas ou equipamentos no seu interior para serem descontaminadas de todos os vírus como covid-19, bactérias e germes. O pedido de patente está pendente de decisão, aguardando o início do exame técnico no INPI.

Trâmite prioritário admitido – outros equipamentos
Em 11 de janeiro de 2022 foi admitido o trâmite prioritário do pedido de patente de modelo de utilidade n° BR 2021014017-3 do brasileiro MARCOS VINICIUS SILVA ANDRADE. O pedido refere-a uma disposição introduzida em dispensador sanitizante compreendendo compartimento para crachá, compreendendo um porta- crachá (2) disposto na face frontal, sendo dotado de abas (3) de encaixe, pelo menos dois ressalto (4) de encosto e aba de presilha (5); as abas (3) de encaixe apresentam formato do tipo C que se estende em uma direção longitudinal em entorno da extremidade da face frontal; o ressalto (4) de encosto são saliências de apoio dispostas na parte inferior da face frontal; aba de presilha (5) está disposta na parte superior, em que compreende orifício (6) e trava (7) movimento; ainda na face frontal, é encaixada a válvula (8) spray dosadora. O pedido de patente de invenção está pendente de decisão, estando em fase de exame técnico no INPI.

Em 07 de julho de 2022, foi admitido o trâmite prioritário do pedido de patente de invenção n° BR 102021010984-0 da empresa brasileira ANJO QUIMICA DO BRASIL LTDA, por tratar-se de tecnologia para tratamento de saúde. O pedido de patente refere-se a um processo e revestimento resultante, com propriedade antiviral e antibacteriana, com fácil aplicação por sobreposição, onde o PROCESSO com a mistura de complexos de titânio, álcool etílico, fosfato de butila, álcool isopropílico; ceras de parafinas e ceras de hidrocarbonetos; polidimetil-siloxano modificado com poliéter; erucamida; acetil tri-n-butil citrato; antimicrobiano a base de cristais de prata e zinco; resina de poliuretano alifática; resina de poliuretano aromática modificada com poliéter; resina nitrocelulose (< 12,5% N): 63 - 72%; etanol; acetato de etila; sec-butanol (2-butanol); n-propanol (1-propanol) e isopropanol (2-propanol) e um REVESTIMENTO RESULTANTE que pode ser aplicado em uma diversa gama de substratos para embalagens, a base de polímeros e papel, destinando-se aos setores alimentício, hospitalar, higiene e limpeza, cuidados pessoais e utensílios em geral, para a proteção química e mecânica das embalagens e aos produtos nelas acondicionados, assim como para fins estéticos, utilizado em sistemas de impressão em flexografia e rotogravura. O pedido de patente está pendente de decisão, encontrando-se em fase de exame técnico no INPI, com parecer técnico emitido em 06 de dezembro de 2022.
Em 13 de julho de 2021 foi admitido o trâmite prioritário do pedido de patente de invenção n° BR 102021009290-4 da empresa brasileira MLA SUPRIMENTOS MÉDICOS LTDA. (BR/SP), por tratar-se de tecnologia para o tratamento de pacientes com covid-19, tendo sido publicado em 24 de agosto de 2021. O pedido refere-se a um filtro trocador de calor e umidade com atividade biocida para equipamentos médicos de ventilação que compreende fibras poliméricas de celulose impregnadas com nanopartículas de prata (AgNPs). O filtro trocador de calor e umidade pode ser usado em pacientes intubados sob ventilação artificial em anestesiologia e terapia intensiva e permite uma substituição robusta, utilidade fundamental para proteção contra infecções de contaminação cruzada nosocomiais causadas por microrganismos, tais como bactérias, fungos, leveduras e vírus. A invenção trata ainda do método de preparação do filtro trocador de calor e umidade com atividade biocida e uso de nanopartículas de prata. O pedido de patente está pendente de decisão, aguardando o início do exame técnico no INPI.
Em 06 de julho de 2021 foi admitido o trâmite prioritário do pedido de patente de invenção n° BR102021010219-5 da empresa brasileira BRITISH INDÚSTRIA E COMÉRCIO LTDA. O pedido refere-se a uma manta filtrante antiviral e/ou antibacteriana, além de destacar seu uso como elemento filtrante, retentor e como agente antiviral e/ou antibacteriano. A pedido de invenção também se refere a um processo para fabricação de uma manta filtrante com agente antiviral e/ou antibacteriano e a um equipamento de proteção individual. O pedido de patente está pendente de decisão, aguardando o início do exame técnico no INPI.
O pedido de patente de modelo de utilidade n° BR 202021007999-7 da brasileira PÂMELA GOMIDES DOS REIS GOMES teve o trâmite prioritário admitido em 29 de junho de 2021, por tratar-se se tecnologia relacionada à COVID-19, e foi publicado em 06 de julho de 2021. O pedido de patente refere-se a um oxímetro em modelagem pistola com sensor de refletância. O oxímetro em modelagem pistola é um equipamento médico da área da saúde desenvolvido com um sensor de refletância (6) que permite a aferição da saturação sanguínea na testa do paciente. Tem acionamento a partir de botão (3) na parte frontal do equipamento e desligamento programado no próprio arduino do equipamento. Diferentemente dos oxímetros de pulso de dedo, o equipamento não apresenta modelagem pregador e sim pistola/revólver (FIG. 1.) na qual facilita a assepsia e o manuseio do aferidor. O pedido de patente foi examinado e indeferido. Em 17 de maio de 2022 foi mantida a decisão de indeferimento, uma vez que a requerente não apresentou recurso dentro do prazo legal.

Em 20 de julho de 2021, foi concedido o trâmite prioritário do pedido de patente de modelo de utilidade n° BR 202020009013-0 do brasileiro DINAEL PASSOS DOS SANTOS, que foi publicado em 22 de junho de 2021. O pedido de patente refere-se a uma disposição construtiva aplicada em um dispenser para álcool gel, sabonete líquido ou sanitizantes, tendo o formato preferencial de torre e dotado de acionamento por sistema de pedal, sendo o mesmo de grande utilidade, principalmente nos atuais tempos cuidados extremos contra a proliferação do coronavírus, uma vez que, com apenas um acionamento do pedal, uma quantidade pré-determinada de álcool gel ou produto similar sai de um túbulo na parte superior do dito dispenser, de modo que o usuário não precisa nem mesmo encostar suas mãos em qualquer ponto da superfície do aparelho. O presente invento é basicamente constituído de uma estrutura em forma de torre(1) dotada, em sua parte inferior frontal, de um pedal de acionamento(2) ligado à uma válvula(3) localizada na parte inferior de um reservatório(4) no interior da dita estrutura(1), sendo que, uma vez acionada pelo dito pedal (2), a válvula(3) libera o produto acondicionado no interior do reservatório(4) que segue por uma mangueira(5) até a extremidade superior da estrutura(1), onde se conecta com um túbulo externo de saída(6), responsável pela liberação do produto para o usuário. O pedido de patente foi examinado pelo INPI e indeferido em 18 de janeiro de 2022. Em 12 de abril de 2022 foi mantido o indeferimento do pedido, uma vez que não foi apresentado recurso dentro do prazo legal.
Em 22 de junho de 2021 foi admitido o trâmite prioritário do pedido de patente de patente de invenção n° BR102021001609-4 do brasileiro MURIEL DE ALMEIDA ORNELA (BR/MG) por se tratar de tecnologia relacionada à covid-19, tendo sido publicado em 18 de maio de 2021. O pedido refere-se a um módulo compacto sensor e adaptador universal para bebedouros de pressão, e seu respectivo processo de instalação, desenvolvido para transformar torneiras comuns em automáticas, de modo a propiciar a saída de fluidos das mesmas por aproximação, através da ativação automática por meio de sensores de presença, possibilitando o consumo do fluido sem que o usuário necessite tocar em qualquer parte da torneira, podendo ser instalado em quaisquer tipos de bebedouros (novos ou pré-existentes), sendo constituído de um conjunto de torneira (10), uma caixa de comando (40) e uma válvula solenoide (50) ligada à estrutura hidráulica (60). O pedido de patente de invenção está pendente de decisão, estando em fase de exame técnico no INPI.

Em 25 de maio de 2021 foi admitido o trâmite prioritário do pedido de patente de modelo de utilidade n° BR 202020000445-5 da brasileira CLAUDIA TAVARES ALVARENGA, tendo sido publicado em 24 de agosto de 2021. O pedido refere-se a um espaçador inalatório com válvula de oxigênio, compreendendo uma válvula para fluxo de oxigênio (7) localizada no dispositivo de entrada (6) do espaçador inalatório (1) que compreende um conduto (5) que se estende entre a entrada (2) para conexão a um dispositivo inalador através da qual um usuário pode inalar e a saída (3) antecedida por uma membrana unidirecional de fluxo (4). O pedido de patente está pendente de decisão, aguardando o início do exame técnico no INPI.

Em 12 de maio de 2020, foi concedido o trâmite prioritário do pedido de patente de modelo de utilidade n° BR 202020008061-5 da brasileira NELY MARJOLLIE GUANABARA TEIXEIRA REIS, que foi publicado em 14 de julho de 2020. O pedido de patente refere-se a um videolaringoscópio autoclavável de baixo custo com dispositivo de barreira contra aerossóis e gotículas respiratórias. Segundo o pedido, aproximadamente 14% das pessoas diagnosticadas com COVID-19 requerem hospitalização e oxigenioterapia, e 5% necessitam de suporte em unidades de tratamento intensivo (UTI). Os casos mais severos podem demandar intubação traqueal. Na intubação é frequente que o paciente apresente tosse, com produção de perdigotos e aerossóis com potencial para transmitir a COVID-19, aumentando o risco de contaminação dos profissionais de saúde e a tensão da equipe. No Ceará, apenas os maiores hospitais da rede privada e poucos da rede pública têm disponível os videolaringoscópios, seus preços variam entre R$ 12 e R$ 16 mil, suas baterias são caras e de pouca durabilidade e a maioria deles tem lâminas descartáveis, o que encarece e limita ainda mais o uso desses aparelhos. Em resposta a essa demanda, o presente modelo de utilidade propõe um videolaringoscópio de baixo custo e fácil manuseio. O equipamento será impresso com tecnologia de impressão 3D, com material autoclavável e terá dispositivo descartável de barreira acoplado a seu cabo, para reduzir a dispersão de aerossóis e gotículas numa possível tosse do paciente durante a intubação. O equipamento poderá ser acoplado a celular ou computador. O pedido de patente foi examinado pelo INPI e foi indeferido em 30 de março de 2021. Em 15 de junho de 2021 foi mantido o indeferimento do pedido, uma vez que não foi apresentado recurso dentro do prazo legal.

Em 16 de março de 2021 foi admitido o trâmite prioritário do pedido de patente de invenção e publicado em 26 de maio de 2020 o pedido de patente n° BR 102018072390-1 do brasileiro ERIC AGUIAR WITTLICH. O pedido refere-se a um dispositivo de auxilio de dose para seringas, com diferentes versões, para auxílio de dose precisa para seringas de qualquer utilidade, como, mas não limitado a: médico, médico-veterinário, pesquisas. A presente invenção facilita a manipulação e a dosagem de materiais de forma simples e intuitiva para todas as classes sociais independentemente do nível de escolaridade, destreza manual ou acuidade visual. Cada uma das versões é referente a uma dose ou campo de aplicação especifico, possuindo características individuais únicas como geometria, volume movimentado do embolo, cor, textura etc., a fim de individualizar cada versão, facilitando sua identificação e evitando a chance de uso equivocado. O pedido de patente de invenção está pendente de decisão, estando em fase de exame técnico no INPI.

Em 13 de março de 2021 foi admitido o trâmite prioritário do pedido de patente de invenção n° BR 102020013254-7 dos brasileiros JOSÉ JEOVÁ SIEBRA MOREIRA NETO (BR/CE), RENATO LUIZ MAIA NOGUEIRA (BR/CE), MOACIR TAVARES MARTINS FILHO (BR/CE), RICARDO TEIXEIRA ABREU (BR/CE), tendo sido publicado em 05 de janeiro de 2021. O pedido refere-se a um escudo protetor para procedimentos de saúde, onde o escudo protetor (1) compreende um colar (2) delimitado por um recuo (3) em sua borda inferior (4), ao passo, que sua borda superior (5) é dotada de um canal perimetral circular (6) que acomoda uma série de esferas (7), de onde se projeta uma frente móvel (8) “semi-curvo” com características de transparência, que por sua vez, ainda recebe dois furos de acesso (9) que se alinham ao rasgo oblongo (10) de uma cúpula (11). Também com características de transparência, que por sua vez, se acomoda por seu bordo (12) na borda interna (13) do referido colar (2), além de receber em gradual deslocamento no topo lateral, um par de furos auxiliares (14), ao passo, que mais a baixo e na porção traseira da cúpula (11), um furo de sucção de ar (15) se posiciona ao lado de um tubo aspersor (16), sendo ambos pouco acima de um braço articulável incorporado na traseira do referido colar (2). O pedido de patente de invenção está pendente de decisão, estando em fase de exame técnico no INPI.

Em 03 de novembro de 2020 foi admitido o trâmite prioritário do pedido de patente de modelo de utilidade n° BR 202020019471-8 do brasileiro HIDEO SUZUKI e da SOCIEDADE REGIONAL DE ENSINO E SAÚDE LTDA. O pedido refere-se a uma Cápsula Odontológica de Biossegurança Individual, constituindo-se de um dispositivo para instalação em cadeiras odontológicas, servindo como suporte para uma película plástica descartável que cria uma barreira mecânica entre o paciente e o profissional da área odontológica, prevenindo a contração da covid-19, pois inibe a exposição a gotículas e aerossóis gerados durante o atendimento clínico. O pedido de patente de modelo de utilidade está pendente de decisão, na fase de exame técnico no INPI.

Em 16 de junho de 2020, foi concedido o trâmite prioritário do pedido de patente de modelo de utilidade n° BR 202016018863-1 do brasileiro JOSE HUMBERTO RODRIGUES PEREIRA, que foi publicado em 03 de junho de 2018. O pedido de patente refere-se a uma cinta ergonômica, inserida no campo da eletromedicina, utilizada para medir e monitorar remotamente a temperatura corporal de um ser humano, feita com o intuito de proporcionar conforto para o usuário, e praticidade e versatilidade para o operador. A cinta é dotada de circuito eletrônico que recebe a informação do detector de temperatura, processa a informação, e transmite para um dispositivo fixo ou móvel via rede sem fio (Wifi, Bluetooth e/ou outros meios), gerando a visualização, a análise dos dados e o monitoramento da temperatura, e, neste dispositivo, é possível estabelecer inclusive alarmes quando a temperatura ultrapassar limites pré-estabelecidos. Além disso, este dispositivo não requer um profissional da área de medicina para operá-lo, sendo facilmente manipulado por meio de orientações simples. O pedido de patente foi examinado pelo INPI e indeferido em 18 de maio de 2021. Em 03 de agosto de 2021 foi mantido o indeferimento do pedido, uma vez que não foi apresentado recurso dentro do prazo legal.
Em 02 de junho de 2020 foi admitido o trâmite prioritário do pedido de patente de invenção n° BR 102020006444-4 do brasileiro ROBERTO GONÇALVES DE FREITAS e publicado em 16 de junho de 2020. O pedido refere-se a um processo de desinfecção caracterizado pela evaporação de composto de sais quartenários de amônio combinado com propileno glicol e glicerina. A presente invenção é a aplicação de através de sua vaporização de produto específico caracterizado pela união de três componentes, quaternário de amônio, propileno glicol e glicerina em ambientes fechados tornando possível a desinfecção de todo o ambiente e a visualização do procedimento pelo aplicador. Composição específica: Glicerina bidestilada USP (40%), Propilenoglicol USP (40%), Água (19%), Cloreto benzalcônio (1%). O pedido de patente está pendente de decisão, aguardando o início do exame técnico no INPI.
Em 19 de maio de 2020 foi concedido o trâmite prioritário do pedido de patente de invenção n° BR 102020007827-5 do brasileiro GEORGE URIARTE SCARANTO, que foi publicado em 25 de agosto de 2020. O pedido de patente refere-se a um aparelho descontaminador por luz UV adaptável a linha moveleira (1) e (2), desenvolvido para ser embutido, adaptado ou acoplado em armários, gavetas e cômodas já existentes ou compor a estrutura de novos móveis, assim como pode ser usado de sobrepor ou até mesmo com estrutura própria para ficar em pé sem a necessidade de ser embutido. O invento possui como objetivo, a descontaminação por meio de luz ultravioleta de instrumentos e objetos da área hospitalar, consultórios, salões de beleza, clínicas de estética, utensílios domésticos (talheres, acessórios, roupas e demais objetos de higiene pessoal) visando proporcionar maior qualidade de vida aos usuários. O pedido de patente foi examinado e indeferido. Em 18 de maio de 2021 foi mantida a decisão de indeferimento, uma vez que a requerente não apresentou recurso dentro do prazo legal.

Pedido de certificado de adição – outros equipamentos
O pedido de certificado de adição n° BR 132020023180-3, da Patente de Invenção BR 102020007311-7 de 13 de abril de 2020, do brasileiro HERMES PAULO DE AMORIM FILHO foi publicado em 31 de maio de 2022. O pedido de certificado de adição da patente de invenção refere-se à composição para obtenção de película de revestimento antiviral e antimicrobiana, à base de água caracterizado por uma composição que detém: água de 60 – 65,95%; espessante acrílico de 1 – 1,5%; tensoativo não iônico de 0,05 - 0,2%; antiespumante de 0,03 - 0,2%; antioxidante de 0,01 – 0,15%; nanozinco (0,45%) 0,2 – 0,8%; dispersão coloidal de prata (0,3%) de 0,2 – 1,0%; sílica de 0,01 – 0,5%; copolímero acrílico metalizado de 1 – 3%; copolímero acrílico em dispersão 8 – 12%; copolímero acrílico estirenado em dispersão de 10 – 20%; cera polietilênica de 1,5 – 2,5%; alcalinizante de 0,05 – 0,5%. O pedido de patente está pendente de decisão, aguardando o início do exame técnico no INPI.