Patentes de máscaras covid-19
Carta patente expedida – máscaras e respiradores
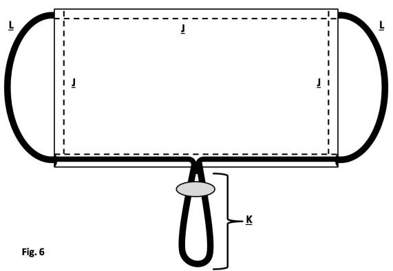
Em 08 de setembro de 2021, a empresa brasileira RCX INVESTIMENTOS, TECNOLOGIA E MEIOS DE PAGAMENTO LTDA (BR/SP) teve a Carta Patente n° BR 202020011320-3 expedida. Em 26 de janeiro de 2021 havia sido admitido o trâmite prioritário da presente patente de modelo de utilidade. A patente refere-se a máscara de proteção (10) contra contaminantes biológicos presentes no ar. A dita máscara (10) é compreendida por peça (20) com contorno periférico anatômico, abas (20b’) orifício para montagem de elásticos (30); compreendendo tira adesiva (40) com comprimento (c) e largura (l) correspondente ao comprimento (c1) e largura (l1) do clipe nasal (50) de bordas arredondadas, e ser disponibilizada em cartela (CT) com duas ou mais unidades, sendo que a face adesiva superior (41) recebe o clipe nasal (50). A patente de modelo de utilidade terá validade de 15 (quinze) anos contados a partir de 05 de junho de 2020

Em 23 de março de 2021, a empresa brasileira OPTO ELETRÔNICA S/A. (BR/SP) teve a Carta Patente n° BR 102020010046-7 expedida. O trâmite prioritário, solicitado pela empresa, havia sido concedido pelo INPI em 07 de julho de 2020. A patente de invenção refere-se a um dispositivo portátil acoplável à máscara respiratória ou capacete de proteção facial para esterilização de ar para respiração em ambientes passíveis de contaminação por germes e vírus contendo dispositivo portátil acoplável, constituído por conjunto labirinto de fluxo acoplável em máscaras de respiração e capacetes de proteção facial, sendo que a totalidade do fluxo de ar sendo conduzido pelo labirinto composto é exposto à iluminação UV na região espectral entre 200 e 390nm,luz UV sendo produzida por emissores semicondutores de luz ultra violeta e na região espectral UV-C capaz de causar danos aos tecidos e DNA/RNA dos agentes microbianos. A patente de invenção terá validade de 20 (vinte) anos contados a partir de 19 de maio de 2020.

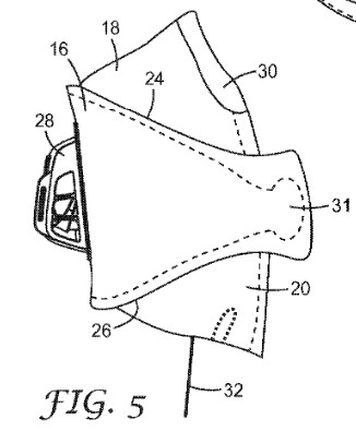
Em 29 de abril de 2021, o brasileiro CLAUDIO LUIZ TEIXEIRA JUNIOR teve a Carta Patente n° BR 202020008584-6 expedida. A patente de modelo de utilidade refere-se a uma máscara protetora (1), compreendendo: uma lâmina protetora, semirrígida de plástico ou similar (2), que recobre as fossas nasais, boca e regiões do rosto em torno destas; por hate curva (3), na qual fica montada a lâmina protetora (2); e por dois anéis de elástico de fixação (4), montados em respectivas extremidades da haste (3) e com tamanho adequado para estender-se entre estas e em torno de correspondentes orelhas do usuário; a lâmina protetora (2) é transparente (cristal), tem uma ligeiramente conicidade central, base retangular e sua superfície côncava ficar voltada para o rosto do usuário; a haste (3) fica disposta no lado superior da lâmina protetora (2), ao nível médio do septo nasal do usuário e no ponto médio de sua superfície côncava fica montado um apoio de nariz (5) e abaixo de dita haste (3) se estende a lâmina protetora (2); os anéis elásticos (4) são providos de dispositivo de regulagem de extensão (6). A patente de modelo de utilidade terá validade de 15 (quinze) anos contados a partir de 29 de abril de 2021.

Em 06 de abril de 2021, a universidade brasileira UNIVERSIDADE FEDERAL DA PARAIBA teve a Carta Patente n° BR 102020006631-5 expedida. A empresa havia solicitado trâmite prioritário por tratar-se de tecnologia envolvendo a saúde, que foi admitido pelo INPI em 07 de julho de 2020. A patente de invenção refere-se a um ventilador pulmonar microcontrolado composto de atuador mecânico de ventilação baseado em um sistema pneumático de válvulas solenoides. Este instrumento é equipado ainda com monitor touthscreen, com sensores externos de batimento cardíaco, temperatura e um oxímetro, além de possuir conectividade wireless. No modo operante deste instrumento, os sinais monitorados via monitor touthscreen, também são enviados para uma central de monitoramento virtual, cujos dados podem ser acessados por dispositivos móveis (tabletes, smatphones, notebooks) via aplicativo desenvolvido especificamente para este fim. O sistema de conectividade permite que um ou mais unidades envie dados, possibilitando o monitoramento simultâneo e à distância, resultando na otimização do tempo e redução de esforço e da exposição a ambiente insalubre. A patente de invenção terá validade de 20 (vinte) anos contados a partir de 02 de abril de 2020.
Em 23 de março de 2021, a empresa brasileira OPTO ELETRÔNICA S/A teve a Carta Patente n° BR 102020010046-7 expedida. A patente de invenção refere-se a um dispositivo portátil acoplável à máscara respiratória ou capacete de proteção facial para esterilização de ar para respiração em ambientes passiveis de contaminação por germes e vírus. O dispositivo é composto por uma câmara de entrada de ar e outra câmara de saída do ar, separadas e comandadas por válvulas direcionais de fluxo automáticas, que conduzem o ar filtrado para máscara naso buco facial convencional, onde ambas as câmaras confinam o ar e mediante labirinto de fluxo, expõe este ar à iluminação UV na região espectral entre 200 e 390 nm, luz UV sendo produzida por emissores semicondutores de luz ultravioleta na região espectral capaz de causar danos aos tecidos e RNA dos agentes microbianos. A emissão de luz UV é regulada pela densidade de potência de emissão e pelo tempo de exposição durante o período de respiração, de forma a produzir dose de energia suficiente para eliminar a maioria destes patógenos. O emissor de luz é controlado eletronicamente para seu ponto ótimo de operação, compensando sua intensidade com o fluxo de ar mediante contagem da frequência de respiração, sendo ainda que tanto o ar de entrada quanto de saída são submetidos a esta equivalente exposição, de forma que tanto o ar inalado quando o expirado sejam esterilizados, em canais separados e não misturando o ar de entrada com o de saída. A patente terá validade de 20 (vinte) anos contados a partir de 19 de maio de 2020.

Pedido de patente publicado – máscaras e respiradores
O pedido de patente de invenção n° BR 10 2022 007902 1 da empresa brasileira INSTITUTO FEDERAL DE EDUCAÇÃO CIENCIA E TECNOLOGIA DE MINAS GERAIS foi publicado em 31de outubro de 2023. O pedido de patente refere-se a um ventilador pulmonar mecânico de baixo custo, por pressão controlada (PCV), invasivo por intubação, destinado a atender um único paciente, compreendido por um sistema de compressão de ar, desumidificador, bico para inserção de oxigênio, filtro HMEF para vírus e bactérias e caixa de comando. O equipamento possibilita a manutenção, reparo e a preservação dos seus componentes durante a operação da ventilação artificial, sem prejuízo à saúde do paciente, além de permitir a variação no tratamento sem requerer o uso de software ou componentes específicos. O pedido de patente está pendente de decisão, aguardando o início do exame técnico no INPI.
O pedido de patente de invenção n° BR 11 2023 016856 2 da empresa americana LIGHTHOUSE WORLDWIDE SOLUTIONS, INC. foi publicado em 19 de setembro de 2023. O pedido de patente refere-se a um aparelho de máscara facial configurado para aderir mais estreitamente ao rosto do usuário, de modo que seja encaixado na ponte do nariz para minimizar qualquer obstrução de visão por parte do usuário. A máscara facial é equipada com um segmento de ponte de nariz, um segmento de boca e um segmento de queixo, cada um dos quais dispostos em comunicação em série em ângulos obtusos. Um suporte de ponte de nariz é disposto dentro de um material do segmento de ponte de nariz e é configurado para garantir que a máscara permaneça em posição durante o movimento da face. Além disso, um suporte secundário está presente dentro do segmento da boca para garantir que a máscara seja encaixada no rosto do usuário para conforto e para garantir a eficácia. O material da máscara é configurado para filtrar bactérias, viroses, pólen, mofo, poeira e outros poluentes e é preferencialmente afixado de forma removível ao rosto do usuário por meio de tiras de retenção. O pedido de patente está pendente de decisão, aguardando o início do exame técnico no INPI.
Em 12 de setembro de 2023 foi admitido o trâmite prioritário do pedido de patente de modelo de utilidade n° BR 20 2023 006432 4 da empresa brasileira SRS SERVIÇOS RELACIONADOS A SAUDE LTDA foi publicado em 15 de agosto de 2023. O pedido de patente refere-se a REFORÇO PARA MÁSCARA DE GUARDA SEGURA E SAQUE RÁPIDO. O presente dispositivo tem por objetivo aperfeiçoar máscara respiratória adaptável para porta máscara de punho, de antebraço ou de braço. Objetiva proteger a superfície filtrante contra danos produzidos por trações ou torções mecânicas. Trata-se o presente pedido de introduzir reforços resistentes à tração acoplados estrategicamente em locais específicos de máscara respiratória de modo a evitar danos à superfície filtrante de máscara respiratória. Concebidas alças de tração (7) para enganchamento em pinos , ganchos ou cabeçotes de porta máscara possuindo segmentos de reforço mecânico (7) com extremidades que se fixam nos pontos (17) que se conectam a alças laterais de tração. Em sua forma preferencial, destinadas a máscaras com parte filtrante com dobraduras , consiste de alça de tração, com reforço mecânico, para enganchamento no porta máscara e possui extremidades que se fixam nas bordas superiores e inferiores de máscara na posição mediana. O pedido de patente está pendente de decisão, aguardando o início do exame técnico no INPI.

O pedido de patente de invenção n° BR 11 2023 015812 5 da empresa brasileira MAGNAMED TECNOLOGIA MEDICA S.A. foi publicado em 05 de setembro de 2023. O pedido de patente refere-se a um dispositivo auxiliar e a um método para estimação da pressão muscular de um paciente sendo ventilado por um ventilador pulmonar, que compreende: criar uma base de dados que correlaciona dados de pressão, volume e fluxo de ciclos respiratórios de ventilador pulmonar com dados de pressão muscular correspondentes aos dados de pressão, volume e fluxo do ventilador; criar, a partir da base de dados, um conjunto de dados de treino; treinar um algoritmo preditivo de série temporal com o conjunto de dados de treino; alimentar o algoritmo com dados de pressão, volume e fluxo de um ventilador pulmonar, os dados de pressão, volume e fluxo compreendendo pelo menos uma série temporal com pontos de curvas de pressão, volume e fluxo; e estimar, através do algoritmo, um valor de pressão muscular para pelo menos um dos pontos da série temporal. O pedido de patente está pendente de decisão, aguardando o início do exame técnico no INPI.
O pedido de patente de invenção n° BR 10202200144 da empresa brasileira UNIVERSIDADE FEDERAL DE OURO PRETO - UFOP foi publicado em 01 de agosto de 2023. O pedido de patente refere-se escudo facial com monitor portátil do tipo Head-Up Display (HUD) e sensores para monitoramento das condições do usuário e do ambiente. Essa invenção é composta por uma base plástica contendo a estrutura para abrigar o escudo facial, um computador embarcado, sensores e um monitor portátil. O sistema é caracterizado por ser um sistema cíber-físico, e consequentemente respeita um conjunto de características padrão. Desde quando está ligado, o dispositivo opera constantemente. Além disso, ele também é operável sem o uso das mãos, possuindo sensores, recolhendo e tratando a informação mesmo em estado passivo. A carga computacional está concentrada em um computador embarcado de tamanho e capacidade reduzida. Esse computador adquire os dados de um oxímetro de pulso e medidor de temperatura para monitoramento do usuário. Além disso, ele adquire dados do ambiente através de uma câmera. O sistema possui capacidade de comunicação em rede. Sendo assim, ele permite a reprogramação e processamento de dados local, intermediário e em nuvem. Todo o sistema é alimentado por uma bateria, localizada internamente à estrutura do escudo facial, responsável por manter o sistema operante durante todo o processo. O dispositivo está voltado principalmente para atuação na área da saúde, em hospitais fixos ou hospitais de campanha. O pedido de patente está pendente de decisão, aguardando o início do exame técnico no INPI.
O pedido de patente de modelo de utilidade n° BR 20 2023 006023 0 da empresa brasileira SRS SERVIÇOS RELACIONADOS A SAUDE LTDA foi publicado em 27de junho de 2023. O pedido de patente refere-se a disposição introduzida em porta máscara. Este modelo propõe uma nova disposição introduzida em porta máscara que facilita a sua produção, e oferece mais estabilidade ao pulso ou ao braço. Adicionando maior adaptabilidade ao corpo do usuário, oferecendo acréscimo de função de munhequeira ortopédica. Trata-se o presente pedido de introdução de traves, rígidas ou resilientes, extensos no comprimento paralelo ao eixo do braço, pulso, punho ou antebraço. A combinação dessas traves com faixas ou cordões elásticos aumenta a estabilidade no pulso, braço oferecendo também proteção ortopédica. A construção através de traves facilita a produção do porta máscara na medida em que as peças se tornam menos complexas e se tornam adequadas a diferentes tamanhos de pulso ou braço. Entre as formas de produção concebidas está a estampagem, injeção de plástico e através de impressora 3D. O pedido de patente está pendente de decisão, aguardando o início do exame técnico no INPI.
O pedido de patente de invenção n° BR 112021011175-1 dos brasileiros GUILHERME THIAGO DE SOUZA e JAIME EDUARDO GALVEZ AVILES foi publicado em 23 de maio de 2023. O pedido de patente refere-se a uma válvula (800, 850) para capacete para respiração artificial (100), construída em uma única peça e compreendendo pelo menos uma região de escalonamento (810), uma região de acesso (820) com canal de acesso (821) e um canal interno cônico (840). A invenção se refere ainda a um capacete para respiração artificial (100) e ao uso de uma válvula (800, 850). O pedido de patente está pendente de decisão, aguardando o início do exame técnico no INPI.

O pedido de patente de invenção n° BR 102020022579-0 da empresa brasileira ATTA INJETADOS DE SOLADOS LTDA foi publicado em 17 de maio de 2023. O pedido de patente refere-se a uma máscara bivalvulada para proteção respiratória com a estrutura confeccionada em etileno acetato de vinila. As máscaras existentes no mercado de polímeros plásticos diversos são de alto custo e de difícil manuseio em aplicação industrial. O material aplicado na construção da presente invenção possui características que faz com que a máscara se torne flexível, leve, confortável e lavável. Possui protuberâncias para receber duas válvulas paralelas avulsas que possuem encaixe interno para colocação de material filtrante. Suas abas laterais com furos vazados de regulagem servem para adaptação de elástico prendedor de cabeça. Em tamanho único e universal, é de baixo custo para produção industrial. O pedido de patente está pendente de decisão, aguardando o início do exame técnico no INPI.
O pedido de patente de modelo de utilidade n° BR 20 2023 004118 9 do brasileiro JOSÉ RENATO GONÇALVES foi publicado em 02 de maio de 2023. O pedido de patente refere-se a máscara nasobucal formada por corpo filtrante cujas extremidades recebem alças que envolvem as orelhas do usuário (US) mantendo a máscara junto a face (FC); dita máscara nasobucal integra elemento de redirecionamento do ar expirante (AE) do usuário (US) compreendido por uma tira confeccionada em poliuretano ou outro material similar aplicada na face posterior da borda superior do corpo filtrante; a espessura (e1) e largura do elemento filtrante compõe região de bloqueio (RB) que impede a passagem do ar expirante (AE). Trata-se de máscara nasobucal formada por corpo filtrante, cujas extremidades recebem alças que envolvem as orelhas do usuário, mantendo a máscara junto a face, dita máscara nasobucal integra elemento de redirecionamento do ar expirante do usuário, compreendido por uma tira confeccionada em poliuretano ou outro material similar aplicada na face posterior da borda superior do corpo filtrante. O pedido de patente está pendente de decisão, aguardando o início do exame técnico no INPI.
O pedido de patente de invenção n° BR 112022023317-5 da empresa japonesa DAIO PAPER CORPORATION foi publicado em 18 de abril de 2023. O pedido de patente refere-se a uma porção de gancho de orelha para máscara e seu método de fabricação. Trata-se de um laço de orelha para máscara, de acordo com a presente invenção, que é formado de um material que inclui um membro extensível; um primeiro material laminar de superfície e um segundo material laminar de superfície que são ligados, com múltiplas sessões de ligação, a ambas superfícies do membro extensível no estado em que o membro extensível é estendido. O laço de orelha para máscara inclui: uma sessão de base a ser fixada ao corpo de máscara; uma sessão de parte posterior de orelha a ser posicionada na parte posterior de orelha do utente; uma sessão de transição superior que se estende a partir da sessão de base em direção à sessão de parte posterior de orelha no lado superior e uma sessão de transição inferior que se estende a partir da sessão de base em direção à sessão de parte posterior de orelha no lado inferior. O número de múltiplas sessões de ligação por unidade de área na sessão de parte posterior de orelha é maior que o número de múltiplas sessões de ligação por unidade de área em pelo menos uma dentre a sessão de transição superior e a sessão de transição inferior. O pedido de patente está pendente de decisão, aguardando o início do exame técnico no INPI.
O pedido de patente de invenção n° BR 10 2021 018531 7 do empresa brasileiro WEBER ISAAC DA LUZ foi publicado em 04 de abril de 2023. O pedido de patente refere-se a isolador de respiração para uso com máscara de proteção semifacial. A presente invenção tem a finalidade de proporcionar melhor respirabilidade, melhor oxigenação do sangue, mais conforto e segurança pois, ela tem a função de impedir que o dióxido de carbono, expirado pela boca, seja inspirado pelo nariz, que vapores exalados pela boca cheguem até os olhos e embacem óculos ou viseiras e que gotículas e aerossóis produzidos durante a fala, tosse ou espirros cheguem até a máscara de proteção semifacial. O dito isolador de respiração é constituído por um corpo formado pela união de camadas de proteção de material absorvente e impermeável a gases e líquidos, é dotado de um elemento vedante, meios de fixação para orelha ou cabeça, com a finalidade de fixar o isolador de respiração e o elemento vedante contra o rosto do usuário, devendo ser usado sob uma máscara de proteção semifacial, separadamente ou, opcionalmente, afixado a ela. O pedido de patente está pendente de decisão, aguardando o início do exame técnico no INPI.
O pedido de patente de invenção n° BR 112023003624-0 da empresa americana PFIZER INC. e dos americanos SHYAMAL PATEL e PAUL WILLIAM WACNIK e KARA CHAPPIE e ROBERT MATHER e BRIAN TRACEY e MARIA DEL MAR SANTAMARIA SERRA foi publicado em 28 de março de 2023. O pedido de patente refere-se e à tecnologia para monitoramento de condição respiratória de um usuário e provê apoio à decisão através da análise dos dados de áudio de um usuário. Fonemas falados podem ser detectados dentro de dados de áudio, e recursos acústicos podem ser extraídos para os fonemas. Uma métrica de distância pode ser computada para comparar conjuntos de recursos de fonema de um usuário. Com base na comparação, uma determinação sobre a condição respiratória do usuário, tal como se o usuário tem uma condição respiratória (por exemplo, uma infecção) e/ou se a condição está mudando, pode ser feita. Alguns aspectos incluem predição da condição respiratória do usuário no futuro utilizando os conjuntos de recursos de fonema. Ferramentas de suporte à decisão na forma de aplicativos para computador ou serviços podem utilizar a informação da condição a respiratória prevista para iniciar uma ação para tratamento de uma condição atual ou mitigação de risco futuro. O pedido de patente está pendente de decisão, aguardando o início do exame técnico no INPI.
O pedido de patente de modelo de utilidade n° BR 20 2021 005993 7 do brasileiro SAMIR TUMA JUNIOR foi publicado em 21 de março de 2023. O pedido de patente refere-se a uma máscara com vedação total para uso em máquinas de CPAP (Pressão Positiva Contínua nas Vias Aéreas) para o tratamento não-invasivo de pacientes com COVID-19. As CPAPs são comumente usadas para tratar apneia de sono e para auxílio respiratório não invasivo, ser composta por Capacete é o involucro de vedação facial para gases expiratórios e nele serão abrigados todos os componentes da máscara; filtro de retenção, evita a eliminação de partículas contaminantes do doente para o meio ambiente; traqueia conecta o respirador ou CPAP a máscara, ou seja, o doente respira através dela; máscara oro nasal interna recebe o ar sob pressão vinda do respirador ou CPAP reduz o espaço morto dando eficiência na pressão do ar injetado para o doente com Vedação facial (A) que evita o escape ou emanação de aerossóis contaminantes direcionando a pressão do ar para filtragem., possibilita às máscaras usadas com esses aparelhos têm uma válvula por onde vaza ar contendo micro gotículas chamadas aerossóis, o que, sem a sua adaptação, pode resultar na contaminação de profissionais de saúde. O pedido de patente está pendente de decisão, aguardando o início do exame técnico no INPI.
O pedido de patente de invenção n° BR 112023003313-6 da empresa inglesa ALCHEMIE TECHNOLOGY LIMITED foi publicado em 21 de março de 2023. O pedido de patente refere-se a um filtro removível, máscara facial, dispositivo de purificação de ar, e, método de fabricar um filtro. O filtro compreende um substrato poroso; e um revestimento antipatogênico provido em, pelo menos, parte do substrato poroso. A concentração do revestimento varia através do substrato para produzir um padrão de revestimento. O pedido de patente está pendente de decisão, aguardando o início do exame técnico no INPI.
O pedido de patente de invenção n° BR 112023003313-6 da empresa inglesa ALCHEMIE TECHNOLOGY LIMITED foi publicado em 21 de março de 2023. O pedido de patente refere-se a um filtro removível, máscara facial, dispositivo de purificação de ar, e, método de fabricar um filtro. O filtro compreende um substrato poroso; e um revestimento antipatogênico provido em, pelo menos, parte do substrato poroso. A concentração do revestimento varia através do substrato para produzir um padrão de revestimento. O pedido de patente está pendente de decisão, aguardando o início do exame técnico no INPI.
O pedido de patente de invenção n° BR 112022025324-9 da empresa japonesa DAIO PAPER CORPORATION foi publicado em 24 de janeiro de 2023. O pedido de patente refere-se a um corpo da máscara, partes de gancho de ouvido em uma forma de folha que constituem um par, e materiais auxiliares em uma forma de folha interpostos para acoplar o corpo da máscara e as partes de gancho de ouvido, em que, em cada uma das partes de extremidade do corpo da máscara em uma direção esquerda e direita, as partes de gancho de ouvido e os materiais auxiliares são superpostos em um lado da superfície do corpo da máscara, bordas externas das partes de gancho de ouvido na direção esquerda e direita ficam situadas para dentro em relação às bordas externas do corpo da máscara na direção esquerda e direita e ficam situadas para dentro em relação às bordas externas dos materiais auxiliares na direção esquerda e direita, primeiras partes de acoplamento nas quais o corpo da máscara e os materiais auxiliares são acoplados em uma direção da espessura e segundas partes de acoplamento nas quais as partes de gancho de ouvido e os materiais auxiliares são acoplados na direção da espessura são formadas, e as segundas partes de acoplamento se estendem até as bordas externas das partes de gancho de ouvido na direção esquerda e direita. O pedido de patente está pendente de decisão, aguardando o início do exame técnico no INPI.
O pedido de patente de modelo de utilidade n° BR 20 2021 013498 0 da universidades brasileiras UNIVERSIDADE FEDERAL DE LAVRAS e FUNDAÇÃO DE AMPARO À PESQUISA DE MINAS GERAIS foi publicado em 17 de janeiro de 2023. O pedido de patente refere-se à vedação para máscaras de ventilação não invasiva com pressão positiva. Procedimentos como ventilação não invasiva, oxigenoterapia, tratamento com nebulizador e fisioterapia respiratória utilizam uma interface denominada máscara para realizar acoplamento com a face do paciente e o equipamento. Devido diferentes formatos, contornos e proeminências da face de cada paciente, obter um bom encaixe e vedação sem perdas de vazão e pressão, não é tão fácil. A presente invenção assegura uma perfeita vedação entre a máscara e a face do paciente. Ao garantir a perfeita vedação, o paciente irá receber um fluxo com vazão e pressão adequados e controlados. Irá evitar a liberação de gotículas e aerossóis, que são uma fonte de contaminação para os profissionais de saúde ou outros indivíduos sadios próximos. Menores forças compressivas entre a máscara e a face do paciente serão necessárias, visto que se consegue uma vedação facilmente, evitando a formação de lesões cutâneas na região de aplicação da máscara. Será de grande auxilio em mudanças de posições e curtos deslocamentos dos pacientes. A presente invenção também é simples de aplicar, retirar e descartar. O pedido de patente está pendente de decisão, aguardando o início do exame técnico no INPI.
O pedido de patente de invenção n° BR 10 2021 013232-9 da empresa de taiwanesa SEASON FARM TECHNOLOGY CO., LTD. foi publicado em 10 de janeiro de 2023. O pedido de patente refere-se a um dispositivo de restauração de máscara médica que inclui uma rede de radiação de coroa elétrica que produz uma coroa elétrica, um transmissor de íons conectado à rede de radiação de coroa elétrica e pelo menos uma fonte de eletricidade conectada ao transmissor de íons. Desse modo, o dispositivo de restauração de máscara médica fornece um efeito de restauração para a máscara médica. O pedido de patente está pendente de decisão, aguardando o início do exame técnico no INPI.
O pedido de patente de invenção n° BR 112022022449-4 das empresas italianas OSPEDALE SAN RAFFAELE S.R.L. e POLITECNICO DI MILANO foi publicado em 03 de janeiro de 2023. O pedido de patente refere-se a um aparelho (1) autônomo de pressão positiva contínua em vias aéreas para contrastar a insuficiência respiratória de um paciente, compreendendo uma máscara facial (10) para fornecer ar pressurizado contínuo às vias aéreas do paciente, e um dispositivo eletromecânico (20) possuindo um invólucro (22) direta e rigidamente conectável à máscara facial (10) para fornecer ar à dita máscara facial (10) a um valor de pressão controlado, sendo o dispositivo eletromecânico (20) compreendendo um canal pneumático (24) para fluxo do ar a ser fornecido à máscara facial (10) e uma unidade de controle (26) para gerenciar automaticamente o valor da pressão do ar dentro do canal pneumático (24), em que, o aparelho (1) compreende um ventilador de turbina (28) conectado à unidade de controle (26) e localizado no invólucro (22) do dispositivo eletromecânico (20) para pressurização do ar atmosférico a um valor de nível de pressão determinado, e, em que, o canal pneumático (24) inclui uma porção de entrada (241) localizada a montante do ventilador de turbina (28) para receber ar atmosférico, e uma porção de saída (242) localizada a jusante do ventilador de turbina (28) para fornecer o ar pressurizado à máscara facial (10) através de uma abertura de saída (21), sendo que o canal pneumático (24) longitudinalmente se estende da dita porção de entrada (241) para dita porção de saída (242). O pedido de patente está pendente de decisão, aguardando o início do exame técnico no INPI.
O pedido de patente de invenção n° BR 112022021254-2 da canadense MICHELLE SECOURS foi publicado em 27 de dezembro de 2022. O pedido de patente refere-se a uma lista de têxteis adequados e um método para combiná-los em um meio de filtração reutilizável durável com alta eficiência de filtração de partículas (PFE) e respirabilidade que dura mais de 50-75 ciclos de lavagem. O meio de filtração alcança o PFE apenas por meios mecânicos, sem pré-tratamentos físico-químicos frágeis e prejudiciais. Diferentes têxteis são montados considerando sua respirabilidade individual e sua complementaridade em termos de PFE em diferentes tamanhos de partículas para alcançar boa respirabilidade e alta PFE em uma ampla faixa (20nm-4µm) após muitos ciclos de lavagem ou várias camadas do mesmo têxtil são emparelhadas, enquanto se varia a orientação e as dimensões das fibras em cada camada para aumentar a eficiência. Este método de montagem melhora muito a PFE, a vida útil e a estabilidade de desempenho do meio de filtração ao abordar as fraquezas estruturais ligadas à anisotropia em cada camada e proteger suas fibras finas do desgaste mecânico e entupimento através de um emparelhamento do tipo célula de filtração fechada face a face. O pedido de patente está pendente de decisão, aguardando o início do exame técnico no INPI.
O pedido de patente de invenção n° BR 112022021254-2 da canadense MICHELLE SECOURS foi publicado em 27 de dezembro de 2022. O pedido de patente refere-se a uma lista de têxteis adequados e um método para combiná-los em um meio de filtração reutilizável durável com alta eficiência de filtração de partículas (PFE) e respirabilidade que dura mais de 50-75 ciclos de lavagem. O meio de filtração alcança o PFE apenas por meios mecânicos, sem pré-tratamentos físico-químicos frágeis e prejudiciais. Diferentes têxteis são montados considerando sua respirabilidade individual e sua complementaridade em termos de PFE em diferentes tamanhos de partículas para alcançar boa respirabilidade e alta PFE em uma ampla faixa (20nm-4µm) após muitos ciclos de lavagem ou várias camadas do mesmo têxtil são emparelhadas, enquanto se varia a orientação e as dimensões das fibras em cada camada para aumentar a eficiência. Este método de montagem melhora muito a PFE, a vida útil e a estabilidade de desempenho do meio de filtração ao abordar as fraquezas estruturais ligadas à anisotropia em cada camada e proteger suas fibras finas do desgaste mecânico e entupimento através de um emparelhamento do tipo célula de filtração fechada face a face. O pedido de patente está pendente de decisão, aguardando o início do exame técnico no INPI.
O pedido de patente de invenção n° BR 11 2022 023219 5 da empresa japonesa DAIO PAPER CORPORATION foi publicado em 20 de dezembro de 2022. O pedido de patente refere-se a uma máscara que inclui um corpo da máscara e materiais de ouvido, constituindo um par, acoplados no corpo da máscara, em que, em um estado antes do início do uso, os materiais de ouvido, constituindo o par, são separadamente acoplados uns com os outros, e providos em um lado da superfície externa do corpo da máscara, cada um dos materiais de ouvido, constituindo o par, é provido com uma parte de aba que se projeta a partir de uma borda do corpo da máscara em uma vista plana e, no início do uso, os materiais de ouvido, constituindo o par, são separados um do outro por pinçar e puxar a parte de aba. O pedido de patente está pendente de decisão, aguardando o início do exame técnico no INPI.
O pedido de patente de invenção n° BR 112022023373-6 da empresa americana KIMBERLY-CLARK WORLDWIDE, INC. foi publicado em 20 de dezembro de 2022. O pedido de patente refere-se a uma máscara de barreira ou máscara facial é fornecida que inclui um corpo de máscara que inclui uma porção de filtro, uma porção elástica superior e uma porção elástica inferior, onde o corpo de máscara inclui pelo menos uma camada fundida. A máscara facial também inclui uma ou mais tiras elásticas. Um método de formação de uma máscara facial também é fornecido, onde o método inclui o tratamento eletrostaticamente da camada fundida durante o processo de formação da máscara facial. O pedido de patente está pendente de decisão, aguardando o início do exame técnico no INPI.
O pedido de patente de modelo de utilidade n° BR 112022023311-6 da empresa israelense INSPIR LABS LTD. foi publicado em 20 de dezembro de 2022. O pedido de patente refere-se a uma máscara de ventilação à prova de aerossol que coleta e remove com eficiência e segurança as gotículas de aerossol. A máscara de ventilação médica compreendendo uma abertura de gás, uma estrutura de máscara tendo uma porção interna e uma porção externa, uma vedação interna tendo um aro interno, uma vedação externa tendo um aro externo e pelo menos uma porta de saída de vácuo conectada à estrutura de máscara para prover comunicação fluida com uma linha de vácuo.. O pedido de patente está pendente de decisão, aguardando o início do exame técnico no INPI.
O pedido de patente de invenção n° BR 11 2022 023311 6 da empresa israelense INSPIR LABS LTD. foi publicado em 20 de dezembro de 2022. O pedido de patente refere-se a uma máscara de ventilação à prova de aerossol que coleta e remove com eficiência e segurança as gotículas de aerossol. A máscara de ventilação médica compreendendo uma abertura de gás, uma estrutura de máscara tendo uma porção interna e uma porção externa, uma vedação interna tendo um aro interno, uma vedação externa tendo um aro externo e pelo menos uma porta de saída de vácuo conectada à estrutura de máscara para prover comunicação fluida com uma linha de vácuo. O pedido de patente está pendente de decisão, aguardando o início do exame técnico no INPI.
O pedido de patente de invenção n° BR 112022025324-9 da empresa japonesa DAIO PAPER CORPORATION foi publicado em 20 de dezembro 2022. O pedido de patente refere-se a um corpo da máscara, partes de gancho de ouvido em uma forma de folha que constituem um par, e materiais auxiliares em uma forma de folha interpostos para acoplar o corpo da máscara e as partes de gancho de ouvido, em que, em cada uma das partes de extremidade do corpo da máscara em uma direção esquerda e direita, as partes de gancho de ouvido e os materiais auxiliares são superpostos em um lado da superfície do corpo da máscara, bordas externas das partes de gancho de ouvido na direção esquerda e direita ficam situadas para dentro em relação às bordas externas do corpo da máscara na direção esquerda e direita e ficam situadas para dentro em relação às bordas externas dos materiais auxiliares na direção esquerda e direita, primeiras partes de acoplamento nas quais o corpo da máscara e os materiais auxiliares são acoplados em uma direção da espessura e segundas partes de acoplamento nas quais as partes de gancho de ouvido e os materiais auxiliares são acoplados na direção da espessura são formadas, e as segundas partes de acoplamento se estendem até as bordas externas das partes de gancho de ouvido na direção esquerda e direita. O pedido de patente está pendente de decisão, aguardando o início do exame técnico no INPI.

O pedido de patente de invenção n° BR 112022019815-9 da empresa chinesa LONGI GREEN ENERGY TECHNOLOGY CO., LTD. foi publicado em 22 de novembro de 2022. O pedido de patente refere-se a um eletrodo metálico de célula solar e um método de preparação para tal e uma máscara. O método de preparação para um eletrodo metálico de célula solar na presente invenção compreende: gravar a laser uma película polimérica de acordo com um formato de eletrodo desejado para preparar uma máscara; e fixar a máscara sobre um substrato e revestir a máscara com uma película metálica usando-se um método físico de deposição de vapor, de modo que um eletrodo metálico ou uma camada de semente de eletrodo no formato desejado desenvolve sobre o substrato. De acordo com o método da presente invenção, o custo de preparação é baixo, a condutividade de um eletrodo preparado é alta, a área de proteção de luz é pequena e a taxa de conversão fotoelétrica é alta. O pedido de patente está pendente de decisão, aguardando o início do exame técnico no INPI.
O pedido de patente de invenção n° BR 112022019542-7 da empresa americana SINTX TECHNOLOGIES, INC. foi publicado em 16 de novembro de 2022. O pedido de patente refere-se a uma máscara facial antiviral e métodos de uso da mesma para inativar um vírus em contato com a máscara facial. A máscara facial pode incluir um material fibroso com pó de nitreto de silício impregnado no mesmo e uma camada em torno do material fibroso. Em algumas modalidades, o nitreto de silício está presente no material fibroso a uma concentração de cerca de 1% em peso a cerca de 15% em peso. O pedido de patente está pendente de decisão, aguardando o início do exame técnico no INPI.
O pedido de patente de invenção n° BR 112022019306-8 da empresas americanas SHARON A. KEENE e BENJAMIN J. DAVENPORTXXXXXX foi publicado em 16 de novembro de 2022. O pedido de patente refere-se a uma proteção facial fechada ou aberta, respirador, máscara facial autoesterilizante emprega luz UV-C distante, germicida, e segura para exposição humana direta, mitigando o risco de aquisição ou transmissão de patógenos respiratórios, como o COVID 19. Acessórios de dispositivos ou lentes especiais direcionam a luz UV-C distante para a câmara respiratória e/ou áreas de reservatório de infecção, incluindo áreas nasais, orofaríngeas ou oculares para reduzir ou eliminar patógenos, servindo também como modalidade de tratamento. Em uma modalidade preferencial, a proteção facial tem uma seção frontal removível, que pode ser trocada ou substituída por seções que incluem vários atributos funcionais, enquanto mantém as proteções germicidas e evita a necessidade de remover o EPI durante essas atividades, incluindo consumo de líquidos, medicamentos orais ou alimentos, pois além de fornecer proteção antimicrobiana absorvente para espirros ou tosse ou absorção de secreção de rinorréia, ou um dispositivo de comunicação para lidar com deficiências de comunicação causadas por barreiras de proteção respiratória. O pedido de patente está pendente de decisão, aguardando o início do exame técnico no INPI.
O pedido de patente de invenção n° BR 102021007808-1 das universidades brasileiras FUNDAÇÃO UNIVERSIDADE DE BRASILIA e UNIVERSIDADE FEDERAL DE CAMPINA GRANDE foi publicado em 01 de novembro de 2022. O pedido de patente refere-se a um dispositivo respirador dinâmico com propriedades multifuncionais para impedir doenças infecciosas com propriedades de proteção autolimpante e drug delivery. É um respirador dinâmico desenvolvido com uma estrutura mecânica dinâmica de sistema de quinta ordem, com associação de um sistema de filtragem duplo fluxo com maior vazão de ar, em que o elemento filtrante faz tanto para entrada quanto para saída autolimpeza com a inativação viral por meio da nanocamada que realiza a ação filtrante de dupla face aplicada, formando nanoporos em volume com capacidade drug delivery. A invenção também promove a não propagação de micro-organismos e partículas virais em escala nanometrica (como o SARS-CoV-2) e oferece maior proteção ao usuário e dos pacientes por ele atendido. A dinâmica da variação do diâmetro e do tamanho dos poros no processo de construção mecânica com a análise da pressão distribuída promoveu a variação de densidade das tramas das fibras atuando no fator de qualidade, quando a proporção de massa de quitosana promoveu inovação no desempenho de filtração pois atingiu o comportamento do tamanho do poro e a distribuição do tamanho dos poros das nanocamadas gerando indicadores de desempenho vinculado a concentração de quitosana.. O pedido de patente está pendente de decisão, aguardando o início do exame técnico no INPI.
O pedido de patente de invenção n° BR 102021007808-1 das universidades brasileiras FUNDAÇÃO UNIVERSIDADE DE BRASILIA e UNIVERSIDADE FEDERAL DE CAMPINA GRANDE foi publicado em 01 de novembro de 2022. O pedido de patente refere-se a um dispositivo respirador dinâmico com propriedades multifuncionais para impedir doenças infecciosas com propriedades de proteção autolimpante e drug delivery. É um respirador dinâmico desenvolvido com uma estrutura mecânica dinâmica de sistema de quinta ordem, com associação de um sistema de filtragem duplo fluxo com maior vazão de ar, em que o elemento filtrante faz tanto para entrada quanto para saída autolimpeza com a inativação viral por meio da nanocamada que realiza a ação filtrante de dupla face aplicada, formando nanoporos em volume com capacidade drug delivery. A invenção também promove a não propagação de micro-organismos e partículas virais em escala nanometrica (como o SARS-CoV-2) e oferece maior proteção ao usuário e dos pacientes por ele atendido. A dinâmica da variação do diâmetro e do tamanho dos poros no processo de construção mecânica com a análise da pressão distribuída promoveu a variação de densidade das tramas das fibras atuando no fator de qualidade, quando a proporção de massa de quitosana promoveu inovação no desempenho de filtração pois atingiu o comportamento do tamanho do poro e a distribuição do tamanho dos poros das nanocamadas gerando indicadores de desempenho vinculado a concentração de quitosana.. O pedido de patente está pendente de decisão, aguardando o início do exame técnico no INPI.
O pedido de patente de invenção n° BR 112022017185-4 da empresa canadense NOVARESP TECHNOLOGIES INC. foi publicado em 18 de outubro de 2022. O pedido de patente refere-se a um método e aparelho para determinar e/ou prever comportamentos do sono e respiratórios para gerenciamento de pressão de vias aéreas. Tambémrefere-se a dispositivos, sistemas e métodos para controlar a operação de um dispositivo de assistência de respiração para um usuário. O controlador pode incluir uma entrada para receber dados do sensor para medir pelo menos um parâmetro de fluxo de ar do fluxo de ar do usuário; uma unidade de memória que armazena pelo menos um modelo de aprendizado de máquina e pelo menos um classificador ou preditor; e um processador que está configurado para realizar medições e gerar um sinal de controle para ajustar a operação do dispositivo de assistência de respiração por um período de tempo de monitoramento atual por: obtenção de dados de pressão de ar e/ou fluxo de ar medidos e dados de FOT medidos durante um período de tempo de monitoramento atual; realização de extração de recursos nos dados medidos para obter valores de recursos que são usados pelo modelo de aprendizado de máquina empregado pelo menos um classificador ou preditor para determinar uma propriedade do usuário; e ajuste do sinal de controle com base na propriedade determinada. O pedido de patente está pendente de decisão, aguardando o início do exame técnico no INPI.
O pedido de patente de invenção n° BR 112022017432-2 da empresa americana FALCON POWER, LLC foi publicado em 18 de outubro de 2022. O pedido de patente refere-se a respirador com sistema de depuração de ar. Um sistema de envio de ar para enviar um fluxo de ar sem patógeno pode incluir um coletor de ingresso de ar, uma unidade esterilizadora com um tanque e pelo menos uma unidade ultravioleta (UV), uma unidade de refrigeração com pelo menos um coletor de refrigeração e pelo menos uma unidade de troca de calor, e uma saída de usuário. O coletor de ingresso de ar, o tanque, o pelo menos um coletor de refrigeração, e uma saída de usuário podem estar em comunicação de fluido nesta ordem geral. A pelo menos uma unidade ultravioleta (UV) pode ser montada dentro do tanque, com a pelo menos uma unidade UV configurada para gerar luz ultravioleta para promover extermínio de patógenos. A pelo menos uma unidade de troca de calor é configurada para refrigerar o fluxo de ar de saída até uma temperatura adequada para respiração por um usuário e para aquecer um fluxo de ar de entrada no coletor de ingresso de ar. O pedido de patente está pendente de decisão, aguardando o início do exame técnico no INPI.
O pedido de patente de invenção n° BR 102021002062-8 da empresa brasileira INSTITUTO FEDERAL DE EDUCAÇÃO, CIÊNCIA E TECNOLOGIA DE PERNAMBUCO foi publicado em 16 de agosto de 2022. O pedido de patente refere-se a um processo/mecanismo de proteção facial denominado de Processo e EPI de Proteção Facial Ativa Contra Contaminação por Agentes Tóxicos e Micro-Organismos. O invento compreende o processo e/ou mecanismo de proteção ativa contra agentes contaminantes tóxicos, micro-organismos e vírus por meio de uma barreira fluida na forma de cortina de ar nas bordas de protetores faciais, estabelecendo um gradiente de pressão, de ar filtrado ou não filtrado, que impede a entrada de agentes carreados por aerossóis no espaço das mucosas faciais do usuário. O pedido de patente está pendente de decisão, aguardando o início do exame técnico no INPI.
O pedido de patente de modelo de utilidade n° BR 202021001690-1 dos brasileiros LUCINEIA DA SILVA SANTOS e LUCAS CAVALCANTE GUEDES foi publicado em 18 de agosto de 2022. O pedido de patente refere-se a um suporte para máscaras de proteção facial que, de acordo com as suas características, propicia a formação de um suporte para máscaras (1) em estrutura própria e específica baseada em uma caixa acondicionadora (2) com portas (2C) para acesso e ganchos internos (3) para sustentação individualizada das máscaras de proteção facial, com vistas a possibilitar uma completa otimização no conjunto de procedimentos destinados a acondicionar e proteger as máscaras de proteção facial diretamente pelos usuários, aliado a elevada ergonomia e higiene e, tendo como base, um suporte para máscaras (1) com grande resistência, segurança e versatilidade. O pedido de patente está pendente de decisão, aguardando o início do exame técnico no INPI.

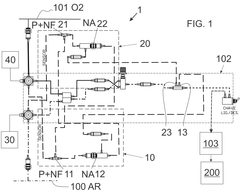
O pedido de patente de invenção n° BR 102020026513-0 do brasileiro ANTÔNIO ROBERTO FRANCO DE LIMA foi publicado em 05 de julho de 2022. O pedido de patente refere-se a um sistema de segurança para ventilador pulmonar. O presente pedido de patente de invenção refere-se a sistema de segurança para ventilador pulmonar, pertencente ao setor técnico dos equipamentos de uso médico, estes fazendo parte de sistema formado: por linha de Ar; por linha de Oxigênio; por uma pluralidade de conjuntos de equipamentos de uso médico, cada conjunto formado: por misturador; e por equipamento de uso médico ligado às vias respiratórias de um paciente , dito sistema de segurança (1) formado por dois circuitos pneumáticos iguais, paralelos e interligados, que colaboram com o misturador: primeiro circuito pneumático (10) de monitoração da linha de ar e de suprimento de oxigênio quando a linha de ar deixa de funcionar em caso de pane; segundo circuito pneumático de monitoração da linha de oxigênio e de suprimento de ar quando a linha de oxigênio deixa de funcionar em caso de pane; ditos circuitos pneumáticos (10) e (50) baseados em válvula de segurança NA (11) e válvula de segurança NA (51), respectivamente, as quais são normalmente abertas quando despressurizadas e normalmente fechadas quando pressurizadas. O pedido de patente está pendente de decisão, aguardando o início do exame técnico no INPI.

O pedido de patente de invenção n° BR 102020025717-0 do brasileiro HUGO JULIO KOPELOWICZ foi publicado em 28 de junho de 2022. O pedido de patente refere-se a Máscara de proteção do aparelho visual, respiratório e do rosto, construída por elementos simples de baixo custo, adequando-se às mais diferentes formas cranianas sendo ela caracterizada por ser feita através da utilização de uma lâmina de plástico flexível cristalina (1) ao que se tem aderido pelo menos 2 peças de tecidos (2,3) que formatam ela e determinam a distância do rosto quando sujeitadas por pelo menos um elástico ou um elemento de fixação ajustável (6). Um primeiro tecido (2) aderido na parte superior da lâmina 1 e uma segunda peça de material flexível impermeável (3) na altura das narinas tendo nele fixados espumas (4) e/ou arame deformável de maneira de vedar a área ocular do exterior e do aparelho respiratório do usuário. Um terceiro tecido permeável aderido por baixo destas duas em forma de concha para envolver o aparelho respiratório, estende-se até o queixo ou debaixo dele sendo puxado nas suas partes laterais por dois elásticos (8) ou numa de outra de suas realizações preferenciais uma terceira peça de tecido permeável (9) aderido na parte inferior da lâmina cristalina 1 estendendo-se até o pescoço do usuário, vedando assim a área respiratória. O pedido de patente está pendente de decisão, aguardando o início do exame técnico no INPI.

O pedido de patente de invenção n° BR 102020025685-8 da universidade brasileira UNIVERSIDADE FEDERAL DE MINAS GERAIS foi publicado em 21 de junho de 2022. O pedido de patente refere-se a um respirador pulmonar pneumático. A tecnologia apresenta um respirador pulmonar mecânico de acionamento pneumático com meios para controle de volume de ar deslocado nos ciclos de inspiração/expiração a partir do posicionamento de válvulas direcionais fim de curso. O respirador compreende uma manopla de ajuste de volume, um conjunto camisa e êmbolo, dentre outros componentes. As principais vantagens do respirador proposto são: 1) dispensa a utilização de energia elétrica porque a energia necessária para seu funcionamento é obtida de uma linha de ar comprimido; 2) é compacto, podendo ser facilmente transportado e acondicionado; 3) o ajuste de volume pode ser feito a qualquer tempo, inclusive com o dispositivo em funcionamento; 4) é uma alternativa segura para promover suporte respiratório em situações e ambientes em que o fornecimento de energia elétrica é precário ou inexistente. O pedido de patente está pendente de decisão, aguardando o início do exame técnico no INPI.
O pedido de patente de invenção n° BR 102020025684-0 do brasileiro WALLACE ROCHA DE FARIA foi publicado em 21 de junho de 2022. O pedido de patente refere-se a uma máscara de proteção respiratória com dispositivo conjugado de filtragem molecular do ar inspirado através de mecanismo de sucção e ventilação elétrico, cuja função consiste em impedir que o usuário inspire contagiantes aeróbicos ou sofra contágio ocular; proteção à saúde pessoal do usuário e retentor de contágio por disseminação; o ar ambiente será aspirado por um ventilador para dentro da caixa acopladora e a pressão exercida pela sucção fará o ar ser impelido através do elemento filtrante existente no interior da caixa e a seguir será direcionado pelas canaletas de dispersão para a face do usuário isento de qualquer partícula viral, bacteriológica ou qualquer contaminante; o ventilador será alimentado por uma bateria elétrica de lítio que em sua documentação indica o desempenho de funcionamento de no mínimo 24 horas e no máximo de 48 horas ininterruptas, exigindo que a mesma ser recarregada pelo período total de 8 horas; interruptor simples liga e desliga para acionamento do ventilador, os conectores para ligações entre os fios será o de modelo k1. O pedido de patente está pendente de decisão, aguardando o início do exame técnico no INPI.
O pedido de patente de invenção n° BR 102020026513-0 do brasileiro ANTÔNIO ROBERTO FRANCO DE LIMA foi publicado em 05 de junho de 2022. O pedido de patente refere-se a um sistema de segurança para ventilador pulmonar, pertencente ao setor técnico dos equipamentos de uso médico, estes fazendo parte de sistema formado: por linha de Ar (100); por linha de Oxigênio (200); por uma pluralidade de conjuntos de equipamentos de uso médico, cada conjunto formado: por misturador (300); e por equipamento de uso médico (301) ligado às vias respiratórias de um paciente (400), dito sistema de segurança (1) formado por dois circuitos pneumáticos iguais, paralelos e interligados, que colaboram com o misturador (300): primeiro circuito pneumático (10) de monitoração da linha de ar (100) e de suprimento de oxigênio quando a linha de ar (100) deixa de funcionar em caso de pane; segundo circuito pneumático (50) de monitoração da linha de oxigênio (200) e de suprimento de ar quando a linha de oxigênio (200) deixa de funcionar em caso de pane; ditos circuitos pneumáticos (10) e (50) baseados em válvula de segurança NA (11) e válvula de segurança NA (51), respectivamente, as quais são normalmente abertas quando despressurizadas e normalmente fechadas quando pressurizadas. O pedido de patente está pendente de decisão, aguardando o início do exame técnico no INPI.

O pedido de patente de invenção n° BR 102020022621-5 do brasileiro MARCO ANTONIO BALTHAZAR GUEDES. O pedido de patente refere-se a uma haste para protetor facial e ocular com acoplamento de acessórios. Refere-se a presente patente de invenção de haste para protetor facial e ocular com acoplamento de acessórios, aplicado na área de protetores faciais e oculares, com grande indicação para uso médico, odontológico, hospitalar, podendo ser usado em indústrias, em atividades de atendimento em comércios entre outros, com finalidade de proteção individual, protegendo a face com protetor facial e os olhos com protetor ocular, além de ter a possibilidade de acoplar acessórios para iluminação, como objetivo de proteção ao usuário contra respingos, aerossol e contaminações, auxiliando nas operações em atividades de risco a saúde com possibilidade acoplar iluminação de fotóforos, trazendo vantagens de dispor de fácil montagem e desmontagem, resultar em melhor relação custo/benefício, promover maior proteção contra contaminações e proporcionar maior conforto ao usuário. O pedido de patente está pendente de decisão, aguardando o início do exame técnico no INPI.
O pedido de patente de invenção n° BR 102021000753-2 da empresa brasileira 18 EMPREENDIMENTOS EIRELI EPP foi publicado em 26 de julho de 2022. O pedido de patente refere-se a respirador de ventilação não invasiva é para o tratamento de pacientes hospitalizados com deficiência respiratória. Foi inventado para suprir as necessidades dos cuidados, principalmente, dos pacientes com a COVID-19. O respirador de ventilação não invasiva é um balão produzido em material PVC transparente/incolor, próprio para uso medicinal, antialérgico, usado na cabeça do paciente. O mesmo recebendo oxigênio por meio de terminal de linha de oxigênio, com pressão interna ideal ministrada pelo profissional de medicina. Regulada a pressão interna por válvula peep. O balão é preso a uma base inflável e tiras reguláveis pressionam o equipamento pelas axilas do paciente dando anatomia ao corpo e vedação para manter a pressão do oxigênio no paciente. Respirador de ventilação não invasiva tem a função de auxiliar a respiração do paciente, postergando a administração cirúrgica e entubação do paciente logo no início do tratamento. O pedido de patente está pendente de decisão, aguardando o início do exame técnico no INPI.
O pedido de patente de invenção n° BR 10 2020 024147 8 do brasileiro DIEGO VALIM DE CAMARGO foi publicado em 07 de junho de 2022. O pedido de patente refere-se a método baseado em um programa de computador para obtenção de imagem facial e máscara obtida com marcações realizadas no contorno de uma área de interesse no rosto de um usuário, obtidas a partir de medidas antropométricas, com a finalidade de obter uma máscara individualizada com o posicionamento e a marcação ideal de uma área facial de interesse. O pedido de patente está pendente de decisão, aguardando o início do exame técnico no INPI.
O pedido de patente de invenção n° BR 10 2020 023230 4 do brasileiro a empresa ILIEL RANGEL DE SOUZA foi publicado em 24 de maio de 2022. O pedido de patente refere-se a uma mascara composta por módulo inferior (1) e superior (2), possuindo a parte inferior uma boca inferior (1.2) possui sistema de elástico que uma vez colocada elo usuário, fixa esta boca ao pescoço não deixando entrar nenhum tipo de corpo estranho e boca superior (1.1) será fixada à módulo superior da máscara o módulo superior (2) tem formato de sacola ou capuz, fabricada em material transparente e de alta resistência e que cobrirá toda a cabeça do usuário e fixada à parte de baixo através das fitas adesivas , a parte superior será fixada na inferior através de fitas adesivas que fixarão a módulo superior com a parte de baixo da mascara , Por ser fabricada em material resistente (plástico, grafeno, fulereno, etc), a máscara duplo módulo tem vida útil maior que qualquer produto similar existente no mercado. O pedido de patente está pendente de decisão, aguardando o início do exame técnico no INPI.

A patente de invenção n° BR 112017011539-5 da empresa americana 3M INNOVATIVE PROPERTIES COMPANY teve a carta-patente expedida em 03 de março de 2022. A patente refere-se a um dispositivo de proteção respiratória de uso pessoal que compreende uma painel superior (18), um painel central (16) e um painel inferior (20), sendo o painel central (16) sendo separado de cada um dos painéis superior e inferior (18) por uma primeira e uma segunda dobras (36), costura, solda (76) ou ligação, respectivamente, de modo que o dispositivo é capaz de ser dobrado de forma plana para armazenamento ao longo da primeira e da segunda dobras (36), costura, solda (76) ou ligação, e ser aberto para formar uma câmara de ar em formato de bojo sobre o nariz e a boca do usuário quando em uso, sendo que a porção inferior (20) tem uma superfície externa do painel inferior (20), e sendo a aba (32) para pega durante o uso para abrir o dispositivo. A carta-patente terá validade de 20 anos contados a partir de 03 de dezembro de 2015.


O pedido de patente de invenção n° BR112021011172-7 dos brasileiros GUILHERME THIAGO DE SOUZA (BR/SP) e JAIME EDUARDO GALVEZ AVILES (BR/PR) foi publicado em 03 de março de 2022. O pedido de patente refere-se a a um capacete para respiração artificial (100) com estrutura monobloco compreendendo bolha (200), aro de sustentação (300), tira de soldagem interna (400), película de vedação (500), cinta externa (600) e capa de revestimento e acabamento (700). A presente invenção se refere ainda a um método para fabricação de um capacete (100) de acordo com a invenção e a um método para fabricação de uma ou mais escotilhas (220) para um capacete (100) de acordo com a invenção. O pedido de patente está pendente de decisão, aguardando o início do exame técnico no INPI.

O pedido de patente de invenção n° BR 112015018554-1 da empresa americana NATURS DESIGN, INC. foi publicado em 18 de julho de 2017 e deferido em 03 de março de 2022. O pedido de patente refere-se a um revestimento para uso com uma máscara respiratória que tem uma porção ajustável à face com almofadas nasais, sendo que o revestimento inclui um corpo construído a partir de um material absorvente que tem um primeiro conjunto de ranhuras e um segundo conjunto de ranhuras afastado do primeiro conjunto de ranhuras. O primeiro conjunto de ranhuras recebe as almofadas nasais e o segundo conjunto de ranhuras se alinha com as almofadas nasais quando o revestimento está em uma configuração dobrada. O pedido de patente está pendente de decisão, aguardando o início do exame técnico no INPI. A Carta Patente n° BR11 2015 018554 1 foi expedida em 19 de abril de 2022. A patente de invenção terá validade de 20 (vinte) anos contados a partir de 20 de janeiro de 2014.
O pedido de patente de invenção n° BR 102020016504-6 da empresa HOSPITAL ALEMÃO OSWALDO CRUZ foi publicado em 22 de fevereiro de 2022. O pedido de patente refere-se a um sistema de conversão (10) do tipo aplicado em ventilador mecânico não invasivo – VMNI – (VN) com circuito (C1) formado por ramo inspiratório (R1) instalado entre o ventilador mecânico (Vm) e a válvula exalatória (30), por sua vez, conectada no filtro umidificador (F1) e idealizado para tratamento de insuficiência respiratória aguda em unidades de terapia intensiva - UTI´s -, enfermarias, pronto atendimento, transporte de pacientes ou até mesmo para uso domiciliar; dito sistema (10) converte o circuito de ramo único (C1) de ventilador mecânico não invasivo – VMNI – (Vm) em circuito de ramo duplo (C2) para o redirecionamento do ar expelido contaminado (AE) pelo paciente (PC) em tratamento, especialmente, por Covid-19 ou outra doença com alta taxa de contaminação direcionando para tubulação ramificada (T2) e filtro HEPA bacteriano e viral (20) adequado que descontamina o ar expelido contaminado (AE) obtendo ar descontaminado (AD).. O pedido de patente está pendente de decisão, aguardando o início do exame técnico no INPI.


O pedido de patente de invenção n° BR 112022000104-5 da empresa italiana GVS S.P.A. foi publicado em 15 de fevereiro de 2022. O pedido de patente refere-se a um dispositivo que pode capturar e remover um condensado derivado de um fluido que é exalado por um paciente conectado a um circuito de ventilação, compreendendo um corpo conectado por meio de um primeiro duto a um aparelho de ventilação desse circuito, é conectado por meio de um segundo duto à tubulação conectada ao paciente, em que o referido corpo apresenta uma primeira e uma segunda porções conectadas uma à outra, com a segunda porção sendo capaz de coletar o mencionado condensado a partir do fluido exalado, e a referida segunda porção compreendendo uma parede inferior a partir da qual se eleva uma parede lateral que delimita uma cavidade para coleta do referido condensado. É provido um elemento absorvente que pode absorver esse condensado coletado na segunda porção desse corpo, com o dito elemento absorvente sendo removível do referido corpo, de modo a permitir sua substituição. O pedido de patente está pendente de decisão, aguardando o início do exame técnico no INPI.
O pedido de patente de invenção n° BR 102020015443-5 do brasileiro WESLLEY FERNADES DE ARAUJO (BR/DF) foi publicado em 08 de fevereiro de 2022. O pedido de patente refere-se a uma máscara termoformada em TNT (T) ou uma máscara injetada em polímero (P), particionadas em um módulo superior, que abriga a região do nariz do usuário, e um módulo inferior, que abriga a região da boca, que pelo fato de serem estanques entre si e por possuírem filtros de proteção segura não permitem a mistura do gás carbônico da exalação com o oxigênio da inalação, melhorando assim a oxigenação do corpo. O pedido de patente está pendente de decisão, aguardando o início do exame técnico no INPI.
O pedido de patente de invenção n° BR 112021025993-7 da empresa americana VITRO FLAT GLASS LLC foi publicado em 08 de fevereiro de 2022. O pedido de patente refere-se a um substrato tendo uma máscara de revestimento incinerável inclui: um substrato tendo uma primeira seção e uma segunda seção; uma camada de revestimento de máscara sobre a primeira seção do substrato; e uma camada de revestimento funcional sobre pelo menos uma porção da camada de revestimento da máscara e sobre a segunda seção do substrato. Um método de segmentação de um substrato tendo uma camada sobre o mesmo, um método de preparação de um substrato segmentado tendo uma camada sobre o mesmo, um substrato segmentado e uma transparência também são divulgados. O pedido de patente está pendente de decisão, aguardando o início do exame técnico no INPI.
O pedido de patente de invenção n° BR 112021026094-3 do americano DENNIS F. GROSS foi publicado em 08 de fevereiro de 2022. O pedido de patente refere-se a uma máscara de rosto terapêutica tendo uma pluralidade de diodos emitindo luz. A máscara de rosto terapêutica substancialmente acomoda um rosto do usuário. Luz de uma intensidade e cor particular é projetada na região facial do usuário para terapia facial. Os diodos emitindo luz (LEDs) são cobertos por uma folha de material silicone transparente para evitar contato direto dos LEDs com a pele facial do usuário. A máscara de rosto terapêutica tem um módulo de comunicação em ordem para controlar a intensidade, frequência e cor dos diodos emitindo luz quando usado pelo usuário. O pedido de patente está pendente de decisão, aguardando o início do exame técnico no INPI.
O pedido de patente de invenção n° BR 102020014870-2 dos brasileiros OMAR CLAUDIO ARRIAGADA LOBOS e STELIO VOTA DE CARVALHO foi publicado em 01 de fevereiro de 2022. O pedido de patente refere-se a uma estrutura semi flexível reutilizável plana e vazada, que ao ser montada toma a forma estruturada tridimensional ergonômica com regulagem de tamanho, para ser acoplada a máscaras de tecido com o objetivo de obter melhorias em sua função e a efetiva vedação das mesmas, também prolongar o uso das combinações de composto multicamadas laváveis das máscaras e a rápida atualização dos mesmos conforme as normas vigentes, contribuindo para evitar a escassez de matérias primas específicas da área hospitalar e minimizar a quantidade de descartáveis. O pedido de patente está pendente de decisão, aguardando o início do exame técnico no INPI.
O pedido de patente de invenção n° BR 102020013267-9 do brasileiro MARCELO PEREIRA NUNES foi publicado em 11 de janeiro de 2022. O pedido de patente refere-se a um identificador visual (10) aplicado em máscara respiratória (30) de usuário (US) para proteção contra vírus como covid-19 ou outro similar; dito identificador visual (10) é compreendido por uma impressão gráfica (20) obtida por tinta à base de cloreto de cobalto, a qual é aplicado na face externa (30a) da máscara respiratória (30); dita impressão gráfica (20) passível de ser configurada por logotipo, faixa com gradação, desenho artístico ou outro adequado. O pedido de patente está pendente de decisão, aguardando o início do exame técnico no INPI.

O pedido de patente de invenção n° BR 112021022626-5 da empresa americana M INNOVATIVE PROPERTIES COMPANY foi publicado em 04 de janeiro de 2022. O pedido de patente refere-se a uma máscara respiratória e uma vedação facial para uma máscara respiratória, sendo que a vedação facial é configurada para manter uma vedação contra a face do usuário mesmo quando o usuário move suas mandíbulas e/ou bochechas. Em uma modalidade, uma máscara respiratória compreende um corpo e uma vedação facial acoplada ao corpo, e a vedação facial inclui um apoio de vedação configurado para entrar em contato com a face do usuário e uma porção compressível estendendo-se para longe do apoio de vedação. Em uma modalidade, a vedação facial inclui adicionalmente um elemento de retenção de queixo configurado para receber ao menos uma porção do queixo do usuário no mesmo. Em uma modalidade, a porção compressível é transicionável entre uma primeira condição não comprimida e uma segunda condição comprimida. O pedido de patente está pendente de decisão, aguardando o início do exame técnico no INPI.
O pedido de patente de invenção n° BR 11 2022 023594 1 da empresa turca SANKO TEKSTIL ISLETMELERI SAN. VE TIC. A.S. foi publicado em 20 de dezembro de 2022. O pedido de patente refere-se a uma máscara respiratória incluindo um corpo de tecido de máscara (1) e uma ou mais tiras de retenção (3) para prender o corpo da máscara ao rosto de um usuário, o corpo da máscara sendo feito de um tecido entrelaçado tendo fios de trama e fios de urdidura, o fios de trama e urdidura tendo uma contagem compreendida entre 10 e 1100 den, a densidade de urdidura sendo entre 14-130 urdiduras/cm, a densidade de trama sendo entre 12-70 tramas/cm, sendo que pelo menos parte do corpo é provido com um líquido - polímero reticulado repelente. O pedido de patente está pendente de decisão, aguardando o início do exame técnico no INPI.
O pedido de patente de modelo de utilidade n° BR 202020012260-1 da universidade brasileira UNIVERSIDADE FEDERAL DE UBERLÂNDIA foi publicado em 28 de dezembro de 2021. O pedido de patente refere-se a uma máscara de uso comum anatômica, dobrável, ajustável, com viseira para proteção facial completa, anti-respingos, anti-embaçamento, anti-umidade com filtro reutilizável e lavável que proporciona uma proteção eficiente contra doenças respiratórias e a COVID-19. O pedido de patente está pendente de decisão, aguardando o início do exame técnico no INPI.
O pedido de patente de invenção n° BR 102020010877-8 do brasileiro HELENO KENTARO KONISHI foi publicado em 14 de dezembro de 2021. O pedido de patente refere-se a componentes para montagem de máscara de proteção inteiriça, método de fixação e ajuste. Uma máscara montada a partir de apenas três componentes plásticos, os quais podem ser produzidos por moldes simples, em conjunto ou separados, agilizando e barateando a produção e garantindo o suprimento da demanda especialmente em épocas de crise. Os componentes são projetados para que a montagem da máscara seja realizada pelo próprio usuário de forma simples, rápida e fácil, podendo ser também desmontada de forma igualmente fácil para ser higienizada quando necessário para reutilização. Seu material integralmente plástico e reciclável permite a higienização com água e sabão, álcool, água sanitária e qualquer outro produto higienizante possível. O pedido de patente está pendente de decisão, aguardando o início do exame técnico no INPI.
O pedido de patente de invenção n° BR 102020011103-5 do brasileiro HELBERT RIOS COELHO foi publicado em 14 de dezembro de 2021. O pedido de patente refere-se a um dispositivo prendedor de máscara facial ao rosto do usuário, caracterizado por ser constituído de componentes básicos que são: suporte (1) que é um elemento confeccionado em material plástico ou similar contendo pequenos cortes diagonais opostos formando os ganchos de fixação (2). A montagem do dispositivo é feita primeiramente prendendo as tiras elásticas da máscara uma em cada lado do suporte (1) através dos ganchos de fixação (2) ajustando o tamanho desejado e em seguida colocando sobre a parte de três da cabeça do usuário, que pode utilizar a máscara tranquilamente com mais conforto e comodidade sem a pressão nas orelhas. O pedido de patente está pendente de decisão, aguardando o início do exame técnico no INPI.

O pedido de patente de invenção n° BR 102020010841-7 da universidade brasileira UNIVERSIDADE ESTADUAL DA PARAIBA foi publicado em 14 de dezembro de 2021. O pedido de patente refere-se a um ventilador mecânico compreendendo microprocessamento de modulação com solenoide que tem como principal objetivo produzir um dispositivo ventilador pulmonar (VP), também chamado de ventilador mecânico (VM), para adultos, por pressão positiva, com controle microprocessado, ciclado, possibilitando a implementação de uma arquitetura de sistema com algoritmos de controle de ventilação mecânica de forma programável, sem mudanças de hardware e baixo custo de produção. O pedido de patente está pendente de decisão, aguardando o início do exame técnico no INPI.
O pedido de patente de invenção n° BR 102020010449-7 da americana CÁTIA MARCONDES CLARK e do brasileiro MILTON FLAVIO MACEDO (BR/SP) foi publicado em 07 de dezembro de 2021. O pedido de patente refere-se a um a um novo ventilador pulmonar emergencial particularmente desenvolvido para obter o controle dos parâmetros essenciais do ciclo respiratório de um paciente e, com isso, reproduzir de forma mais próxima a onda cíclica respiratória do paciente. Mais particularmente, o ventilador pulmonar emergencial da presente invenção é formado por uma estrutura compacta (2) na qual são instalados um motor elétrico (3), ao menos uma fonte de energia (4) e possui, ainda, um mecanismo de acomodação e compressão (5) de um Ambu (6), compreendendo, ainda: um módulo de controle de velocidade (7) conectado ao motor elétrico (3) cujo eixo de saída sustenta um reprodutor de onda do ciclo respiratório (8) que está associado ao mecanismo de acomodação e compressão (5) e é formado por um eixo came assimétrico (12) composto por ao menos três fases representativas do ciclo respiratório, e compreende, ainda, um módulo de ajuste fino do volume insuflado (9) que está associado ao berço de apoio (14) do mecanismo de acomodação e compressão (5) do Ambu (6). O pedido de patente está pendente de decisão, aguardando o início do exame técnico no INPI.
O pedido de patente de invenção n° BR 102020011718-1 da empresa brasileira ADECORE COMERCIO DE TECIDOS PERSONALIZADOS LTDA. foi publicado em 21 de dezembro de 2021. O pedido de patente refere-se a uma disposição construtiva de uma máscara facial do tipo que é empregada para cobrir a região do nariz e boca do usuário (humano), principalmente em aplicações hospitalares. A presente máscara compreende inicialmente um bojo anterior, dotado de alças laterais, e compreende uma primeira camada externa anterior constituída de tecido de poliéster, em cuja face posterior é aderida integralmente uma camada de TNT (tecido não tecido de polipropileno). Sendo compreendida também uma segunda estrutura, disposta de modo espelhado, posteriormente à primeira estrutura, compreendendo uma camada externa posterior constituída de tecido de poliéster, em cuja face anterior é aderida integralmente uma camada de TNT (tecido não tecido de polipropileno), formando a referida segunda estrutura única e cooperante. Sendo que, ambas as estruturas são unidas entre si por meio de suas bordas perimetrais, de modo que assim, as faces externas de ambas as camadas de TNT e permaneçam dispostas de fronte uma a outra, conservando um espaço livre entre ambas. O pedido de patente está pendente de decisão, aguardando o início do exame técnico no INPI.

O pedido de patente de invenção n° BR 102020012284-3 da universidade brasileira UNIVERSIDADE FEDERAL DE UBERLÂNDIA foi publicado em 21 de dezembro de 2021. O pedido de patente refere-se a uma máscara Respiratória, como parte dos Equipamentos de Proteção Individual (EPI's) para uso de profissionais de saúde em contato com pessoas acometidas por doenças respiratórias infecciosas. Trata-se de uma proposta, compatível com as soluções indicadas pelas medidas regulatórias de combate e controle do surto de disseminação do novo coronavírus (SARS-Cov-2). A máscara compreende uma camada externa (1), uma segunda camada (2), a terceira camada de filtro reutilizável lavável (3), uma quarta camada (4) de filtro reutilizável lavável, um puxador para remoção dos filtros (5), um suporte ou clipe nasal acolchoado (6) na terceira camada (3), um suporte ou clipe nasal regulável (7) na camada externa (1), um par de dispositivos de regulagem (8) da pressão do elástico roliço (9), um par de dispositivos (10) adesivos de engate da viseira transparente (11), um par de protetores das orelhas (12), uma presilha de dupla-face com ajuste de pressão (13), um protetor para vedação frontal e temporal da cabeça (14) e um par de ilhoses (15) que reforçam os furos. O pedido de patente está pendente de decisão, aguardando o início do exame técnico no INPI.

O pedido de patente de invenção n° BR 102020010359-8 do brasileiro ÁLVARO PEREIRA IACCINO foi publicado em 07 de dezembro de 2021. O pedido de patente refere-se a um método que utiliza alternância e padronização de cores em um kit (1) contendo quatro invólucros (4, 7, 10, 13) com quatro máscaras KN95 (5, 8, 11, 14), embaladas individualmente na cor correspondente, sendo os quatro invólucros (4, 7, 10, 13) e as quatro máscaras KN95 (5, 8, 11, 14) identificadas para uso ordenado e sequencial do primeiro (6) ao quarto (15) dia até completar oito ciclos ou trinta e dois dias, desse modo otimizando e universalizando o uso imediato das máscaras KN95 para a sociedade em geral. O pedido de patente está pendente de decisão, aguardando o início do exame técnico no INPI.

O pedido de patente de invenção n° BR 102020009362-2 da empresa brasileira YMERSA SOLUÇÕES EM REALIDADE VIRTUAL E DESENVOLVIMENTO PROFISSIONAL e do brasileiro DANIEL SILVA POLARI (BR/DF) foi publicado em 23 de novembro de 2021. O pedido de patente refere-se a uma máscara facial filtrante recondicionável, que tem por finalidade reduzir o descarte de máscaras de proteção individual, enquanto garante a segurança dos profissionais em contato com agentes contaminantes. Tal máscara pode ser recondicionada mediante higienização apropriada após o uso. A máscara pode ser construída em escala modular, através da união de peças sem a necessidade de costura, ou ainda ser confeccionada em peça única de material filtrante. O pedido de patente está pendente de decisão, aguardando o início do exame técnico no INPI.

O pedido de patente de invenção n° BR 102020009456-4 do brasileiro MOACIR FERREIRA BRITO (BR/SP) foi publicado em 23 de novembro de 2021. O pedido de patente refere-se a um respirador facial transparente com compartimento para elemento filtrante descartável. O pedido de patente está pendente de decisão, aguardando o início do exame técnico no INPI.

O pedido de patente de invenção n° BR 112021018094-0 da empresa brasileira MAGNAMED TECNOLOGIA MEDICA S.A. foi publicado em 23 de novembro de 2021. O pedido de patente refere-se a um ventilador pulmonar de transporte e, mais especificamente, a um ventilador pulmonar que permite a seleção automática entre oxigênio e ar para alimentação de um sistema de ventilação do tipo venturi. O ventilador de transporte da presente invenção compreende um corpo em monobloco com pelo menos uma entrada de oxigênio medicinal (1); pelo menos uma entrada de ar comprimido (2), e pelo menos uma entrada de ar ambiente (8); pelo menos uma válvula seletora (4) integrada ao corpo em monobloco e adaptada para permitir, seletivamente, a passagem de oxigênio medicinal ou de ar comprimido; um sistema venturi, interno ao corpo em monobloco, que compreende um bico injetor (6) e um tubo venturi (7), o bico injetor recebendo o oxigênio medicinal ou o ar comprimido que passa pela válvula seletora (4) e gerando um jato em direção ao tubo venturi (7), o jato arrastando ar ambiente através da entrada de ar ambiente (8) para gerar uma mistura de gases a ser ventilada a um paciente; e um sensor de fração inspirada do oxigênio (11) que mede a concentração de oxigênio na mistura de gases; e um sistema de controle eletrônico que controla a válvula seletora (4) para permitir a passagem de oxigênio medicinal ou ar comprimido com base na concentração de oxigênio medida pelo sensor de fração inspirada do oxigênio (11). O pedido de patente está pendente de decisão, aguardando o início do exame técnico no INPI.

O pedido de patente de invenção n° BR 102020009003-8 dos brasileiros JOSÉ HENRIQUE MESSIAS e EDILSON DA CUNHA SMANIOTO foi publicado em 09 de novembro de 2021. O pedido de patente refere-se a um capacete para proteção facial formado por uma parte superior (2) em polímero transparente rígido com arnês de ajuste e alojamento para troca gasosa e uma parte inferior (3) em plástico flexível, que permite o livre movimento da cabeça do usuário e promove total vedação do pescoço em relação ao interior do capacete (1), sendo ambas as partes unidas e fixadas por um anel externo macio. O pedido de patente está pendente de decisão, aguardando o início do exame técnico no INPI.

O pedido de patente de invenção n° BR 102020008441-0 da empresa brasileira FABRICIO AURELIO AVELAR - EPP foi publicado em 09 de novembro de 2021. O pedido de patente refere-se a uma nova máscara facial filtrante (1) a qual foi projetada e desenvolvida para ser utilizada como equipamento de proteção individual (EPI) cujas características foram propostas para, além de propiciar a devida proteção do indivíduo, melhorar significativamente o conforto e resistência durante o uso. Mais especificamente, a presente invenção refere-se a uma máscara facial filtrante (1) que é formada por um corpo (10) que compreende formato anatômico para acomodação à face dos usuários, sendo referido corpo (10) confeccionado em um tecido contendo microfibra sintética que é combinada com ao menos um elemento filtrante formado por espumas atóxicas. O pedido de patente está pendente de decisão, aguardando o início do exame técnico no INPI.

O pedido de patente de invenção n° BR 102020008351-1 da empresa brasileira BIOTECAM ASSESSORIA E DESENVOLVIMENTO DE TECNOLOGIA AMBIENTAL LTDA foi publicado em 03 de novembro de 2021. O pedido de patente refere-se ao campo da proteção biológica e/ou ao coronavírus, sendo relacionado a um elemento filtrante biológico e/ou de origem biológica e a uma máscara protetiva compreendendo o mesmo. O elemento filtrante de origem biológica da presente invenção consiste de uma trama de fibras de nanocelulose cuja porosidade é inferior ao tamanho de bactérias e/ou vírus. A máscara da presente invenção compreende o referido elemento filtrante. Em uma concretização, a máscara da invenção tem uma configuração que proporciona vantagens tanto no uso, devido à maior segurança em relação às máscaras convencionais, quanto na fabricação, por não requerer estrutura complexa ou insumos de acesso difícil em momentos de escassez. Ambos os problemas técnicos referidos acima são prementes no contexto da pandemia de Covid-19 e são resolvidos pela presente invenção. O pedido de patente está pendente de decisão, aguardando o início do exame técnico no INPI.

O pedido de patente de invenção n° BR 10 2020 007840-2 do depositante brasileiro MARCELO LINHARES GATTI foi publicado em 03 de novembro de 2021. O pedido de patente refere-se a um processo desenvolvido especificamente para máscaras cirúrgicas descartáveis que esteriliza essas máscaras conhecidas como máscaras cirúrgicas ou similares, como a N-95. O processo descrito é caracterizado por esterilizar as referidas máscaras descartáveis através da aplicação de ferro de passar roupas sobre a máscara descartável, ou seja, literalmente passar a mascará descartável com o ferro de passar roupas quente, e o calor do ferro de passar roupas irá matar os vírus, bactérias e demais substâncias nocivas que se encontrem na máscara, de forma que a máscara cirúrgica descartável terá sua vida útil aumentada podendo ser utilizada por um tempo bem maior. O pedido de patente está pendente de decisão, aguardando o início do exame técnico no INPI.

pedido de patente de invenção n° BR 102020008534-4 dos brasileiros JAQUES ANTONIO FONSECA, ANTONIO CAIO BARBOSA e EDISSON ELLERI FAUST FILHO foi publicado em 09 de novembro de 2021. O pedido de patente refere-se a um respirador artificial híbrido com comando remoto, com sistema de monitoramento, armazenamento de dados e medições diversas. O respirador é formado a partir de um involucro cuja secção frontal descreve uma janela, provida de tampa dotada lateralmente de alívios é internamente acondiciona um dispositivo de bombeamento formado por um conjunto deslizante, cuja face frontal na secção inferior detém uma base de assentamento, acima da qual estende-se um berço que descreve uma base acondicionadora côncava, que recebe um ambu bag que é pressionado por placa morsa deslizante, sendo a secção superior dotado de suporte mancal, enquanto a face traseira projeta inferiormente um suporte que acondiciona um motor de passo, que recebe o acoplamento de um fuso roscado quer desloca através de uma castanha a placa suporte fixada a dita placa morsa deslizante, sendo o fuso fixado superiormente a chapa de fechamento do suporte mancal, respirador é comandado por um software que permiti medir a pressão, além de sensores para controlar a vazão, oxigênio e de batimentos cardíacos, através de painel de comando. O pedido de patente está pendente de decisão, aguardando o início do exame técnico no INPI.

O pedido de patente de invenção n° BR 102020010492-6 do brasileiro JEAN JOSÉ CLINI teve o trâmite prioritário concedido em 07 de julho de 2020 e foi publicado em 10 de novembro de 2020. O pedido de patente refere-se a câmara de descontaminação antimicrobiana destinada a inativação de microrganismos patogênicos tais como bactérias, fungos e vírus, em especial o vírus SARS-CoV-19, configurada como uma passagem em forma de túnel (10) com entrada e saída, compreendendo: meios de esterilização de ambiente (22) por luz UV de alta intensidade e meios de esterilização pessoal (23) por luz UV de baixa intensidade, acionados seletivamente em função da ausência ou presença de um usuário no interior da câmara; meios de descontaminação do solado de calçados compreendendo um tapete poroso (18) impregnado com líquido sanitizante; gerador de íons (18) com o bocal de saída ao rés do chão para a descontaminação da parte superior dos calçados e esterilização do ar na região mais baixa da câmara, onde é maior a concentração de microrganismos patogênicos; dispensador (19) de álcool gel acionado a pedal; câmera térmica (24) para determinação sem contato físico da temperatura do usuário, acionando um alarme quando essa temperatura for igual ou superior a 37,5°C e meios de orientação e/ou alarme compreendendo monitor de vídeo (25), luzes de advertência (26, 27) e alto-falante (28). O pedido de patente foi examinado pelo INPI e foi indeferido em 20 de abril de 2021. Em 29 de junho de 2021 foi mantido o indeferimento, uma vez que não foi apresentado recurso dentro do prazo.

Pedido de patente modelo de utilidade – máscaras e respiradores
O pedido de patente de modelo de utilidade n° BR 20 2021 010835 0 da universidade brasileira UNIVERSIDADE DE SÃO PAULO - USP foi publicado em 13 de dezembro de 2022. O pedido de patente refere-se a uma máscara facial oronasal do tipo a ser utilizada em conjunto com dispositivos de ventilação mecânica. A referida máscara compreende um corpo estrutural que inclui uma placa divisória hábil de delimitar, no interior do corpo estrutural, uma câmara nasal e uma câmara oral, sendo que a comunicação fluídica entre a câmara nasal e a câmara oral é estabelecida, de forma unidirecional, por meio de pelo menos um diodo fluídico disposto na placa divisória. O pedido de patente está pendente de decisão, aguardando o início do exame técnico no INPI.

O pedido de patente de modelo de utilidade n° BR 202021006723-9 da empresa brasileira ZORZI PUBLICIDADE LTDA-ME foi publicado em 11 de outubro de 2022. O pedido de patente refere-se a uma disposição construtiva aplicada em uma máscara para proteção facial, no padrão N95/FFP2, produzida com dupla camada de tecido, sendo a camada interna composta por fio de poliéster com tecnologia antiviral e a camada externa composta por poliamida. A presente máscara é dotada ainda de clipe nasal de inox, visando garantir total vedação da mesma no nariz, além de possuir duas alças reguláveis em tecido antiviral, no sentido de tornar a fixação do equipamento ainda mais segura. A presente invenção é basicamente constituída de uma máscara de proteção facial (1), produzida com dupla camada de tecido, com abertura interna (2) para colocação e substituição de suporte de filtro (3) e de filtro, além de alças reguláveis em tecido antiviral (5) e um clipe nasal regulável de inox a ser introduzido e, eventualmente substituído através de uma pequena abertura na parte superior interna da máscara (1). A dita camada dupla de tecido é composta de uma camada interna de fio de poliéster com tecnologia antiviral e de uma camada externa (9) de poliamida. O pedido de patente está pendente de decisão, aguardando o início do exame técnico no INPI.


O pedido de patente de modelo de utilidade n° BR 202021006723-9 da empresa brasileira ZORZI PUBLICIDADE LTDA-ME foi publicado em 11 de outubro de 2022. O pedido de patente refere-se à disposição construtiva aplicada em máscara para proteção facial, ou seja, uma máscara para proteção facial, no padrão N95/FFP2, produzida com dupla camada de tecido, sendo a camada interna composta por fio de poliéster com tecnologia antiviral e a camada externa composta por poliamida. A presente máscara é dotada ainda de clipe nasal de inox, visando garantir total vedação da mesma no nariz, além de possuir duas alças reguláveis em tecido antiviral, no sentido de tornar a fixação do equipamento ainda mais segura. A presente invenção é basicamente constituída de uma máscara de proteção facial (1), produzida com dupla camada de tecido, com abertura interna (2) para colocação e substituição de suporte de filtro (3) e de filtro (4), além de alças reguláveis em tecido antiviral (5) e um clipe nasal regulável de inoxa ser introduzido e, eventualmente substituído através de uma pequena abertura na parte superior interna da máscara (1). A dita camada dupla de tecido é composta de uma camada interna de fio de poliéster com tecnologia antiviral e de uma camada externa (9) de poliamida. O pedido de patente está pendente de decisão, aguardando o início do exame técnico no INPI.



O pedido de patente de modelo de utilidade n° BR 202020025683-7da empresa brasileira UNIVERSIDADE FEDERAL DE SERGIPE foi publicado em 13 de setembro de 2022. O pedido de patente refere-se a um sistema modularizado e portátil de tratamento não invasivo para insuficiência respiratória leve a moderada em pacientes contaminados com patógenos transmissíveis por vias aéreas, como é o caso daqueles afetados pela COVID-19. O sistema precisa de pouca infraestrutura hospitalar para ser operacionalizado. O projeto e o arranjo dos componentes resultam em um sistema capaz de conduzir o fluxo de gases de uma entrada de ar escolhida até o interior da máscara facial (9 de forma contínua. Esse fluxo contínuo renova o ar no interior da máscara (9) rapidamente, evitando que o CO2 exalado se acumule. Como todo o circuito respiratório é isolado e há apenas uma possibilidade de saída para o ar, através do filtro HEPA (4), o sistema evita o lançamento de patógenos no ambiente. Além disso, uma válvula de PEEP (6) pode ser adicionada na saída do sistema para permitir a utilização de pressões positivas nas vias aéreas do paciente. Ainda, uma válvula unidirecional de segurança (8), próxima à entrada da máscara (9), permite apenas a entrada de ar em caso de problemas no suprimento de gases para o paciente. O pedido de patente está pendente de decisão, aguardando o início do exame técnico no INPI.


O pedido de patente de modelo de utilidade n° BR 202020024548-7 do brasileiro CELSO MASSAO ASATO foi publicado em 13 de setembro de 2022. O pedido de patente refere-se a elemento portátil para ser aplicado junto a máscara de proteção separando a respiração do nariz e da boca para aumento do oxigênio inspirado. Este é um produto para ser utilizado nos setores voltados para áreas médicas, químicas, siderúrgicas, construção civil, esportiva, agricultura, todas áreas que necessite de máscaras respiratórias. O elemento portátil (1) para ser aplicado junto a máscara de proteção (M), separando a respiração do nariz e da boca, com o objetivo de aumentar o oxigênio inalado no interior da referida máscara de proteção (M). O presente modelo propicia que a pessoa ao utilizar a máscara de proteção (M) junto do referido elemento portátil (1), possa inspirar ar rico em oxigênio pelo nariz e, soltá-lo pela boca em forma de gás carbônico, sem que o referido gás carbônico retorne para a região do nariz. O divisor pode ser opcionalmente fixado/costurado à máscara de proteção. O pedido de patente está pendente de decisão, aguardando o início do exame técnico no INPI.


O pedido de patente de modelo de utilidade n° BR 202020021481-6 da empresa brasileira TERRITORIO SAGRADO COMERCIO VAREJISTA DE ROUPAS LTDA EPP foi publicado em 02 de agosto de 2022. O pedido de patente refere-se a camiseta com máscara acoplada removível. A presente de uma disposição construtiva aplicada a uma peça do vestuário que contém em sua configuração uma estrutura que acopla uma máscara de proteção de tecido. Afim de trazer praticidade para a vida das pessoas, que em alguns momentos esquecem dos itens de segurança acima citados, e lhes causa transtorno e perda de tempo ao voltar para buscar, foi desenvolvida a CAMISETA COM MASCARA ACOPLADA REMOVÍVEL que se trata de uma peça única de roupa, com quatro modelos diferentes de máscara acoplada a camiseta com compartimento impermeável para álcool gel. O pedido de patente está pendente de decisão, aguardando o início do exame técnico no INPI.


O pedido de patente de modelo de utilidade n° BR 102021001085-1 do brasileiro CLAUDIO MORAES PARADINHA foi publicado em 02 de agosto de 2022. O pedido de patente refere-se a aperfeiçoamentos introduzidos em máscara facial de proteção individual reutilizável. Trata-se de máscara facial (10) do tipo utilizada por profissionais de saúde e/ou usuários comuns reforçando a proteção contra doenças virais como a causada pelo vírus COVID-19 ou outro tipo de vírus, cujo contágio pode ser efetivado através das vias respiratórias; dita máscara (10) é formada por corpo (20) confeccionado em etileno acetato de vinila, termoformada - EVA - atóxico ou outro material adequado como espuma de poliuretano, polietileno D-35 ou outro correlato como laminado de PET, PVC, OS, PE ou silicone ou borracha esponjosa formada por peça única termoformada ordinariamente troncônica e oca provida de base alargada (B1) de onde se desenvolve a parede afunilada até extremidade de topo plano onde é praticado orifício (21) com diâmetro (d1) e borda plana (21a); dito orifício (21) é dimensionado de maneira a receber um dispositivo respirador (30) com filtro discoide e laminar (40). O pedido de patente está pendente de decisão, aguardando o início do exame técnico no INPI.

A patente de modelo de utilidade n° BR 202021025041-6 do brasileiro WEBER ISAAC DA LUZ foi deferida em 12 de julho de 2022 e teve a Carta-Patente expedida em 26 de julho de 2022. A patente refere-se a uma disposição aplicada em máscara de proteção semifacial com bolsa isoladora de expiração. Formada por um primeiro corpo (2) no qual é fixado um segundo corpo (3) que abrange a região abaixo do nariz, sobre o arco do cupido (16), colunas filtrais (17), filtro (18) do lábio superior da boca (20), ao longo das bochechas (19) e sob o queixo (21) do usuário, que formata uma bolsa (1) isoladora, constituída por camadas de proteção (32, 33), criando assim duas câmaras (A, B) de forma que o dióxido de carbono, expirado pela boca, permaneça na referida bolsa (1) isoladora e não seja inspirado pelo nariz, assim como os vapores exalados pela boca não cheguem até os olhos e embacem óculos ou viseiras dos usuários e, também, gotículas e aerossóis produzidos durante a fala, tosse ou espirros não cheguem até a câmara (A). A patente de modelo de utilidade terá prazo de validade de 15 anos, contados a partir de 10 de dezembro de 2021.


O pedido de patente de modelo de utilidade BR 202020022461-7, da brasileira AMANDA CRISTINA DE SOUSA PEREIRA, foi publicado em 17 de maio de 2022. O pedido de patente refere-se a uma disposição introduzida em suporte desmontável para máscaras respiratórias em mesas. Idealiza um suporte desmontável para máscaras respiratórias em mesas, pertencente ao campo das utilidades domésticas, mais precisamente se trata de um aparato para ser posicionado sobre planos horizontais de mesas, bancadas, balcões e afins, que foi desenvolvido com vistas a apensar máscaras respiratórias com segurança sanitária e praticidade; o objeto do presente pedido compreende uma estrutura verticalizada montada a partir de uma placa primária (2) e uma placa secundária (4), as quais são encaixadas mutuamente e perpendicularmente, por meio de recortes retangulares (5) e (3) previstos em suas estruturas, conformando uma estrutura verticalizada em forma de cruz com quatro quadrantes isolados, de sorte que cada quadrante apresenta um gancho (6) para o apense de uma máscara respiratória (7). O pedido de patente está pendente de decisão, aguardando o início do exame técnico no INPI.


O pedido de patente de modelo de utilidade n° BR 202020017307-9 dos brasileiros ILVEU COSME DIAS, RODRIGO DIAS MALTA e ILZEA COSME DIAS MALTA foi publicado em 08 de março de 2022. O pedido de patente refere-se a uma máscara facial descartável contra aerodispersóides em embalagem individual é um equipamento de proteção individual (EPI) contra aerodispersóides de tamanho médio a maior de baixo custo. Com desenho que traz uma praticidade de uso e manuseio simplificado. Qualquer pessoa autônoma veste a máscara de maneira correta no rosto sem perdas de função. A embalagem é individual, de uso estritamente descartável e sem possibilidade de reutilização. Possibilita o combate e a disseminação de agentes patogênicos, principalmente o SARS-CoV-2 causador da pandemia do COVID-19, e dificultam processos de contaminação cruzada, preservando, assim, a saúde do usuário e do ambiente. O pedido de patente está pendente de decisão, aguardando o início do exame técnico no INPI.


O pedido de patente de modelo de utilidade n° BR 202020016851-2 dos brasileiros RAFAEL AGUIAR DO NASCIMENTO, BORIS PETROVIC, ANDRE PSCHEIDT, CARLOS ALEXANDRE BREYER, EDUARDO AUGUSTO DOS SANTOS CRUZ DE OLIVEIRA, GABRIEL JOSÉ PETROSKI DA SILVA, GIANCARLO ZANON, GILMAR CANALI FERREIRA, JOÃO JACKSON BATISTA BRAGA, JOÃO LUIZ NEVES, JULIANA CORTINES LAXE SILVA, LEONARDO COUTINHO MAYNART ARAGÃO, LIDENIRO ALEGRE, NILSON RIBEIRO MODRO, PAULO MÜLLER, RENATA BANNITZ FERNANDES, ROSANA DE OLIVEIRA MALTA, ROBSON TADEU FIGUEIRO VAZ, SÉRGIO CABRAL CAVALCANTI, SANDRA GUEDES PINUDO DUVOISIN, VINICIUS DO COUTO PINHEIRO, VALENTIM DA CRUZ PAULO FILHO, LUIZ GUSTAVO PAGOTTO SIMÕES, MARCIO FRANÇA DUTRA, JORGE WILSON GONÇALVES LESSA, ALEXANDRE GERALDO ARAUJO LIMA, RAFAEL DE ABREU PEREIRA, LUIS CLAUDIO FRAGA, JOSÉ CARLOS DE CASTRO JUNIOR, SEBASTIÃO CAVAGNOLLI, SERGIO KAZUTOMI ARAKAKI, RODRIGO DIAS ARNAUT, MARCELO DE COL GOMES REZENDE, CHARLES ADRIANO DUVOISIN e ERNESTO AUGUSTO GARBE foi publicado em 03 de março de 2022. O pedido de patente refere-se a um respirador portátil modular automatizado e autoprodutor de oxigênio de forma opcional com esterilizador de ar e monitoramento remoto alternativa de tratamento ao COVID-19 é um aparato inteligente e eficaz para auxiliar como um respirador mecânico e automatizado aos enfermos e vítimas de síndrome respiratória. O aparato é embasado na soma de várias tecnologias já conhecidas e dominadas, tais como ozonizadores (1), filtros UV-C (2), compressor de ar (3), filtro zeólita (4), que será disponibilizado de forma simples e de baixo custo, podendo ser produzido em larga escala. O equipamento possui um módulo de sistema eletrônico de controle e monitoramento (10), que permite o monitoramento remoto do paciente e ajuste remoto do fluxo, volume e pressão do oxigênio a ser injetado no paciente. O pedido de patente está pendente de decisão, aguardando o início do exame técnico no INPI.


O pedido de patente de modelo de utilidade n° BR 202020016545-9 do brasileiro WEBER GUSTAVO DE OLIVEIRA foi publicado em 22 de fevereiro de 2022. O pedido de patente refere-se a protetor facial com respirador lateral e tecido acoplado que são compostos de viseira frontal com espessura mínima de 0,4mm, de forma a proteger a face, com válvula de respiração acoplada à viseira, aro de suporte a ser acoplado à viseira, fita de suporte e amortecimento do aro sobre a cabeça, fita traseira de suporte do elástico de ajuste, elástico de ajuste de tamanho, tecido de proteção peitoral e botão de pressão. Com sua utilização por alunos, professores, áreas de lazer, atendimento em áreas de grandes aglomerações (estádio, hotéis, concursos e shows). Estendendo ao uso profissional, bastando atualizar o modelo para tecidos apropriados e regras setoriais. O pedido de patente está pendente de decisão, aguardando o início do exame técnico no INPI.

O pedido de patente de modelo de utilidade n° BR 202020015203-9 das universidades brasileiras UNIVERSIDADE DO ESTADO DO RIO DE JANEIRO e UNIVERSIDADE FEDERAL FLUMINENSE foi publicado em 08 de fevereiro de 2022. O pedido de modelo de utilidade refere-se a equipamentos de proteção individual, por se referir a um protetor facial dotado de elementos que permitem a proteção da boca, do nariz e dos olhos contra aerossóis, fluidos e partículas contaminantes ou não, a qual é composto de um viseira, um visor e um cinta elástica, todos em materiais desinfetáveis, portanto reutilizável, e foi desenvolvido sob conceitos para atender calamidades públicas, mas mantendo a segurança, a eficácia, a qualidade, o conforto, com baixo custo, de fácil construção, montagem e limpeza, de produção escalável e ao mesmo tempo, em conformidade no atendimento as normas vigentes e pode ser utilizado pela população em geral como alternativa mais eficaz, mais barata e mais confortável que a máscara de proteção respiratória de uso não profissional, entretanto, de forma a elevar a eficácia da proteção ao usuário (adulto ou criança), o uso concomitante do protetor facial com a máscara de proteção respiratória é a melhor solução. O pedido de modelo de utilidade está pendente de decisão, aguardando o início do exame técnico no INPI.
O pedido de patente de modelo de utilidade n° BR 202020013708-0 do brasileiro JAIME RODRIGUES PINTO COELHO (BR/SP) foi publicado em 18 de janeiro de 2022. O pedido de patente refere-se a um dispositivo introduzido em elemento de proteção individual para melhoramento respiratório. O emprego da tela (1) aplicada na parte interior da máscara de tecido (2) de uso convencional, fabricada preferencialmente com o material PET - Poli (Tereftalato de Etileno), ou, noutro material mais adequado a sua aplicabilidade operacional, tem por finalidade impedir a obstrução das cavidades nasais e boca do usuário, no que diz respeito ao ato da inspiração no processo de respiração, proporcionando uma melhor respiração, melhor fluxo de ar, melhor oxigenação do organismo, mantendo o seu usuário em condições fisiológicas adequadas para exercer toda e qualquer atividade, dessa maneira, a inovação recebida a tradicional máscara de tecido usada na proteção individual, traz ao usuário comodidade, segurança e durabilidade. O pedido de patente está pendente de decisão, aguardando o início do exame técnico no INPI.
O pedido de patente de modelo de utilidade n° BR 202020014098-7 da empresa brasileira EVLU TECNOLOGIA SERVIÇOS E COMERCIO DE PEÇAS E MAQUINAS INDUSTRIAIS EIRELI (BR/RS) foi publicado em 18 de janeiro de 2022. O pedido de patente refere-se a uma inovadora disposição construtiva aplicada em uma máscara para proteção facial produzida em material preferencialmente translúcido, dotado de nanotecnologia para eliminação de vírus e desenho que facilita a respiração. O pedido de invenção é basicamente constituído de uma máscara de proteção facial (1), produzida com material atóxico, translúcido, flexível e sustentável, sendo dotada de nanotecnologia para eliminação de vírus, bactérias e fungos, com desenho ergonômico, furos (2) para colocação de filtro em pontos estratégicos e alça elástica (3) com ajuste fino. O pedido de patente está pendente de decisão, aguardando o início do exame técnico no INPI.

O pedido de patente de modelo de utilidade n° BR 20 2020 014101-0 dos brasileiros SILVANA MARIA AUGUSTINI e MARCOS RODRIGUES DE ANDRADE foi publicado em 18 de janeiro de 2022. O pedido de patente refere-se a uma máscara anatômica de três camadas com abas nasais. A máscara tem uma (01) face tripla da máscara, (02) abas nasais, (03) cordão ou elástico de fixação superior, (04) cordão ou elástico de fixação inferior. Na figura 1.8 pode ser visualizada uma representação das camadas triplas, (05) camada externa e interna de tecido, (06) camada interna de manta R2, a ação tecnológica da máscara se dá exclusivamente devido as camadas triplas de tecido (05) e de manta (06), criando três barreiras de proteção e, ainda, podendo ser lavável e, portanto, reutilizável, além de possuir um exclusivo filtro nasal (02) vedando ainda mais a entrada de ar. O tecido externo pode ser tanto de cores lisas como estampadas, porém, o tecido interno é de cor neutra por questões higiênicas. A máscara será disponibilizada nos tamanhos P, M, G e GG, embalada com plástico transparente, somado a um folder informando suas características e instruindo o usuário quanto ao uso. O pedido de patente está pendente de decisão, aguardando o início do exame técnico no INPI.
O pedido de patente de modelo de utilidade n° BR 202020013681-5 do brasileiro JULIANO SADOWSKI foi publicado em 18 de janeiro de 2022. O pedido de patente refere-se a uma máscara para Insuficiência e Desconforto Respiratório Agudo destinada à área da saúde, mais especificamente ao seu uso em pacientes que necessitam altos fluxos de oxigênio, em casos de tratamento das vias respiratórias, seja pela dificuldade de respirar, falta de ar ou que não responderam ao uso do cateter/cânula nasal, a mesma é constituída por máscara orofacial moldável ao rosto do paciente com bordas internas de contato em silicone, bem como dispõe de balonete inflável fixado com tirantes que saem da estrutura da máscara e são fixados nas regiões parietais posteriores e cervical alta, dita mascara dispõe também na sua região frontal anterior de conexão em Y provida com duas válvulas formando fluxo unidirecional de oxigênio em altos e baixos fluxos, um bocal com tampa na lateral da via inspiratória, bem como também permite o acoplamento de filtro de barreira na via de exalação e dispositivo para inalação/nebulização na via de entrada de oxigênio. O pedido de patente está pendente de decisão, aguardando o início do exame técnico no INPI.
O pedido de patente de modelo de utilidade n° BR 202020014999-2 da universidade brasileira UNIVERSIDADE ESTADUAL DA PARAIBA foi publicado em 01 de fevereiro de 2022. O pedido de patente refere-se a uma haste ajustável no formato anatômico facial, produzida através de tecnologias tridimensionais, utilizando escaneamento tridimensional e manufatura aditava. É uma peça única, com mecanismos flexíveis, utilizada como dispositivo de proteção individual, que possui dois arcos: um externo (4) com disposição de pinos (1A, 1B, 1C, 2A e 2B) e um interno (3) com superfície lisa. O pedido de patente está pendente de decisão, aguardando o início do exame técnico no INPI.

O pedido de patente de modelo de utilidade n° BR 202020026189-0 da empresa chinesa SHANDONG SHENGQUAN NEW MATERIALS CO., LTD. foi publicado em 28 de dezembro de 2021. O pedido de patente refere-se a uma máscara que inclui um corpo principal (1) usado para se adequar a uma face, e uma folha de tira de orelha (2) usada para pendurar nas orelhas. A parte esquerda (21) da folha de tira de orelha (2) é fixada na parte esquerda do corpo principal (1), e a parte direita (22) da folha de tira de orelha (2) é fixada na parte direita do corpo principal (1). Uma primeira costura de rasgo (10) que se estende na direção lateral e para se fixar em uma cabeça ou se pendurar em orelhas é disposta na folha de tira de orelha (2), e a primeira costura de rasgo (10) pode ser lacerada e estendida ao longo da direção longitudinal da primeira costura de rasgo (10) sob força externa. A máscara tem vantagens de integridade excelente, alta produtividade e custo inferior. O pedido de patente está pendente de decisão, aguardando o início do exame técnico no INPI.


O pedido de patente de modelo de utilidade n° BR 202020011763-2 da empresa brasileira ASSOCIAÇÃO BRASÍLIA MAIOR QUE O COVID foi publicado em 21 de dezembro de 2021. O pedido de patente refere-se a um dispositivo para automatização da ventilação com bolsa-válvula-máscara, de modo melhorar o fluxo assistencial do atendimento pré-hospitalar do paciente grave ou crítico. O equipamento é composto por estrutura de acrílico resistente, bolsa inflável, tubos, conexões, filtro HEPA, motor, pressostato e demais itens para o seu correto funcionamento. O dispositivo é responsável por desinsuflar intermitentemente a bolsa, fornecendo um fluxo intermitente de ar à jusante. O pedido de patente está pendente de decisão, aguardando o início do exame técnico no INPI.
O pedido de patente de modelo de utilidade n° BR 202020011932-5 das empresas brasileiras BANEGA & SARTORI LTDA e ANDRIELA DE PAULA QUEIROZ AGUIRRE foi publicado em 21 de dezembro de 2021. O pedido de patente refere-se a uma máscara de proteção, com filtro duplo substituível, com aplicação na área de equipamentos de proteção individual, visando a proteção do usuário contra partículas, agentes biológicos, assim como poeira e outros resíduos. A inclusão de um filtro duplo interno possibilita maior proteção ao usuário, além de prolongar o tempo de uso da máscara, proporcionando melhoria funcional no estado da técnica. O pedido de patente está pendente de decisão, aguardando o início do exame técnico no INPI.

O pedido de patente de modelo de utilidade n° BR 202020011932-5 da empresa brasileira BANEGA & SARTORI LTDA (BR/MS) e ANDRIELA DE PAULA QUEIROZ AGUIRRE (BR/MS) foi publicado em 21 de dezembro de 2021. O pedido de patente refere-se a uma máscara de proteção, com filtro duplo substituível, com aplicação na área de equipamentos de proteção individual, visando a proteção do usuário contra partículas, agentes biológicos, assim como poeira e outros resíduos. A inclusão de um filtro duplo interno possibilita maior proteção ao usuário, além de prolongar o tempo de uso da máscara, proporcionando melhoria funcional no estado da técnica. O pedido de patente está pendente de decisão, aguardando o início do exame técnico no INPI.
O pedido de patente de modelo de utilidade n° BR 202020011488-9 do brasileiro JOAQUIM ANTONIO CARACAS NOGUEIRA (BR/CE) foi publicado em 14 de dezembro de 2021. O pedido de patente refere-se a uma máscara (1) reutilizável, confeccionada em material plástico atóxico e resistente, dotada de elemento filtrante (2) descartável na parte frontal, com quatro rasgos (3) retangulares nas laterais, onde são colocados elásticos curtos para sustentação da máscara nas orelhas, ou longos para sustentação na cabeça, a qual foi desenvolvida para proteção contra contaminação por vírus ou outas doenças disseminadas pelo ar. A presente máscara (1) permite adoção de um sistema de controle a troca do filtro (2) por meio da visualização através das aberturas da tampa (5), que facilmente pode ser aberta e permitir a substituição do filtro (2) por um novo. A máscara (1), o gabinete (4) e sua tampa (5) são formatados no mesmo processo de injeção, é confeccionada em material plástico atóxico, resistente e maleável, possui formato anatômico que vai do queixo ao nariz sem sufocar o usuário, foi desenvolvida para ser higienizada e reutilizada várias vezes, e ainda, possui elemento filtrante (2) descartável na parte frontal. O pedido de patente está pendente de decisão, aguardando o início do exame técnico no INPI.

O pedido de patente de modelo de utilidade n° BR 212020008879-5 das empresas brasileiras BIOGEOENERGY FABRICAÇÃO E LOCAÇÃO DE EQUIPAMENTOS LTDA (BR/SP) e OMNITEK TECNOLOGIA LTDA (BR/SP) foi publicado em 07 de dezembro de 2021. O pedido de patente refere-se a um dispositivo respirador com válvula unidirecional em que a pressão de linha do paciente é atingida não por uma válvula proporcional, mas sim por uma válvula direcional simples, a qual comuta em um tempo definido por um manômetro digital com saída analógica que monitora a linha do paciente de forma contínua. O uso do presente modelo é adequado, acima de tudo, para obtenção da PEEP de uma forma sistemática e repetitiva. Com os respiradores do estado da técnica são necessárias válvulas proporcionais para determinar a PEEP de uma forma sistemática e repetitiva. O pedido de patente está pendente de decisão, aguardando o início do exame técnico no INPI.

O pedido de patente de modelo de utilidade n° BR202020009983-9 do brasileiro RONALDO INOCENCIO DE OLIVEIRA foi publicado em 30 de novembro de 2021. O presente pedido refere-se equipamento para alocar todos os instrumentos acoplados e necessários para a iluminação local e focal por parte de um profissional médico otorrinolaringologista, minimizando sua dependência de enfermeiras, auxiliares e atendentes. Para tanto, o equipamento é sustentado por aste de policloreto de vinila (PVC) de fixação na cabeça (2), Proteção individual contra respingos líquidos em material policarbonato transparente flexível (3), lâmpada de Light Emitting Diode (LED) com ajuste de foco (4), catraca com ajuste de regulagem de altura (5) e bateria portátil 5000mAh com autonomia de 6 (seis) horas (6), independente da tomada elétrica podendo ser trazido junto ao profissional para atendimento. O equipamento colabora com o médico sendo um produto de proteção individual, o mesmo protege das gotículas e respingos tornando o procedimento mais seguro. O pedido de patente está pendente de decisão, aguardando o início do exame técnico no INPI.

O pedido de patente de modelo de utilidade n° BR202020008856-0 dos brasileiros JOÃO CARLOS FRIAS GUERRA e TATIANE DE FREITAS PERES GUERRA foi publicado em 09 de novembro de 2021. O pedido de patente refere-se a uma máscara antivírus reutilizável em peça única de silicone, obtida por projeto de molde. Para proteção contra partículas virais e bacterianas através de uma máscara (1) de silicone, obtida por molde (M) em processo de vulcanização (V). A máscara (1) possui corpo anatômico com dois lados (3) e (4) em ângulo vazados por recortes semicirculares (5) segmentados por pequenos cortes (6). Das bordas laterais (7) do corpo da máscara (1), a partir de pontos centrais deslocados superiormente, após curva sinuosa (8) estendem-se as alças (9) e (10), cada qual vazada por recorte oblongo (11). Por seu corpo recobre parcialmente o rosto do usuário, tendo as alças (9) e (10) ancoradas por detrás das orelhas sem pressão graças aos seus recortes oblongos (11), suavizando contato com a pele sem irritações e impedindo, graças à falta de porosidade, passagem de partículas virais ou bacterianas, além de não reter essas impurezas em sua superfície. Através de levíssimos afastamentos da máscara entre o nariz e as protuberâncias junto às bochechas do rosto, em conjunto com os cortes (6) dos recortes semicirculares segmentados (5) é favorecida a ventilação. Após esterilizada a máscara (1) pode imediatamente ser reusada, tendo larga vida útil. O pedido de patente está pendente de decisão, aguardando o início do exame técnico no INPI.

O pedido de patente de modelo de utilidade n° BR 202020008156-5 do brasileiro SERGIO PAULO PEREIRA foi publicado em 09 de novembro de 2021. O pedido de patente refere-se a uma disposição construtiva aplicada a máscara facial protetora. A máscara do tipo cirúrgica, para uso cotidiano não profissional, com três camadas sobrepostas, sendo uma delas em nylon emborrachado que bloqueia a entrada ou saída direta de vírus ou impurezas que estejam no ar. E um elástico contínuo que permite fazer o encaixe no pescoço e na nuca sem precisar de amarração ou utilização das orelhas. O pedido de patente está pendente de decisão, aguardando o início do exame técnico no INPI
O pedido de patente de modelo de utilidade n° BR 202020008360-6 da empresa brasileira WRM INDÚSTRIA E COMÉRCIO LTDA foi publicado em 03 de novembro de 2021. O pedido de patente de modelo de utilidade refere-se a uma máscara descartável, compacta de polipropileno obtido pelo processo meltblown, não inflamável, e de fácil ajuste auricular, confeccionado em especial para a proteção das vias bucais e nasais contra poeira, pólen, gotículas contaminadas por terceiros, de uso pessoal e hospitalar e em outras áreas passíveis de contaminação ou pelo acumulo de pessoas, em lugares públicos onde os cuidados com a propagação de bactérias ou vírus ou outras doenças transmissíveis são comuns, evitando assim o contagio generalizado ou pessoal dificultando assim o aumento na transmissão de doenças contagiosas nos centros urbanos. O pedido de patente está pendente de decisão, aguardando o início do exame técnico no INPI.

O pedido de patente de modelo de utilidade n° BR 202020008278-2 do brasileiro DARVIN GIACOMOLLI PEREIRA foi publicado em 03 de novembro de 2021. O pedido de patente refere-se máscara facial de proteção individual com ajuste anatômico por sistema de barbicacho semi embutido para regulagem das alças de fixação. O presente modelo de utilidade conjuga funções de fixar e ajustar anatomicamente, a máscara de proteção facial a face do usuário, proporcionando assim praticidade e maior conforto e segurança. Ele traz também o benefício da redução dos riscos de contágio decorrentes do manuseio inoportuno das máscaras durante o seu uso, fato que ocorre comumente durante o uso de máscaras sem sistema de ajuste anatômico. A referida máscara é constituída por uma peça de tecido moldada que é marcada ao centro, onde se faz um orifício, é dobrada, costurada, acrescida de alças de fixação e de um sistema de barbicacho semi embutido para regulagem anatômica, o qual representa uma melhoria significativa sobre o estado da técnica, proporcionando ao usuário melhores níveis de praticidade, conforto e segurança quanto aos resultados esperados no uso da máscara. O pedido de patente está pendente de decisão, aguardando o início do exame técnico no INPI.

O pedido de patente de modelo de utilidade n° BR 112021010297-3 do brasileiro EBERTH ALYSON MELO DA SILVA foi publicado em 03 de novembro de 2021. O presente pedido de patente de modelo de utilidade refere-sea um protetor facial desmontável, e com peças reutilizáveis, confeccionados em acrílico 2mm para gerar uma resistência superior e maior durabilidade, uma almofada com borracha sintética a base de policloropreno para proteção do rosto com o material e para evitar o contato direto do rosto com o dispositivo. Além disso, conta com uma capa de proteção extra, a proteção da parte inferior (pescoço), criando um isolamento completo contra contaminação de agentes químicos e biológicos em ambientes de exposição direta. O pedido de patente está pendente de decisão, aguardando o início do exame técnico no INPI.

O pedido de patente de modelo de utilidade n° BR 202020007179-9 dos brasileiros MARCOS RIBEIRO HONORATO (BR/MG), JOANA DARC DA SILVA NASCIMENTO (BR/MG) e LEDA MÁRCIA SILVA SUAID (BR/MG) foi publicado em 19 de outubro de 2021. O pedido de patente refere-se a uma disposição construtiva a ser aplicada em uma máscara de proteção individual caracterizada por não possuir tiras ou elásticos para fixação, mas sim uma camada envoltória de material aderente à pele que confere à máscara uma proteção muito superior às demais, uma vez que todo o seu perímetro fica aderido ao rosto do usuário, não apresentando qualquer fresta de entrada de material contaminante. A presente invenção é basicamente constituída de uma máscara de proteção individual sem elásticos ou tiras de fixação (1), mas dotada em todo o seu perímetro interno de uma camada envoltória de material aderente (2), protegida por um filme plástico (3).
O pedido de patente de invenção n° BR 202020007216-7 do brasileiro JOSE ALVES foi publicado em 19 de outubro de 2021. O pedido de patente refere-se a uma máscara com um tubo aplicado a ela tendo como finalidade facilitar a utilização no que diz respeito a entrada e saída de ar, tanto da boca quanto das narinas do usuário da dita máscara, aliviando dessa maneira o acúmulo das gotículas proveniente da respiração da pessoa na região da boda de suas narinas, sendo que o dito tubo ou dreno, pode ser em número de dois e instalado imediatamente abaixo da altura do queixo da pessoa e fixados por qualquer meios apropriados, salientando que essa máscara, além de fabricada preferencialmente em poliéster, poderá ser utilizada em várias situações que se faça necessário, não somente no combate ao coronavírus ou covid-19, sendo que graças essa inovação seu tempo útil de uso poderá quadriplicar em relação as máscaras comuns do gênero. O pedido de patente está pendente de decisão, aguardando o início do exame técnico no INPI.
O pedido de patente de modelo de utilidade n° BR 202020007087-3 do brasileiro ALEKS PETROSZENKO foi publicado em 19 de outubro de 2020. O pedido de patente refere-se a máscaras de proteção hospitalares ou não, projetada e desenvolvida no sentido de melhorar a utilização deste tipo de objeto, tornando-a mais eficiente e altamente funcional, podendo ser colocada e retirada com muito mais facilidade, através de um encaixe nas orelhas do usuário. O pedido de patente está pendente de decisão, aguardando o início do exame técnico no INPI.

O pedido de patente de modelo de utilidade n° BR 2020007179-9dos brasileiros MARCOS RIBEIRO HONORATO (BR/MG), JOANA DARC DA SILVA NASCIMENTO (BR/MG) e LEDA MÁRCIA SILVA SUAID (BR/MG). foi publicado em 19 de outubro de 2021. O pedido de patente refere-se uma máscara de proteção individual caracterizada por não possuir tiras ou elásticos para fixação (1), mas sim uma camada envoltória de material aderente à pele (2), , protegida por um filme plástico(3), em que todo o perímetro da máscara fica aderido ao rosto do usuário, não apresentando qualquer fresta de entrada de material contaminante. O pedido de patente está pendente de decisão, aguardando o início do exame técnico no INPI.

O pedido de patente de modelo de utilidade n° BR 202020009294-0 do brasileiro LUCCA TOMIOTTO foi publicado em 11 de maio de 2021. O presente pedido de modelo de utilidade refere-se a máscara protetora (1), pertencente ao setor técnico dos equipamentos de segurança individual, particularmente de uso por profissionais da área de saúde para evitar contaminações, formada por um corpo de material em forma de lâmina, em peça única, anatômico, simétrico, formado: por região central alargada (2), que recobre as narinas, boca e regiões da face adjacentes a estas; por meios (3) de fixação da máscara nas orelhas do usuário formados por prolongamentos laterais da região central (2), que recobrem as laterais da face e dotados de respectivas furações (4) de fixação na orelha do usuário, cada furação (4) formada por uma sucessão de aberturas substancialmente retangulares, ligeiramente curvas, verticais, paralelas (5), separadas umas das outras por faixas intermediárias (6), aberturas (5) essas que são selecionadas pelo usuário, conforme o seu biotipo e enganchadas nas orelhas; dito material em forma de lâmina é, preferencialmente, tecido não tecido, TNT, de polipropileno, referida máscara (1) pode ser monocamada ou formada por três camadas de TNT. O pedido de patente está pendente de decisão, aguardando o início do exame técnico no INPI.

Trâmite prioritário admitido – máscaras e respiradores
Em 01 de fevereiro de 2022, a empresa brasileira FIBER TECIDOS TÉCNICOS LTDA (BR/RS) teve a Carta Patente n° BR 202020008860-8 expedida. Em 16 de março de 2021 havia sido admitido o trâmite prioritário da presente patente de modelo de utilidade. A patente refere-se a máscaras de proteção semifacial moldada com filtro descartável e tira ajustável moldada em etapa única, com tecimento duplo, lavável, sem costura, de poliéster (2) na parte externa e poliamida na parte interna, formatando um corpo (4) elástico e de volume anatômico à região do nariz e boca do usuário, assim como no entorno; volume externo que perfaz um delineamento convexo superior de menor dimensão (5) e um delineamento convexo inferior de maior dimensão (6); superfícies laterais sutilmente curvilíneas (7); dotado de uma tira (10) elástica ajustável que deriva da sua linha perimetral superior (11) e que apresenta uma fivela (12) e uma banda (13) recartilhada e um filtro (9) descartável de TNT com pelo menos 96% de eficiência, caracterizado por apresentar um casulo (8) no interior do corpo (4) onde é disposto o filtro (9) entre os tecidos e orifícios e/ou pontos mais abertos (14) posicionados nas superfícies laterais sutilmente curvilíneas (7) e na região do queixo. A patente de modelo de utilidade terá validade de 15 (quinze) anos contados a partir de04 de maio de 2020.


Em 21 de dezembro de 2021 foi admitido o trâmite prioritário do pedido de patente de invenção n° BR 102021016551-0 da universidade brasileira UNIVERSIDADE FEDERAL DO CEARÁ. O pedido refere-se a uma máscara facial total para suporte respiratório não invasivo com pressão positiva. Tal máscara facial tem como principal finalidade o tratamento de pacientes com complicações no sistema respiratório, assistido por equipamento eletromédico. É composta por um escudo translúcido (permitindo a interação visual entre paciente e médicos e diminuindo a sensação de claustrofobia), uma almofada em material emborrachado (permitindo conforto e vedação junto ao rosto do paciente), arco com estruturas de engate para tira cefálica (permitindo o uso de produtos facilmente encontrados no mercado de suprimentos médicos) e válvulas para controle dos fluxos de gases (posicionadas de maneira a melhorar a ergonomia para pacientes e equipe médica). O pedido de patente de invenção está pendente de decisão, estando em fase de exame técnico no INPI.
Em 16 de novembro de 2021, o pedido de patente de invenção n° BR102020012145-6 da empresa brasileira FIBER TECIDOS TÉCNICOS LTDA (BR/RS), que se encontra em fase de exame técnico no INPI, recebeu uma notificação de conhecimento de parecer técnico (despacho 7.1). Em 03 de agosto de 2021 foi admitido o trâmite prioritário do mesmo. O pedido refere-se a um clipe de vedação para máscaras de proteção semifacial. O pedido de patente de invenção está pendente de decisão.

O pedido de patente de modelo de utilidade n° BR 202020008447-5 da empresa brasileira EVEREST COMERCIO DE COLCHOES E ACESSORIOS EIRELI - ME (BR/RS) foi publicado em 09 de novembro de 2021. O pedido refere-se a uma disposição construtiva aplicada em máscara respiratória, referindo-se a um equipamento concebido em tecnologia 3D, com maior anatomia, mobilidade, conforto e segurança na troca do ar respirado, sendo que suas partes são compostas em poliamida 6.6 e elastano. O pedido de patente está pendente de decisão, aguardando exame técnico no INPI.
O pedido de patente de modelo de utilidade n° BR 20202008870-5 da empresa brasileira LEOGRAF GRÁFICA E EDITORA LTDA (BR/SP) foi publicado em 09 de novembro de 2021. O pedido refere-se a uma máscara facial estruturada por dobraduras compreendendo um (1) molde ornamental de substrato papel off-set (2) com cortes pelas extremidades, para uso de elástico látex, nos encaixes do seu lado direito e esquerdo (3), além dos cortes para encaixes ocultos dos lados direito e esquerdo, que servem para dar firmeza nas estruturas das (4) dobraduras/vincos que trará o movimento e conforto no uso. A máscara é feita com papel off-set que é uniforme e praticamente imune à umidade. O pedido de patente está pendente de decisão, estando em fase de exame técnico no INPI.

Em 17 de agosto de 2021 foi admitido o trâmite prioritário do pedido de patente de modelo de utilidade n° BR202021007944-0 da empresa brasileira FIBER TECIDOS TÉCNICOS LTDA (BR/RS) por se tratar de tecnologia relacionada à covid-19, tendo sido publicado em 13 de julho de 2021. O pedido refere-se a um suporte (1) para estruturação do filtro (2) descartável utilizado em máscara (4) sem costura com tecido duplo moldado em peça única, o qual utiliza o princípio da deformação decorrente de diferenças dimensionais entre a superfície (6) de contorno geométrico predominantemente triangular plano inicial, para o contorno nasalar (19) quando da sua inserção no casulo (3), igualmente de contorno geométrico predominantemente triangular e de menor dimensão, resultando na geração de um volume interno favorável à respiração. O pedido de patente está pendente de decisão, aguardando o início do exame técnico no INPI.

Em 24 de novembro de 2020 foi admitido o trâmite prioritário do pedido de patente de modelo de utilidade n° BR 202020017269-2 da empresa brasileira ANGELUS INDUSTRIA DE PRODUTOS ODONTOLOGICOS S/A, tendo sido publicado em 19 de janeiro de 2021. O pedido refere-se a um escudo para proteção contra aerossóis e gotículas em procedimentos médicos, odontológicos e estéticos, caracterizado por compreender pelo menos um elemento defletor compreendendo um orifício; e um elemento de vedação da boca, em que o referido escudo compreende ainda um elemento de suporte instrumental que pode estar acoplado ou associado a uma rótula multidirecional. O pedido de patente está pendente de decisão, aguardando o início do exame técnico no INPI.