Fluxogramas dos Processos Finalísticos da Corregedora
ANEXO – FLUXO DA ATUAÇÃO DA CORREGEDORIA
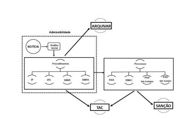
O fluxo de atuação da Corregedoria do MDA apresenta, de forma estruturada, as etapas, sequências e decisões envolvidas nos processos e fluxos de trabalho da unidade. Esse fluxograma permite identificar cada fase do procedimento, os responsáveis pela execução, a ordem das atividades, os caminhos possíveis a serem adotados e os resultados esperados.
A atividade correcional do MDA segue as diretrizes da Portaria Normativa Nº 27, de 11 de outubro de 2022, com alterações da Portaria Normativa Nº 123, de 22 de abril de 2024. A visão geral dessas etapas está representada no fluxograma de procedimentos e processos correcionais abaixo.
Legenda: IP - Investigação Preliminar de Ente Privado; IPS - Investigação Preliminar Sumária; SINVE - Sindicância Investigativa; SINPA - Sindicância Patrimonial; PAR - Processo Administrativo de Responsabilização de Ente Privado; SINAC - Sindicância Acusatória; PAD - Processo Administrativo Disciplinar; PAD - Processo Administrativo Disciplinar - Rito Sumário.
Na Corregedoria do MDA tramitam processos finalísticos que foram mapeados por meio de fluxogramas, tendo como base jurídica a Portaria Normativa CGU nº 27, de 11 de outubro de 2022, alterada pela Portaria Normativa CGU nº 123, de 22 de abril de 2024, bem como a Lei nº 8.112/1990, de 11 dezembro de 1990.
1 – A Investigação Preliminar Sumária (IPS) é um procedimento investigativo, de caráter preparatório, não contraditório e não punitivo, com acesso restrito. Seu objetivo é reunir elementos de informação que subsidiem a análise sobre a existência de indícios de autoria e materialidade suficientes para a eventual instauração de processo correcional.
2 – O Termo de Ajustamento de Conduta (TAC) é um instrumento voltado à resolução consensual de conflitos disciplinares, aplicável nos casos de infrações de menor potencial ofensivo, visando promover a regularização da conduta e prevenir a reincidência.
3 – Processo Administrativo Disciplinar (PAD) – Rito Ordinário: instrumento destinado à apuração da responsabilidade do servidor por infração disciplinar praticada no exercício de suas atribuições ou em razão delas, assegurados o contraditório e a ampla defesa.
4 – Processo Administrativo Disciplinar (PAD) – Rito Sumário: instrumento destinado à apuração da responsabilidade de servidor público federal nos casos de acúmulo ilegal de cargos, inassiduidade habitual ou abandono de cargo, assegurados o contraditório e a ampla defesa.



