Sistema fechado de aspiração e administração de aerossóis em pacientes submetidos à ventilação mecânica - Grupo Hospitalar Conceição (GHC)
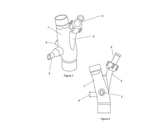
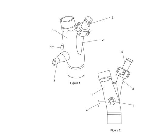
A inovação consiste no desenvolvimento de um sistema fechado acoplado ao circuito de ventilação mecânica que permite a administração de medicamentos por aerossol, lavagem e aspiração de secreções sem a necessidade de desconexão do ventilador. À época de sua concepção havia um dispositivo no mercado que atendia parcialmente a necessidade do GHC, contudo não havia no mercado dispositivo que permitisse realizar essas intervenções de forma integrada e mantendo o circuito ventilatório completamente fechado, o que motivou o desenvolvimento da solução.
A tecnologia foi concebida para reduzir riscos de contaminação por aerossóis e aumentar a segurança de pacientes e profissionais de saúde, especialmente em contextos de alta transmissibilidade de doenças respiratórias, como observado durante a pandemia de COVID-19. A solução integra dispositivos que permitem acesso ao circuito ventilatório mantendo sua vedação, garantindo maior segurança assistencial e eficiência no cuidado intensivo.
DETALHAMENTO
A inovação foi desenvolvida por profissionais vinculados ao Grupo Hospitalar Conceição S.A.: Cléber Verona, Luiz Gustavo Marin e Thiago Thomé Silveira, em parceria com a empresa SKA Desenvolvimento e Licenciamento de Sistemas LTDA, representada por Siegfried Koellin, José Felipe Trilha de Carvalho, Micael dos Santos Mota e Christian Stroeher.
O projeto surgiu a partir da identificação de uma necessidade assistencial no contexto da ventilação mecânica, especialmente relacionada à segurança de profissionais durante procedimentos geradores de aerossóis. A implementação ocorreu em etapas: (1) identificação da necessidade assistencial; (2) concepção técnica da solução; (3) desenvolvimento de protótipos; (4) testes e validação funcional no ambiente hospitalar; e (5) proteção da propriedade intelectual junto ao INPI.
RESULTADOS E IMPACTOS ALCANÇADOS
A inovação contribuiu para o aprimoramento da segurança assistencial em ambientes de terapia intensiva, permitindo a realização de procedimentos respiratórios com menor risco de exposição a aerossóis. Entre os impactos observados destacam-se:
- aumento da segurança para profissionais de saúde durante procedimentos em pacientes ventilados;
- redução do risco de contaminação cruzada em ambientes hospitalares;
- fortalecimento da capacidade de inovação tecnológica no âmbito do SUS;
- registro de propriedade intelectual da tecnologia desenvolvida no contexto de um hospital público federal.
Além disso, a iniciativa demonstra o potencial das instituições públicas de saúde na geração de soluções tecnológicas voltadas às necessidades do sistema público de saúde.
LIÇÕES APRENDIDAS
A experiência demonstrou a importância da integração entre assistência, pesquisa e inovação dentro das instituições públicas de saúde. Entre as principais lições destacam-se:
- a relevância da observação de necessidades reais do cuidado em saúde como ponto de partida para o desenvolvimento de soluções inovadoras;
- a importância de parcerias com instituições tecnológicas para viabilizar o desenvolvimento de dispositivos médicos;
- a necessidade de proteção da propriedade intelectual para assegurar a valorização e disseminação das tecnologias desenvolvidas no setor público.
POTENCIAL DE DISSEMINAÇÃO E ESCALABILIDADE
A tecnologia apresenta elevado potencial de disseminação, uma vez que pode ser utilizada em qualquer unidade hospitalar que utilize ventilação mecânica, especialmente em unidades de terapia intensiva.
Sua replicação depende principalmente de processos de produção industrial e de certificação regulatória para dispositivos médicos. Uma vez atendidos esses requisitos, a solução pode ser amplamente adotada por hospitais públicos e privados, contribuindo para aumentar a segurança assistencial e reduzir riscos ocupacionais em ambientes hospitalares.

